TOP
|
特許
|
意匠
|
商標
特許ウォッチ
Twitter
他の特許を見る
10個以上の画像は省略されています。
公開番号
2025146874
公報種別
公開特許公報(A)
公開日
2025-10-03
出願番号
2025122649,2021105488
出願日
2025-07-22,2021-06-25
発明の名称
画像読取装置及び画像形成装置
出願人
キヤノン株式会社
代理人
弁理士法人近島国際特許事務所
主分類
H04N
1/00 20060101AFI20250926BHJP(電気通信技術)
要約
【課題】読取ユニットを移動させた時に読取ユニットが受ける衝撃を低減する。
【解決手段】画像読取装置は、第1の回動軸を中心に回動可能に設けられ、画像読取装置の上面を構成するカバーユニットと、シートを搬送するシート搬送手段と、シート搬送手段によって搬送されるシートを案内する搬送ガイドであって、第1の回動軸とは異なる第2の回動軸を中心に回動可能に設けられた搬送ガイドと、透明部材と、シート搬送手段によって搬送されるシートの画像を透明部材を介して読み取る読取部と、を有する読取ユニットであって、第1の回動軸及び第2の回動軸とは異なる第3の回動軸を中心に回動可能に設けられた読取ユニットと、を備え、カバーユニットと、搬送ガイドと、読取ユニットと、が回動することで透明部材が画像読取装置の外部に露出する。
【選択図】図6
特許請求の範囲
【請求項1】
シートから画像情報を読み取る画像読取装置であって、
第1の回動軸を中心に回動可能に設けられ、前記画像読取装置の上面を構成するカバーユニットと、
前記シートをシート搬送路に沿って搬送するシート搬送手段と、
前記シート搬送手段によって搬送されるシートを案内する搬送ガイドであって、前記第1の回動軸とは異なる第2の回動軸を中心に回動可能に設けられた搬送ガイドと、
透明部材と、前記シート搬送手段によって搬送されるシートの画像を前記透明部材を介して読み取る読取部と、を有する読取ユニットであって、前記第1の回動軸及び前記第2の回動軸とは異なる第3の回動軸を中心に回動可能に設けられた読取ユニットと、
前記搬送ガイドの回動に連動して、前記読取ユニットを回動させる連動機構と、
を備え、
前記カバーユニットは、前記搬送ガイドと共に前記シート搬送路の一部を形成する閉位置と、前記シート搬送路の一部を開放する開位置との間で回動可能であり、
前記カバーユニットが前記開位置に位置する状態において、前記連動機構により前記搬送ガイドに連動して前記読取ユニットが回動することで前記透明部材が前記画像読取装置の外部に露出することを特徴とする画像読取装置。
続きを表示(約 2,300 文字)
【請求項2】
前記連動機構は、前記読取ユニットに当接することで、前記読取ユニットを、前記透明部材が前記シート搬送路に対向する第1位置から前記透明部材が前記画像読取装置の外部に露出する第2位置へ移動させるアーム部材を有することを特徴とする請求項1に記載の画像読取装置。
【請求項3】
前記搬送ガイドは、上方から見て前記読取ユニットを覆う第3位置と、上方から見て前記読取ユニットを露出させる第4位置との間で回動可能であり、
前記アーム部材は、前記搬送ガイドが前記第3位置から前記第4位置に回動される動作に連動して、前記アーム部材を前記第1位置から前記第2位置へ移動させるように構成されていることを特徴とする請求項2に記載の画像読取装置。
【請求項4】
シートから画像情報を読み取る画像読取装置であって、
第1の回動軸を中心に回動可能に設けられ、前記画像読取装置の上面を構成するカバーユニットと、
前記シートをシート搬送路に沿って搬送するシート搬送手段と、
前記シート搬送手段によって搬送されるシートを案内する搬送ガイドであって、前記第1の回動軸とは異なる第2の回動軸を中心に回動可能に設けられた搬送ガイドと、
透明部材と、前記シート搬送手段によって搬送されるシートの画像を前記透明部材を介して読み取る読取部と、を有する読取ユニットであって、前記第1の回動軸及び前記第2の回動軸とは異なる第3の回動軸を中心に回動可能に設けられた読取ユニットと、
前記読取ユニットに当接することで、前記読取ユニットを、前記透明部材が前記シート搬送路に対向する第1位置から前記透明部材が前記画像読取装置の外部に露出する第2位置へ移動させるアーム部材と、
を備え、
前記カバーユニットは、前記搬送ガイドと共に前記シート搬送路の一部を形成する閉位置と、前記シート搬送路の一部を開放する開位置との間で回動可能であり、
前記カバーユニットが前記開位置に位置する状態において、前記搬送ガイドと前記読取ユニットとが回動することで前記透明部材が前記画像読取装置の外部に露出し、
前記搬送ガイドは、上方から見て前記読取ユニットを覆う第3位置と、上方から見て前記読取ユニットを露出させる第4位置との間で回動可能であり、 前記アーム部材は、前記搬送ガイドが前記第3位置から前記第4位置に回動した状態において、前記アーム部材により前記読取ユニットを前記第1位置から前記第2位置へ移動させる操作を行うための操作部を有することを特徴とする画像読取装置。
【請求項5】
前記アーム部材は、前記第2の回動軸を中心にして、前記読取ユニットが前記第3の回動軸を中心に前記第1位置から前記第2位置へ向かうときの第1回動方向とは反対の第2回動方向に回動し、前記読取ユニットに対する当接位置を変化させながら前記読取ユニットを前記第1位置から前記第2位置まで回動させるように構成されていることを特徴とする請求項2乃至4のいずれか1項に記載の画像読取装置。
【請求項6】
前記読取ユニットは、前記透明部材が配置される第1の面と、シート幅方向に見て前記第1の面と交差する方向に延びる第2の面と、を有し、
前記アーム部材は、前記第1の面を押圧するための第1の凸部と、前記第2の面に当接する第2の凸部と、を有し、
前記アーム部材が前記第2回動方向に回動する場合に、前記第1の凸部が前記第1の面に当接した後に前記第2の凸部が前記第2の面に当接することを特徴とする請求項5に記載の画像読取装置。
【請求項7】
前記アーム部材を第1のアーム部材として、
前記読取ユニットに当接することで、前記読取ユニットを、前記第1位置から前記第2位置へ移動させるための第2のアーム部材を更に有し、
前記読取ユニットは、前記透明部材が配置される第1の面と、シート幅方向に見て前記第1の面と交差する方向に延びる第2の面と、を有し、
前記第1のアーム部材及び前記第2のアーム部材が前記第2回動方向に回動する場合に、前記第1のアーム部材が前記第1の面に当接した後に前記第2のアーム部材が前記第2の面に当接することを特徴とする請求項5に記載の画像読取装置。
【請求項8】
前記読取ユニットは、シート幅方向に見て湾曲した曲面を有し、
前記アーム部材が前記第2回動方向に回動する場合に、前記アーム部材と前記曲面との当接位置が連続的に変化することを特徴とする請求項5に記載の画像読取装置。
【請求項9】
前記透明部材に対向する対向部材と、
前記透明部材に取付けられ、前記対向部材に当接することで前記透明部材と前記対向部材との間にシートが通過する隙間を形成するギャップ形成部材と、
を更に有し、
前記アーム部材は、前記ギャップ形成部材に当接することを特徴とする請求項2乃至8のいずれか1項に記載の画像読取装置。
【請求項10】
前記読取ユニットが前記第1位置に位置する状態で、前記透明部材は鉛直方向に関して下側を向いており、
前記読取ユニットが前記第2位置に位置する状態で、前記透明部材は前記鉛直方向に関して上側を向いていることを特徴とする請求項2乃至9のいずれか1項に記載の画像読取装置。
(【請求項11】以降は省略されています)
発明の詳細な説明
【技術分野】
【0001】
本開示は、シートから画像情報を読み取る画像読取装置、及び、記録材に画像を形成する画像形成装置に関する。
続きを表示(約 3,400 文字)
【背景技術】
【0002】
従来、複写機等に搭載される画像読取装置において、原稿を1枚ずつ分離しながら搬送する自動原稿搬送装置(以下、ADFとする)の内部に読取ユニットを配置したものが知られている。ADF内部に読取ユニットを配置する場合、原稿に対向するガラス面の清掃や原稿詰まりの解消等のために、読取ユニットをガラス面が露出するように移動可能に構成する場合がある。特許文献1には、ADF内部に配置された読取ユニットを、原稿の搬送路を形成する搬送ガイドに支持させ、搬送ガイドを回動させると読取ユニットが搬送ガイドと一体に回動する構成が記載されている。
【先行技術文献】
【特許文献】
【0003】
特開2005-194011号公報
【発明の概要】
【発明が解決しようとする課題】
【0004】
しかしながら、上記文献に記載の構成では読取ユニットが搬送ガイドと一体に回動するため、搬送ガイドが他の部材に突き当たった時に、読取ユニット及び搬送ガイドを含む回動可能なユニットの全体の重量に応じた衝撃が発生する。読取ユニットは、内部に電子回路や光学素子を備えた精密な装置であり、大きな衝撃が加わると内部の部品が破損したり位置ずれしたりする可能性があるため、読取ユニットが受ける衝撃を低減することが望まれていた。
【0005】
そこで、本発明は、読取ユニットを移動させた時に読取ユニットが受ける衝撃を低減可能な画像読取装置及びこれを備えた画像形成装置を提供することを目的とする。
【課題を解決するための手段】
【0006】
本開示に係る発明の一態様は、シートから画像情報を読み取る画像読取装置であって、第1の回動軸を中心に回動可能に設けられ、前記画像読取装置の上面を構成するカバーユニットと、前記シートをシート搬送路に沿って搬送するシート搬送手段と、前記シート搬送手段によって搬送されるシートを案内する搬送ガイドであって、前記第1の回動軸とは異なる第2の回動軸を中心に回動可能に設けられた搬送ガイドと、透明部材と、前記シート搬送手段によって搬送されるシートの画像を前記透明部材を介して読み取る読取部と、を有する読取ユニットであって、前記第1の回動軸及び前記第2の回動軸とは異なる第3の回動軸を中心に回動可能に設けられた読取ユニットと、前記搬送ガイドの回動に連動して、前記読取ユニットを回動させる連動機構と、を備え、前記カバーユニットは、前記搬送ガイドと共に前記シート搬送路の一部を形成する閉位置と、前記シート搬送路の一部を開放する開位置との間で回動可能であり、前記カバーユニットが前記開位置に位置する状態において、前記連動機構により前記搬送ガイドに連動して前記読取ユニットが回動することで前記透明部材が前記画像読取装置の外部に露出することを特徴とする画像読取装置である。
本開示に係る発明の他の一態様は、シートから画像情報を読み取る画像読取装置であって、第1の回動軸を中心に回動可能に設けられ、前記画像読取装置の上面を構成するカバーユニットと、前記シートをシート搬送路に沿って搬送するシート搬送手段と、前記シート搬送手段によって搬送されるシートを案内する搬送ガイドであって、前記第1の回動軸とは異なる第2の回動軸を中心に回動可能に設けられた搬送ガイドと、透明部材と、前記シート搬送手段によって搬送されるシートの画像を前記透明部材を介して読み取る読取部と、を有する読取ユニットであって、前記第1の回動軸及び前記第2の回動軸とは異なる第3の回動軸を中心に回動可能に設けられた読取ユニットと、前記読取ユニットに当接することで、前記読取ユニットを、前記透明部材が前記シート搬送路に対向する第1位置から前記透明部材が前記画像読取装置の外部に露出する第2位置へ移動させるアーム部材と、を備え、前記カバーユニットは、前記搬送ガイドと共に前記シート搬送路の一部を形成する閉位置と、前記シート搬送路の一部を開放する開位置との間で回動可能であり、前記カバーユニットが前記開位置に位置する状態において、前記搬送ガイドと前記読取ユニットとが回動することで前記透明部材が前記画像読取装置の外部に露出し、前記搬送ガイドは、上方から見て前記読取ユニットを覆う第3位置と、上方から見て前記読取ユニットを露出させる第4位置との間で回動可能であり、前記アーム部材は、前記搬送ガイドが前記第3位置から前記第4位置に回動した状態において、前記アーム部材により前記読取ユニットを前記第1位置から前記第2位置へ移動させる操作を行うための操作部を有することを特徴とする画像読取装置である。
本開示に係る発明の他の一態様は、シートから画像情報を読み取る画像読取装置であって、装置本体と、シートをシート搬送路に沿って搬送するシート搬送手段と、前記装置本体に対して回動可能に設けられ、前記画像読取装置の上面を構成するカバーユニットと、前記カバーユニットと共に前記シート搬送路を形成し、前記シート搬送手段によって搬送されるシートを案内する搬送ガイドであって、前記装置本体に対して回動可能に設けられた搬送ガイドと、透明部材と、前記シート搬送手段によって搬送されるシートの画像を前記透明部材を介して読み取る読取部と、を有する読取ユニットであって、前記装置本体に対して回動可能に設けられた読取ユニットと、前記搬送ガイドの回動に連動して、前記読取ユニットを回動させる連動機構とを備えることを特徴とする画像読取装置である。
【発明の効果】
【0007】
本開示によれば、読取ユニットを移動させた時に読取ユニットが受ける衝撃を低減することができる。
【図面の簡単な説明】
【0008】
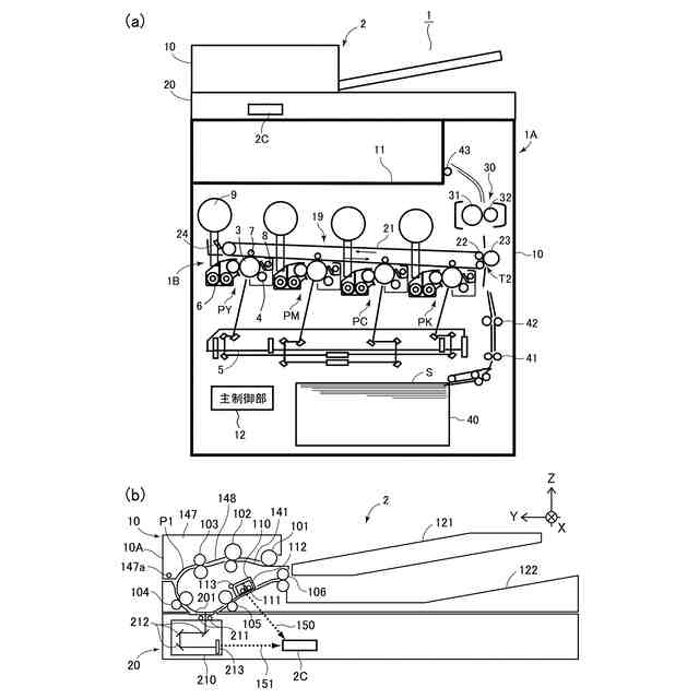
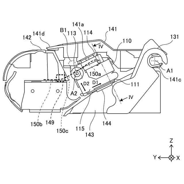
実施形態に係る画像形成装置の概略図(a)及び原稿読取装置の概略図(b)。
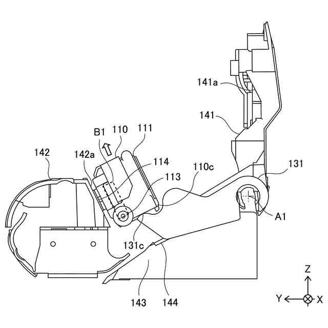
実施例1に係るADFの一部を示す図。
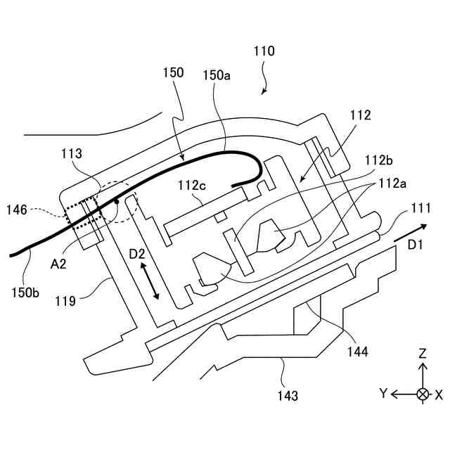
実施例1に係る読取ユニット及びその周辺の断面図。
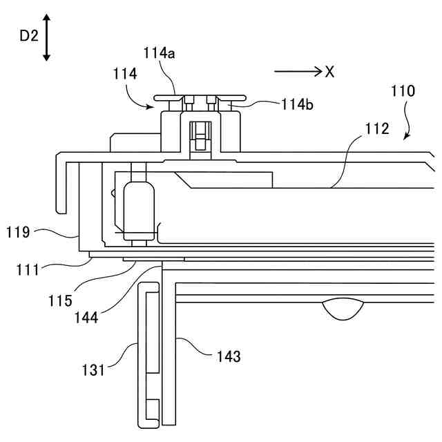
図2に示す切断位置における読取ユニット及びその周辺の断面図。
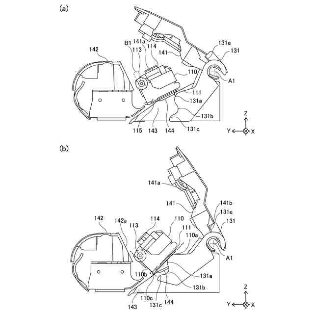
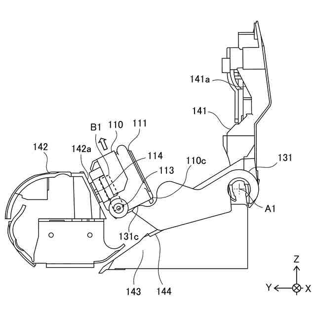
実施例1に係る回動ガイド及び読取ユニットの移動について説明するための図(a、b)。
実施例1に係る読取ユニットがメンテナンス位置に移動した状態を示す図。
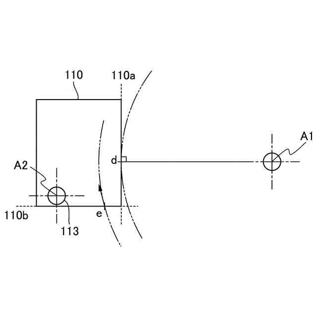
アームから読取ユニットに作用する力について説明するための模式図。
アームが読取ユニットの1つの面にのみ当接する場合の最大回動角について説明するための模式図。
変形例に係るADFの一部を示す図。
実施例2に係るADFの一部を示す図。
実施例2に係るADFの一部を示す図。
実施例2に係るADFの一部を示す図。
実施例3に係るADFの一部を示す図。
実施例3に係るADFの一部を示す図。
実施例4に係るADFの一部を示す図。
変形例に係るADFの一部を示す図。
実施例1における読取ユニットに接続された電線を示す図(a~c)。
実施例5に係るADFの一部を示す図。
実施例5に係るADFの一部を示す図。
実施例6に係るADFの一部を示す図。
実施例6に係るADFの一部を示す図。
【発明を実施するための形態】
【0009】
以下、本開示に係る実施形態について、図面を参照しながら説明する。
【0010】
[画像形成装置]
まず、本実施形態に係る画像形成装置1の概略構成について、図1(a)を用いて説明する。本実施形態の画像形成装置1は、4つの画像形成部PY、PM、PC、PKを含む画像形成機構1Bを画像形成手段として備えた、カラー電子写真装置である。画像形成装置1は、装置本体1Aの上部に設けられた原稿読取装置2又は外部機器から受信した画像情報に基づいて、シートSに画像を形成する。記録材であるシートSとしては、普通紙及び厚紙等の紙、プラスチックフィルム、布、コート紙のような表面処理が施されたシート材、封筒やインデックス紙等の特殊形状のシート材等、サイズ及び材質の異なる多様なシート材を使用可能である。
(【0011】以降は省略されています)
この特許をJ-PlatPat(特許庁公式サイト)で参照する
関連特許
キヤノン株式会社
トナー
今日
キヤノン株式会社
撮像装置
8日前
キヤノン株式会社
収容装置
8日前
キヤノン株式会社
発光装置
7日前
キヤノン株式会社
撮像装置
今日
キヤノン株式会社
電子機器
8日前
キヤノン株式会社
電子機器
8日前
キヤノン株式会社
記録装置
今日
キヤノン株式会社
電子機器
4日前
キヤノン株式会社
定着装置
14日前
キヤノン株式会社
表示装置
7日前
キヤノン株式会社
電子機器
2日前
キヤノン株式会社
定着装置
8日前
キヤノン株式会社
半導体装置
2日前
キヤノン株式会社
現像剤容器
1日前
キヤノン株式会社
画像形成装置
4日前
キヤノン株式会社
画像形成装置
14日前
キヤノン株式会社
画像処理装置
1日前
キヤノン株式会社
画像表示装置
今日
キヤノン株式会社
画像形成装置
8日前
キヤノン株式会社
画像形成装置
8日前
キヤノン株式会社
画像形成装置
8日前
キヤノン株式会社
映像表示装置
14日前
キヤノン株式会社
画像形成装置
1日前
キヤノン株式会社
画像形成装置
1日前
キヤノン株式会社
画像形成装置
1日前
キヤノン株式会社
画像形成装置
7日前
キヤノン株式会社
画像形成装置
2日前
キヤノン株式会社
吐出素子基板
今日
キヤノン株式会社
画像形成装置
4日前
キヤノン株式会社
画像形成装置
4日前
キヤノン株式会社
画像形成装置
4日前
キヤノン株式会社
表示システム
1日前
キヤノン株式会社
画像形成装置
4日前
キヤノン株式会社
有機発光素子
14日前
キヤノン株式会社
画像形成装置
4日前
続きを見る
他の特許を見る