TOP
|
特許
|
意匠
|
商標
特許ウォッチ
Twitter
他の特許を見る
公開番号
2025139887
公報種別
公開特許公報(A)
公開日
2025-09-29
出願番号
2024038969
出願日
2024-03-13
発明の名称
画像形成装置
出願人
キヤノン株式会社
代理人
個人
,
個人
主分類
G03G
21/14 20060101AFI20250919BHJP(写真;映画;光波以外の波を使用する類似技術;電子写真;ホログラフイ)
要約
【課題】新品状態のプロセスカートリッジを印刷可能状態にするための初期回転におけるクリーニング不良の発生を防ぐこと。
【解決手段】新品状態の感光ドラム1を印刷可能な状態に移行させるための初期動作と、転写材Pにトナー像を形成するための画像形成動作と、を実行する制御部100を備え、制御部100は、初期動作において現像装置3から感光ドラム1に現像領域31においてトナーを供給する〔2〕トナー供給期間の直前までの時間T11で、転写ローラ4に画像形成動作時とは異なる定電圧(-150V)((v)転写電圧の実施例1)を印加するように転写電圧電源20を制御し、時間T11において転写ローラ4に印加する定電圧を、トナーの正規の帯電極性、かつ、感光ドラム1と転写ローラ4との間で放電しない電圧値となるように転写電圧電源20を制御する。
【選択図】図4
特許請求の範囲
【請求項1】
回転可能な像担持体と、
前記像担持体と当接する現像領域において前記像担持体の表面にトナーを供給してトナー像を形成する現像部材と、
前記像担持体から転写材に前記トナー像を転写させるための転写部材と、
前記転写部材に電圧を印加するための印加手段と、
前記トナー像を転写材に転写させたあとに前記像担持体に残留したトナーをクリーニングするためのクリーニングブレードと、
新品状態の前記像担持体を印刷可能な状態に移行させるための初期動作と、前記転写材に前記トナー像を形成するための画像形成動作と、を実行する制御部と、
を備え、
前記制御部は、前記初期動作において前記現像部材から前記像担持体に前記現像領域においてトナーを供給する第1期間の直前までの第2期間で、前記転写部材に前記画像形成動作時とは異なる定電圧を印加するように前記印加手段を制御し、前記第2期間において前記転写部材に印加する前記定電圧を、トナーの正規の帯電極性、かつ、前記像担持体と前記転写部材との間で放電しない電圧値となるように前記印加手段を制御することを特徴とする画像形成装置。
続きを表示(約 1,400 文字)
【請求項2】
前記制御部は、トナーの正規の帯電極性がマイナスのとき、前記第2期間において前記転写部材に印加する前記定電圧を、-550V以上0V未満となるように前記印加手段を制御することを特徴とする請求項1に記載の画像形成装置。
【請求項3】
前記制御部は、前記第2期間において前記転写部材に印加する前記定電圧を、-200V以上-100V以下となるように前記印加手段を制御することを特徴とする請求項2に記載の画像形成装置。
【請求項4】
前記制御部は、前記第1期間後の第3期間において、前記転写部材に印加する定電圧を、前記像担持体と前記転写部材との間で放電しない電圧値となるように前記印加手段を制御することを特徴とする請求項1に記載の画像形成装置。
【請求項5】
前記制御部は、前記第3期間において、前記転写部材に印加する定電圧を、-550V以上+550V以下となるように前記印加手段を制御することを特徴とする請求項4に記載の画像形成装置。
【請求項6】
前記印加手段を第1印加手段としたとき、
前記像担持体の表面を一様に帯電する帯電部材と、
前記帯電部材に電圧を印加する第2印加手段と、
を備え、
前記制御部は、前記第3期間において、前記第2印加手段により前記帯電部材に印加する電圧と同じ電圧を前記転写部材に印加し、前記第1印加手段により前記第2印加手段が印加する電圧の極性とは逆極性の電圧を前記転写部材に印加し、前記転写部材に印加される電圧が前記定電圧となるように、前記第1印加手段及び前記第2印加手段を制御することを特徴とする請求項4に記載の画像形成装置。
【請求項7】
前記制御部は、前記第1期間で、トナーを供給する区間とトナーを供給しない区間とが複数あるように制御することを特徴とする請求項1に記載の画像形成装置。
【請求項8】
前記印加手段を第1印加手段としたとき、
前記像担持体の表面を一様に帯電する帯電部材と、
前記帯電部材に電圧を印加する第2印加手段と、
を備え、
前記制御部は、前記第2期間において、前記第2印加手段により前記帯電部材に印加する電圧と同じ電圧を前記転写部材に印加し、前記第1印加手段により前記第2印加手段が印加する電圧の極性とは逆極性の電圧を前記転写部材に印加し、前記転写部材に印加される電圧が前記定電圧となるように、前記第1印加手段及び前記第2印加手段を制御することを特徴とする請求項1に記載の画像形成装置。
【請求項9】
前記画像形成装置は、前記像担持体の表面の削れ率が第1値である第1像担持体と、前記第1像担持体よりも表面が柔らかく前記削れ率が前記第1値よりも大きい第2値である第2像担持体と、を装着可能であり、
前記第2像担持体が装着されたときに前記転写部材に印加される前記定電圧が含まれる電圧の範囲は、前記第1像担持体が装着されたときに前記転写部材に印加される前記定電圧が含まれる電圧の範囲よりも狭いことを特徴とする請求項1に記載の画像形成装置。
【請求項10】
前記削れ率に関する情報を記憶した記憶部と、
前記記憶部と、前記像担持体と、を有するカートリッジと、
を備えることを特徴とする請求項9に記載の画像形成装置。
(【請求項11】以降は省略されています)
発明の詳細な説明
【技術分野】
【0001】
本発明は、画像形成装置に関する。
続きを表示(約 1,800 文字)
【背景技術】
【0002】
従来、電子写真方式を用いた画像形成装置は、感光ドラムの表面を帯電部材により一様に帯電し、帯電された感光ドラムの表面を画像情報に従って露光して、感光ドラム上に静電潜像を形成する。また、感光ドラム上の静電潜像を現像装置によりトナーを用いて現像することで感光ドラム上にトナー像を形成し、転写部材により、紙などの記録材に転写する。また、転写後に感光ドラム上に残ったトナーは、クリーニングブレードによって感光ドラム上から除去して回収する。この画像形成装置では、消耗品である感光ドラム、帯電部材、現像装置、及び、クリーニングブレード等を一体化して、画像形成装置と着脱自在なプロセスカートリッジにして、メンテナンスを容易にしている。
【0003】
ところで、新品状態のプロセスカートリッジを画像形成装置に装着した場合、印刷可能な状態に移行させる初期動作の実行が必要となる。この初期動作では、主に現像装置からクリーニングブレードにトナーを供給するトナー供給動作が行われている。こうして、トナーに外添されている微粒子を感光ドラムとクリーニングブレードとの間に送ることで、感光ドラムとの間で潤滑性を持たせ、クリーニングブレードがめくれることによる破損を防いでいる。
【先行技術文献】
【特許文献】
【0004】
特開2010-038973号公報
【発明の概要】
【発明が解決しようとする課題】
【0005】
しかしながら、初期動作におけるトナー供給動作を行ったときに、トナーがクリーニングブレードをすり抜けて帯電部材を汚してしまう、いわゆるクリーニング不良が発生する場合がある。通常、クリーニングブレードの先端部分には阻止層と呼ばれる外添剤微粒子のバリア層があることでクリーニング性能を保っている。しかし、新品状態のプロセスカートリッジのクリーニングブレードの先端部分には、阻止層がまだ形成されていないため、クリーニング不良が発生しやすい。
【0006】
本発明は、このような状況のもとでなされたもので、新品状態のプロセスカートリッジを印刷可能状態にするための初期回転におけるクリーニング不良の発生を防ぐことを目的とする。
【課題を解決するための手段】
【0007】
上述した課題を解決するために、本発明は、以下の構成を備える。
【0008】
(1)回転可能な像担持体と、前記像担持体と当接する現像領域において前記像担持体の表面にトナーを供給してトナー像を形成する現像部材と、前記像担持体から転写材に前記トナー像を転写させるための転写部材と、前記転写部材に電圧を印加するための印加手段と、前記トナー像を転写材に転写させたあとに前記像担持体に残留したトナーをクリーニングするためのクリーニングブレードと、新品状態の前記像担持体を印刷可能な状態に移行させるための初期動作と、前記転写材に前記トナー像を形成するための画像形成動作と、を実行する制御部と、を備え、前記制御部は、前記初期動作において前記現像部材から前記像担持体に前記現像領域においてトナーを供給する第1期間の直前までの第2期間で、前記転写部材に前記画像形成動作時とは異なる定電圧を印加するように前記印加手段を制御し、前記第2期間において前記転写部材に印加する前記定電圧を、トナーの正規の帯電極性、かつ、前記像担持体と前記転写部材との間で放電しない電圧値となるように前記印加手段を制御することを特徴とする画像形成装置。
【発明の効果】
【0009】
本発明によれば、新品状態のプロセスカートリッジを印刷可能状態にするための初期回転におけるクリーニング不良の発生を防ぐことができる。
【図面の簡単な説明】
【0010】
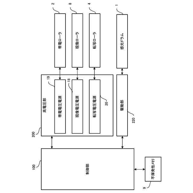
実施例1~3の画像形成装置の概略構成図
実施例1~3の画像形成装置のブロック図
実施例1~3のクリーニングブレード先端のクリーニング状態を表す図
実施例1の初期動作のシーケンス図
実施例2の初期動作のシーケンス図
実施例3の初期動作のシーケンス図
【発明を実施するための形態】
【実施例】
(【0011】以降は省略されています)
この特許をJ-PlatPat(特許庁公式サイト)で参照する
関連特許
キヤノン株式会社
トナー
17日前
キヤノン株式会社
トナー
12日前
キヤノン株式会社
トナー
12日前
キヤノン株式会社
トナー
12日前
キヤノン株式会社
測距装置
5日前
キヤノン株式会社
現像装置
10日前
キヤノン株式会社
現像容器
10日前
キヤノン株式会社
現像装置
10日前
キヤノン株式会社
現像容器
10日前
キヤノン株式会社
撮影装置
10日前
キヤノン株式会社
記録装置
10日前
キヤノン株式会社
記録装置
17日前
キヤノン株式会社
定着装置
11日前
キヤノン株式会社
電子機器
19日前
キヤノン株式会社
撮像装置
13日前
キヤノン株式会社
現像装置
3日前
キヤノン株式会社
撮像装置
17日前
キヤノン株式会社
半導体装置
19日前
キヤノン株式会社
現像剤容器
18日前
キヤノン株式会社
モジュール
12日前
キヤノン株式会社
光学センサ
12日前
キヤノン株式会社
画像形成装置
10日前
キヤノン株式会社
画像形成装置
10日前
キヤノン株式会社
画像形成装置
18日前
キヤノン株式会社
画像形成装置
13日前
キヤノン株式会社
画像形成装置
13日前
キヤノン株式会社
画像形成装置
13日前
キヤノン株式会社
画像形成装置
17日前
キヤノン株式会社
画像処理装置
18日前
キヤノン株式会社
カートリッジ
10日前
キヤノン株式会社
画像形成装置
10日前
キヤノン株式会社
画像形成装置
6日前
キヤノン株式会社
表示システム
18日前
キヤノン株式会社
画像形成装置
6日前
キヤノン株式会社
画像形成装置
19日前
キヤノン株式会社
画像形成装置
10日前
続きを見る
他の特許を見る