TOP
|
特許
|
意匠
|
商標
特許ウォッチ
Twitter
他の特許を見る
10個以上の画像は省略されています。
公開番号
2025144348
公報種別
公開特許公報(A)
公開日
2025-10-02
出願番号
2024044087
出願日
2024-03-19
発明の名称
画像形成装置
出願人
キヤノン株式会社
代理人
弁理士法人近島国際特許事務所
主分類
G03G
15/20 20060101AFI20250925BHJP(写真;映画;光波以外の波を使用する類似技術;電子写真;ホログラフイ)
要約
【課題】停止状態のベルトに変形が生じ難い画像形成装置の提供。
【解決手段】定着ベルト301を停止した場合に、ステアリング機構を動作させて、ステアリングローラ308をホームポジションから所定角度以上に回動させる。ステアリングローラ308をホームポジションから回動させるため、ステアリングベース317が回動される。ステアリングベース317が所定角度以上に回動されると、ステアリングベース317のステアリングコロ315が、ステアリングステイ318の嵌合溝318bに嵌合する。ステアリングコロ315が嵌合溝318bに嵌合することでテンションばね314の圧縮量が減り、定着ベルト301に付加される張力が張られた状態のときよりも低下する。こうして、定着ベルト301が回転していない時のベルト張力を下げることができるので、定着ベルト301に圧縮残留ひずみが生じ難くなる。
【選択図】図7
特許請求の範囲
【請求項1】
画像形成装置において、
記録材にトナー像を形成する画像形成部と、
前記画像形成部によりトナー像が形成された記録材に熱と圧力を加えてトナー像を記録材に定着する定着装置と、
前記定着装置を制御する制御部と、を備え、
前記定着装置は、
記録材に熱を与える無端状のベルトと、
前記ベルトを張架する第1ローラと、
前記第1ローラと共に前記ベルトを張架する第2ローラと、
前記ベルトの外周面に当接し、トナー像が形成された記録材を前記ベルトと共に挟持搬送し、トナー像を前記記録材に定着させるニップ部を形成する加圧回転体と、
前記第2ローラを保持する保持部材と、
前記第2ローラの回転軸を軸支する軸受部と、
前記保持部材に設けられ、前記第2ローラを前記ベルトの内周面に向かって押し付けるように前記軸受部を付勢する付勢部材と、
前記保持部材を回動可能に支持する支持部材と、
前記保持部材を前記支持部材に対し所定範囲内の第1回動角で回動させることにより、前記第2ローラを前記第1ローラに対して傾動させ、回転中の前記ベルトを前記第2ローラの回転軸線方向に移動可能なステアリング部と、を有し、
前記支持部材は、回動する前記保持部材と当接する領域であって、前記保持部材が前記第1回動角で回動される際に、前記ベルトに対し第1張力を付与する第1領域と、前記保持部材が前記所定範囲よりも大きい第2回動角に回動された場合に、前記ベルトに対し前記第1張力よりも小さい第2張力を付与する第2領域とで、前記ベルトの付勢方向に段差を有し、
前記画像形成装置が電源オンから電源オフに遷移する場合、前記制御部は、前記ステアリング部により前記保持部材を前記第2回動角に回動させる、
ことを特徴とする画像形成装置。
続きを表示(約 470 文字)
【請求項2】
前記保持部材は、前記回転軸線方向の両端部に前記支持部材に当接するように突設された突設部を有し、
前記支持部材は、前記第2領域に前記突設部が嵌合する嵌合溝を有する、
ことを特徴とする請求項1に記載の画像形成装置。
【請求項3】
前記突設部は、前記支持部材に当接して回転する回転体である、
ことを特徴とする請求項2に記載の画像形成装置。
【請求項4】
前記付勢部材は、圧縮ばねである、
ことを特徴とする請求項1に記載の画像形成装置。
【請求項5】
前記制御部は、画像形成を待機している状態より消費電力の少ないスリープ時に、前記ステアリング部により前記保持部材を前記第2回動角に回動させる、
ことを特徴とする請求項1に記載の画像形成装置。
【請求項6】
前記定着装置は、記録材のジャムが生じたときに、前記ステアリング部により前記保持部材を前記第2回動角に回動させる、
ことを特徴とする請求項1に記載の画像形成装置。
発明の詳細な説明
【技術分野】
【0001】
本発明は、プリンタ、複写機、ファクシミリあるいは複合機などの画像形成装置に関する。
続きを表示(約 2,200 文字)
【背景技術】
【0002】
画像形成装置は、トナー像が形成された記録材に熱と圧力を加えることにより、記録材にトナー像を定着させる定着装置を備えている。定着装置の一例として、加熱したベルトを用いたベルト加熱方式の定着装置が提案されている(特許文献1)。ベルト加熱方式の場合、ベルトは一定の張力が付加されて張られた状態で加圧ローラにより加圧されている。そのため、停止状態にあるベルトは時間経過に伴い、記録材を挟持搬送して熱と圧力を加えるためのニップ部、あるいは張架ローラにより屈曲されている屈曲部などにおいて変形が生じ得る(圧縮残留ひずみなどと呼ばれる)。そうした変形がベルトに生じたまま回転させた場合には、ニップ部において記録材に対し均一に熱と圧力を加えることが難しくなるためトナー像の定着不良が生じたり、ベルトから騒音が生じたりする虞がある。
【0003】
そこで、従来では、停止状態のベルトを回転させるときに、ベルトを所定温度まで加熱して所定時間に亘って回転させることでベルトの変形を解消する制御を実行することが提案されている(特許文献2)。
【先行技術文献】
【特許文献】
【0004】
特開2021-140135号公報
特開2018-101086号公報
【発明の概要】
【発明が解決しようとする課題】
【0005】
しかしながら、上記のように停止状態でベルトに変形が生じてしまうと、ベルトの変形を解消するには時間がかかり、その間は画像形成できないので画像形成装置の運用効率が低下するという課題があった。
【0006】
本発明は上記課題に鑑みてなされ、停止状態でベルトに変形が生じ難い画像形成装置の提供を目的とする。
【課題を解決するための手段】
【0007】
本発明の一実施形態に係る画像形成装置は、画像形成装置において、記録材にトナー像を形成する画像形成部と、前記画像形成部によりトナー像が形成された記録材に熱と圧力を加えてトナー像を記録材に定着する定着装置と、前記定着装置を制御する制御部と、を備え、前記定着装置は、記録材に熱を与える無端状のベルトと、前記ベルトを張架する第1ローラと、前記第1ローラと共に前記ベルトを張架する第2ローラと、前記ベルトの外周面に当接し、トナー像が形成された記録材を前記ベルトと共に挟持搬送し、トナー像を前記記録材に定着させるニップ部を形成する加圧回転体と、前記第2ローラを保持する保持部材と、前記第2ローラの回転軸を軸支する軸受部と、前記保持部材に設けられ、前記第2ローラを前記ベルトの内周面に向かって押し付けるように前記軸受部を付勢する付勢部材と、前記保持部材を回動可能に支持する支持部材と、前記保持部材を前記支持部材に対し所定範囲内の第1回動角で回動させることにより、前記第2ローラを前記第1ローラに対して傾動させ、回転中の前記ベルトを前記第2ローラの回転軸線方向に移動可能なステアリング部と、を有し、前記支持部材は、回動する前記保持部材と当接する領域であって、前記保持部材が前記第1回動角で回動される際に、前記ベルトに対し第1張力を付与する第1領域と、前記保持部材が前記所定範囲よりも大きい第2回動角に回動された場合に、前記ベルトに対し前記第1張力よりも小さい第2張力を付与する第2領域とで、前記ベルトの付勢方向に段差を有し、前記画像形成装置が電源オンから電源オフに遷移する場合、前記制御部は、前記ステアリング部により前記保持部材を前記第2回動角に回動させる、ことを特徴とする。
【発明の効果】
【0008】
本発明によれば、停止状態でベルトに変形が生じ難い画像形成装置を提供できる。
【図面の簡単な説明】
【0009】
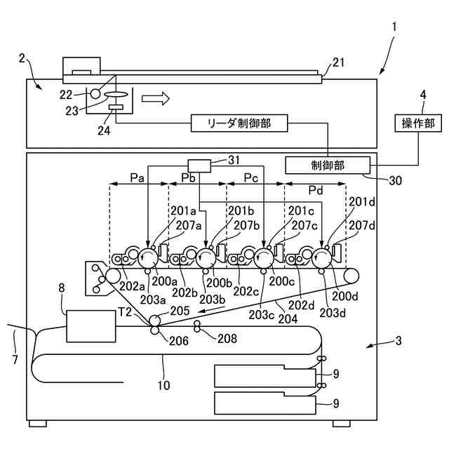
本実施形態の画像形成装置を示す概略図。
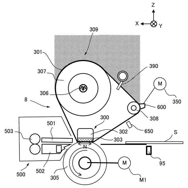
定着装置を示す概略図。
定着装置を示す斜視図。
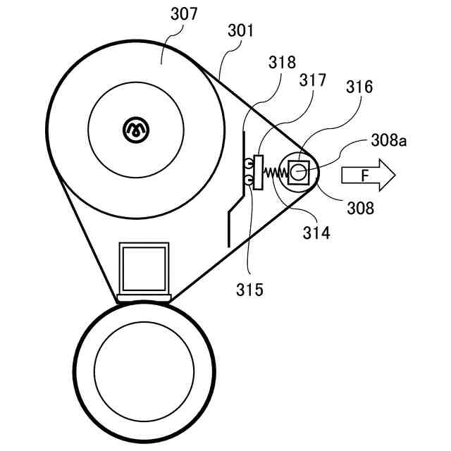
ステアリング機構を示す拡大図。
ステアリング機構を示す模式図。
ステアリングステイを示す概略図。
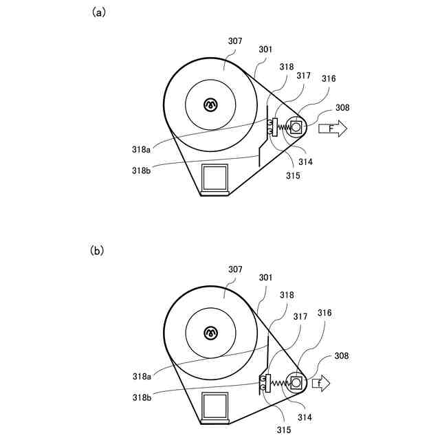
(a)ベルトが張られた状態を示す模式図、(b)ベルトが緩んだ状態を示す模式図。
ステアリング機構の制御系を示す制御ブロック図。
ベルト張力変更処理を示すフローチャート。
【発明を実施するための形態】
【0010】
<画像形成装置>
本実施形態について説明する。まず、本実施形態の画像形成装置の構成について、図1を用いて説明する。画像形成装置1は、イエロー、マゼンタ、シアン、ブラックの4色に対応して設けられた4つの画像形成部Pa、Pb、Pc、Pdを有する電子写真方式のフルカラープリンタである。本実施形態は、画像形成部Pa、Pb、Pc、Pdを中間転写ベルト204の回転方向に沿って配置したタンデム型の画像形成装置1である。画像形成装置1は、画像形成装置1の装置本体3に接続された原稿読取装置2又は装置本体3に対し通信可能に接続されたプリントサーバ等の外部ホスト機器からの画像信号に応じて、トナー像(画像)を記録材に形成する。記録材としては、用紙、プラスチックフィルム、布などのシート材が挙げられる。
(【0011】以降は省略されています)
この特許をJ-PlatPat(特許庁公式サイト)で参照する
関連特許
キヤノン株式会社
トナー
1日前
キヤノン株式会社
トナー
1日前
キヤノン株式会社
トナー
1か月前
キヤノン株式会社
トナー
6日前
キヤノン株式会社
トナー
1日前
キヤノン株式会社
撮像装置
14日前
キヤノン株式会社
撮像装置
21日前
キヤノン株式会社
記録装置
21日前
キヤノン株式会社
撮像装置
20日前
キヤノン株式会社
光学装置
1か月前
キヤノン株式会社
電子機器
1か月前
キヤノン株式会社
電子機器
1か月前
キヤノン株式会社
定着装置
20日前
キヤノン株式会社
電子機器
14日前
キヤノン株式会社
電子機器
14日前
キヤノン株式会社
記録装置
22日前
キヤノン株式会社
撮像装置
6日前
キヤノン株式会社
撮像装置
2日前
キヤノン株式会社
定着装置
14日前
キヤノン株式会社
収容装置
14日前
キヤノン株式会社
撮像装置
1か月前
キヤノン株式会社
表示装置
13日前
キヤノン株式会社
発光装置
13日前
キヤノン株式会社
現像装置
1か月前
キヤノン株式会社
電子機器
10日前
キヤノン株式会社
定着装置
29日前
キヤノン株式会社
定着装置
29日前
キヤノン株式会社
電子機器
22日前
キヤノン株式会社
記録装置
6日前
キヤノン株式会社
電子機器
29日前
キヤノン株式会社
電子機器
8日前
キヤノン株式会社
撮像装置
22日前
キヤノン株式会社
撮像装置
1か月前
キヤノン株式会社
電子機器
1か月前
キヤノン株式会社
定着装置
29日前
キヤノン株式会社
光学センサ
1日前
続きを見る
他の特許を見る