TOP
|
特許
|
意匠
|
商標
特許ウォッチ
Twitter
他の特許を見る
10個以上の画像は省略されています。
公開番号
2025139783
公報種別
公開特許公報(A)
公開日
2025-09-29
出願番号
2024038813
出願日
2024-03-13
発明の名称
画像形成装置
出願人
キヤノン株式会社
代理人
弁理士法人秀和特許事務所
主分類
G03G
21/16 20060101AFI20250919BHJP(写真;映画;光波以外の波を使用する類似技術;電子写真;ホログラフイ)
要約
【課題】簡易な構成により、トレイを支持することが可能な技術を提供する。
【解決手段】記録材に画像を形成する画像形成装置であって、装置本体と、装置本体に対して、装置本体の内側である内側位置と、装置本体の外側である外側位置と、に移動可能なユニットと、装置本体に対して、閉位置と、閉位置から退避した開位置に移動可能な開閉部材であって、閉位置にあるとき、ユニットが内側位置から外側位置へ向かう移動経路を遮る開閉部材と、転写ローラを有する転写ユニットと、を有し、外側位置にあるユニットは、転写ユニットに支持されることを特徴とする。
【選択図】図9
特許請求の範囲
【請求項1】
記録材に画像を形成する画像形成装置であって、
装置本体と、
前記装置本体に対して、前記装置本体の内側である内側位置と、前記装置本体の外側である外側位置と、に移動可能な被支持ユニットであって、一次転写ローラと、中間転写ベルトと、を含む被支持ユニットと、
前記装置本体に対して、閉位置と、前記閉位置から退避した開位置に移動可能な開閉部材であって、前記閉位置にあるとき、前記被支持ユニットが前記内側位置から前記外側位置へ向かう移動経路を遮る開閉部材と、
前記中間転写ベルトに当接する二次転写ローラを有する転写ユニットと、
を有し、
前記外側位置にある前記被支持ユニットは、前記転写ユニットに支持されることを特徴とする画像形成装置。
続きを表示(約 1,300 文字)
【請求項2】
前記転写ユニットは、前記装置本体と前記開閉部材のそれぞれに対して移動可能であることを特徴とする請求項1に記載の画像形成装置。
【請求項3】
前記閉位置を第1閉位置、前記開位置を第1開位置とし、
前記転写ユニットは、前記装置本体に対して、第2閉位置と、前記第2閉位置から退避した第2開位置に移動可能であり、前記第2閉位置にあるとき、前記開閉部材よりも内側において、前記移動経路を遮ることを特徴とする請求項2に記載の画像形成装置。
【請求項4】
前記第2開位置にある前記転写ユニットは、前記第1開位置にある前記開閉部材に支持されることを特徴とする請求項3に記載の画像形成装置。
【請求項5】
前記外側位置にある前記被支持ユニットは、前記第1開位置にある前記開閉部材にも支持されることを特徴とする請求項4に記載の画像形成装置。
【請求項6】
前記転写ユニットは、前記第2開位置にあるときに、前記外側位置にある前記被支持ユニットを支持する支持部を有し、
前記支持部は、前記転写ユニットが前記第2開位置にあるときに、前記二次転写ローラよりも高い位置で前記被支持ユニットと当接することを特徴とする請求項3に記載の画像形成装置。
【請求項7】
前記転写ユニットは、前記二次転写ローラを回転可能に支持する軸受けを有し、
前記支持部は、前記軸受けに設けられていることを特徴とする請求項6に記載の画像形成装置。
【請求項8】
前記開閉部材は、前記装置本体の外装の一部を構成する部材であり、
前記開閉部材が前記第1閉位置と前記第1開位置との間を移動する際には、前記転写ユニットも前記第2閉位置と前記第2開位置との間を移動するように構成されていることを特徴とする請求項3に記載の画像形成装置。
【請求項9】
前記被支持ユニットは、
前記装置本体に対して、前記装置本体の内側である第1内側位置と、前記装置本体の外側である第1外側位置と、に移動可能な第1ユニットと、
前記装置本体に対して、前記装置本体の内側である第2内側位置と、前記装置本体の外側である第2外側位置と、に移動可能な第2ユニットと、
を含み、
前記第1外側位置にある前記第1ユニットは、前記第2外側位置にある前記第2ユニットに支持され、
前記第2外側位置にある前記第2ユニットは、前記転写ユニットに支持されることを特徴とする請求項3~8のいずれか1項に記載の画像形成装置。
【請求項10】
前記第1ユニットは、
前記装置本体に対して前記第1内側位置と前記第1外側位置との間を移動可能なトレイと、
トナー像を担持するための感光体と、
前記感光体にトナー像を形成するトナー像形成部と、
少なくとも前記トナー像形成部を含み前記トレイに対して着脱可能なカートリッジと、
を有し、
前記第2ユニットは前記中間転写ベルトを含み、前記感光体から前記中間転写ベルトにトナー像が転写されることを特徴とする請求項9に記載の画像形成装置。
(【請求項11】以降は省略されています)
発明の詳細な説明
【技術分野】
【0001】
本発明は、記録材に画像を形成する画像形成装置に関する。
続きを表示(約 1,900 文字)
【背景技術】
【0002】
プリンタ、複写機、複合機等の画像形成装置には、装置本体の内部と外部の間を移動可能なトレイにカートリッジを取り外し可能に装着するものがある。そのような画像形成装置の中には、装置本体からトレイを引き出すための開口部を覆う開閉可能なドアを有するものがある(特許文献1)。
【0003】
特許文献1に示された例では、トレイが装置本体の外側に引き出された状態で、トレイやカートリッジの自重によってトレイの手前側が下方に撓んでドラムの表面が傷つくことを防ぐため、ドアと装置本体の内部部品を連結する連結アームによって支持している。
【先行技術文献】
【特許文献】
【0004】
特開2009-128506号公報
【発明の概要】
【発明が解決しようとする課題】
【0005】
しかしながら、特許文献1では、装置本体から引き出されたトレイおよびカートリッジの自重を連結アームで支持するために、トレイおよび連結アームの高い剛性が必要となる。トレイおよび連結アームの剛性を高めるために部品サイズを大きくすると製品の大型化につながることが懸念される。また、ユーザによるカートリッジ交換の頻度を低減すべく大容量のトナーを収容したカートリッジを使用する場合には、トレイおよび連結アームの剛性をさらに高める必要がある。
【0006】
本発明の目的は、簡易な構成により、トレイを支持することが可能な技術を提供することである。
【課題を解決するための手段】
【0007】
上述の目的を達成するため、本発明の画像形成装置は、
記録材に画像を形成する画像形成装置であって、
装置本体と、
前記装置本体に対して、前記装置本体の内側である内側位置と、前記装置本体の外側である外側位置と、に移動可能なユニットと、
前記装置本体に対して、閉位置と、前記閉位置から退避した開位置に移動可能な開閉部材であって、前記閉位置にあるとき、前記ユニットが前記内側位置から前記外側位置へ向かう移動経路を遮る開閉部材と、
転写ローラを有する転写ユニットと、
を有し、
前記外側位置にある前記ユニットは、前記転写ユニットに支持されることを特徴とする。
【発明の効果】
【0008】
本発明によれば、簡易な構成により、トレイを支持することができる。
【図面の簡単な説明】
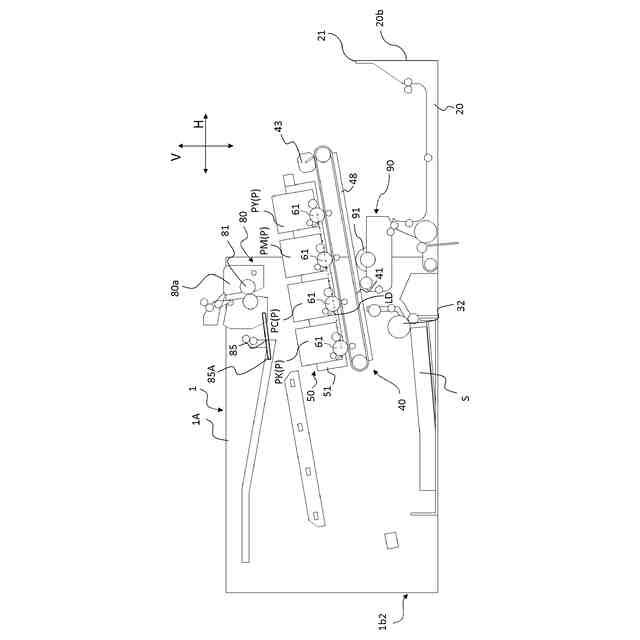
【0009】
実施例1のプリンタの全体構成の説明図
実施例1のドアおよび二次転写ユニットを開いた状態のプリンタを示す図
実施例1の定着装置が移動した状態のプリンタを示す図
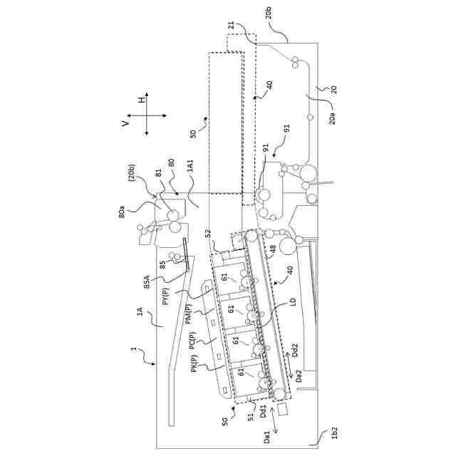
実施例1の一次転写ユニットとトレイユニットが引き出される様子を示す図
実施例1の一次転写ユニットとトレイユニットが引き出される様子を示す図
実施例1の一次転写ユニットとトレイユニットが引き出される様子を示す図
実施例1の一次転写ユニットとトレイユニットが引き出される様子を示す図
実施例1の一次転写ユニットとトレイユニットの移動の説明図
実施例1の一次転写ユニットとトレイユニットの移動の説明図
実施例1のトレイと一次転写ユニットを連結する連結部材の説明図
実施例1のトレイと一次転写ユニットを連結する連結部材の説明図
実施例1のトレイと一次転写ユニットを連結する連結部材の説明図
変形例のトレイユニットの説明図
実施例2のプリンタの全体構成の説明図
実施例2のドアと定着装置と一次転写ユニットの移動時の説明図
実施例2の二次転写ユニットの説明図
実施例2の二次転写ユニットによる支持・規制構成の説明図
【発明を実施するための形態】
【0010】
以下に図面を参照して、この発明を実施するための形態を、実施形態に基づいて例示的に詳しく説明する。ただし、この実施の形態に記載されている構成部品の寸法、材質、形状それらの相対配置などは、発明が適用される装置の構成や各種条件により適宜変更されるべきものである。すなわち、この発明の範囲を以下の実施の形態に限定する趣旨のものではない。また、以下の実施形態で説明されている特徴の全てが発明の解決手段に必須のものとは限らない。
(【0011】以降は省略されています)
この特許をJ-PlatPat(特許庁公式サイト)で参照する
関連特許
キヤノン株式会社
トナー
今日
キヤノン株式会社
電子機器
8日前
キヤノン株式会社
撮像装置
今日
キヤノン株式会社
定着装置
8日前
キヤノン株式会社
記録装置
今日
キヤノン株式会社
電子機器
2日前
キヤノン株式会社
記録装置
15日前
キヤノン株式会社
電子機器
4日前
キヤノン株式会社
収容装置
8日前
キヤノン株式会社
撮像装置
14日前
キヤノン株式会社
撮像装置
8日前
キヤノン株式会社
定着装置
14日前
キヤノン株式会社
撮像装置
15日前
キヤノン株式会社
発光装置
7日前
キヤノン株式会社
表示装置
7日前
キヤノン株式会社
電子機器
8日前
キヤノン株式会社
現像剤容器
1日前
キヤノン株式会社
半導体装置
2日前
キヤノン株式会社
画像形成装置
1日前
キヤノン株式会社
画像形成装置
4日前
キヤノン株式会社
画像形成装置
4日前
キヤノン株式会社
画像形成装置
1日前
キヤノン株式会社
画像形成装置
1日前
キヤノン株式会社
画像形成装置
1日前
キヤノン株式会社
画像形成装置
4日前
キヤノン株式会社
画像形成装置
4日前
キヤノン株式会社
画像形成装置
2日前
キヤノン株式会社
表示システム
1日前
キヤノン株式会社
画像形成装置
4日前
キヤノン株式会社
画像形成装置
4日前
キヤノン株式会社
画像処理装置
1日前
キヤノン株式会社
有機発光素子
14日前
キヤノン株式会社
映像表示装置
14日前
キヤノン株式会社
映像表示装置
4日前
キヤノン株式会社
画像形成装置
7日前
キヤノン株式会社
画像形成装置
14日前
続きを見る
他の特許を見る