TOP
|
特許
|
意匠
|
商標
特許ウォッチ
Twitter
他の特許を見る
10個以上の画像は省略されています。
公開番号
2025140179
公報種別
公開特許公報(A)
公開日
2025-09-29
出願番号
2024039387
出願日
2024-03-13
発明の名称
画像形成装置
出願人
キヤノン株式会社
代理人
弁理士法人近島国際特許事務所
主分類
G03G
15/00 20060101AFI20250919BHJP(写真;映画;光波以外の波を使用する類似技術;電子写真;ホログラフイ)
要約
【課題】コネクタの状態を検知可能な構成を備えた新たな形態の画像形成装置を提供する。
【解決手段】本開示の一態様に係る画像形成装置は、制御部と、前記制御部と電気的に接続された配線部材であって端部に第1コネクタが設けられた配線部材と、を有する装置本体と、前記第1コネクタに対して挿抜可能な第2コネクタを有するユニットと、を有する画像形成装置であって、前記配線部材は、前記制御部の指令に基づいて溶断されるヒューズを有する画像形成装置である。
【選択図】図2
特許請求の範囲
【請求項1】
制御部と、前記制御部と電気的に接続された配線部材であって端部に第1コネクタが設けられた配線部材と、を有する装置本体と、
前記第1コネクタに対して挿抜可能な第2コネクタを有するユニットと、
を有する画像形成装置であって、
前記配線部材は、前記制御部の指令に基づいて溶断されるヒューズを有する、
ことを特徴とする画像形成装置。
続きを表示(約 1,100 文字)
【請求項2】
前記第1コネクタの劣化に関する情報を記憶する記憶部を更に有し、
前記制御部は、前記情報に基づいて前記配線部材の交換を促す情報を報知する、
ことを特徴とする請求項1に記載の画像形成装置。
【請求項3】
前記第1コネクタの劣化に関する前記情報は、前記ヒューズが溶断された後で前記第1コネクタ及び前記第2コネクタが挿抜された回数である、
ことを特徴とする請求項2に記載の画像形成装置。
【請求項4】
前記制御部は、前記ヒューズが溶断された状態にあるか否かに応じた信号を出力する検知回路を有し、前記検知回路の信号に基づいて前記配線部材が新品であることを検知する、
ことを特徴とする請求項1に記載の画像形成装置。
【請求項5】
前記制御部は、前記配線部材が新品であることを検知した場合、前記第1コネクタと前記第2コネクタの挿抜が行われる前に前記ヒューズを溶断させる、
ことを特徴とする請求項4に記載の画像形成装置。
【請求項6】
前記制御部は、前記配線部材が新品であることを検知した場合、前記第1コネクタと前記第2コネクタが所定回数挿抜された後に前記ヒューズを溶断させる、
ことを特徴とする請求項4に記載の画像形成装置。
【請求項7】
前記配線部材は、前記制御部と電気的に接続される第3コネクタを有し、
前記ヒューズは、前記第1コネクタの端子と前記第3コネクタの端子とを接続する配線の途中に配置されている、
ことを特徴とする請求項1に記載の画像形成装置。
【請求項8】
前記配線部材は、前記制御部と電気的に接続される第3コネクタを有し、
前記ヒューズは、前記第3コネクタの端子同士を接続するループ状の配線の途中に配置されている、
ことを特徴とする請求項1に記載の画像形成装置。
【請求項9】
制御部と、前記制御部と電気的に接続された第1コネクタと、を有する装置本体と、
前記第1コネクタに対して挿抜可能な第2コネクタを有し、前記装置本体に対して着脱可能なユニットと、
を有する画像形成装置であって、
前記ユニットは、前記第2コネクタの劣化に関する情報を記憶する記憶部であって、前記第1コネクタ及び前記第2コネクタを介して前記制御部と電気的に接続されるように構成された記憶部を有する、
ことを特徴とする画像形成装置。
【請求項10】
前記第2コネクタの劣化に関する前記情報は、前記第2コネクタの挿抜回数である、
ことを特徴とする請求項9に記載の画像形成装置。
(【請求項11】以降は省略されています)
発明の詳細な説明
【技術分野】
【0001】
本発明は、記録材に画像を形成する画像形成装置に関する。
続きを表示(約 1,500 文字)
【背景技術】
【0002】
特許文献1には、帯電器のコネクタと画像形成装置の装置本体のコネクタを接続した際に、帯電器に取り付けられたヒューズが溶断されることで、新品の帯電器が装着されたことを装置本体のCPUが検知することが記載されている。特許文献2には、定着ユニットのコネクタと装置本体のコネクタが挿抜された回数と、挿抜時の状況(挿抜速度等)とに基づいて、コネクタの劣化量を判定することが記載されている。
【先行技術文献】
【特許文献】
【0003】
特開平4-131864号公報
特開2019-101276号公報
【発明の概要】
【発明が解決しようとする課題】
【0004】
装置本体側のコネクタと、装置本体に装着されるユニット側のコネクタとが接続及び接続解除される構成において、コネクタの状態(新品への交換や劣化の程度)を検知することが可能な新たな構成が求められていた。
【0005】
そこで、本発明は、コネクタの状態を検知可能な構成を備えた新たな形態の画像形成装置を提供することを目的とする。
【課題を解決するための手段】
【0006】
本発明の一態様は、制御部と、前記制御部と電気的に接続された配線部材であって端部に第1コネクタが設けられた配線部材と、を有する装置本体と、前記第1コネクタに対して挿抜可能な第2コネクタを有するユニットと、を有する画像形成装置であって、前記配線部材は、前記制御部の指令に基づいて溶断されるヒューズを有する、ことを特徴とする画像形成装置である。
【0007】
本発明の他の一態様は、制御部と、前記制御部と電気的に接続された第1コネクタと、を有する装置本体と、前記第1コネクタに対して挿抜可能な第2コネクタを有し、前記装置本体に対して着脱可能なユニットと、を有する画像形成装置であって、前記ユニットは、前記第2コネクタの劣化に関する情報を記憶する記憶部であって、前記第1コネクタ及び前記第2コネクタを介して前記制御部と電気的に接続されるように構成された記憶部を有する、ことを特徴とする画像形成装置である。
【発明の効果】
【0008】
本発明によれば、コネクタの状態を検知可能な構成を備えた新たな形態の画像形成装置を提供することができる。
【図面の簡単な説明】
【0009】
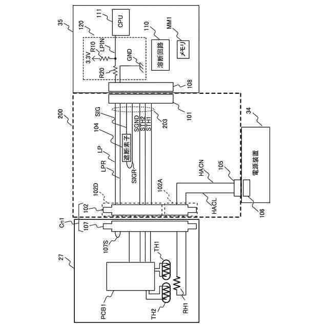
第1実施形態に係る画像形成装置の概略図。
第1実施形態に係る画像形成装置の回路図。
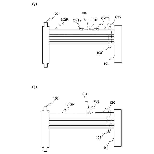
第1実施形態に係る遮断素子の説明図(a、b)。
第1実施形態に係る溶断回路の回路図。
第1実施形態に係る制御方法を示すフローチャート。
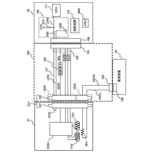
第2実施形態に係る画像形成装置の回路図。
第1実施形態に係るドロワコネクタの端子を示す斜視図(a、b)。
第1実施形態に係るドロワコネクタの端子を示す断面図(a~c)。
コネクタの挿抜回数に対するAC接点の抵抗の変化を示すグラフ。
第3実施形態に係る画像形成装置の回路図。
第3実施形態に係る制御方法を示すフローチャート。
第4実施形態に係る画像形成装置の概略図。
第4実施形態に係る画像形成装置の概略図。
第4実施形態に係る画像形成装置の説明図(a~c)。
【発明を実施するための形態】
【0010】
以下、本開示に係る実施形態について、図面を参照しながら説明する。
(【0011】以降は省略されています)
この特許をJ-PlatPat(特許庁公式サイト)で参照する
関連特許
キヤノン株式会社
トナー
今日
キヤノン株式会社
トナー
1か月前
キヤノン株式会社
トナー
今日
キヤノン株式会社
トナー
5日前
キヤノン株式会社
トナー
今日
キヤノン株式会社
発光装置
1か月前
キヤノン株式会社
電子機器
13日前
キヤノン株式会社
記録装置
20日前
キヤノン株式会社
撮像装置
19日前
キヤノン株式会社
定着装置
19日前
キヤノン株式会社
撮像装置
13日前
キヤノン株式会社
電子機器
13日前
キヤノン株式会社
定着装置
13日前
キヤノン株式会社
記録装置
21日前
キヤノン株式会社
収容装置
13日前
キヤノン株式会社
表示装置
12日前
キヤノン株式会社
発光装置
12日前
キヤノン株式会社
電子機器
9日前
キヤノン株式会社
電子機器
7日前
キヤノン株式会社
記録装置
5日前
キヤノン株式会社
撮像装置
5日前
キヤノン株式会社
撮像装置
20日前
キヤノン株式会社
電子機器
21日前
キヤノン株式会社
電子機器
1か月前
キヤノン株式会社
光学装置
1か月前
キヤノン株式会社
撮像装置
1か月前
キヤノン株式会社
撮像装置
1か月前
キヤノン株式会社
撮像装置
1か月前
キヤノン株式会社
光学機器
1か月前
キヤノン株式会社
電子機器
1か月前
キヤノン株式会社
現像装置
1か月前
キヤノン株式会社
電子機器
1か月前
キヤノン株式会社
撮像装置
21日前
キヤノン株式会社
撮像装置
1か月前
キヤノン株式会社
電子機器
1か月前
キヤノン株式会社
撮像装置
1か月前
続きを見る
他の特許を見る