TOP
|
特許
|
意匠
|
商標
特許ウォッチ
Twitter
他の特許を見る
10個以上の画像は省略されています。
公開番号
2025139781
公報種別
公開特許公報(A)
公開日
2025-09-29
出願番号
2024038810
出願日
2024-03-13
発明の名称
画像形成装置
出願人
キヤノン株式会社
代理人
個人
,
個人
,
個人
,
個人
,
個人
主分類
G03G
15/20 20060101AFI20250919BHJP(写真;映画;光波以外の波を使用する類似技術;電子写真;ホログラフイ)
要約
【課題】 ホットオフセットや定着不良による画像不良の発生を抑制する。
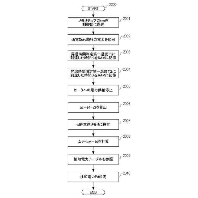
【解決手段】 定着フィルム(41)と、定着フィルム(41)の内部に設けられたヒータ(42)と、ヒータ(41)の温度を検知する温度検出部(Th)と、加圧ローラ(45)とを有する定着装置(40)と、温度検出部(Th)により検知された温度が目標温度となるようにヒータ(41)に供給する電力を制御する制御部(70)と、前記温度検出部の昇温速度を示した情報を記憶する記憶部(72)と、を有し、制御部(70)は、使用時において、加圧ローラ(45)の停止状態でヒータ(41)に既定の通電率で通電させて温度検出部の昇温速度を測定し、記憶部(72)に記憶した情報と比較することでヒータ(41)に通電することが可能な最大電力を推測し、供給電力を補正する。
【選択図】 図7
特許請求の範囲
【請求項1】
記録材に画像を形成する画像形成手段と、
回転する定着部材と、通電されることで前記定着部材を加熱する加熱部材と、前記加熱部材の温度を検知する温度検知部と、前記定着部材を挟んで前記加熱部材と対向するように配置され、前記定着部材とニップ部を形成する加圧ローラと、を有し、前記定着部材で前記画像を前記記録材に定着させる定着装置と、
を備えた画像形成装置であって、
前記温度検知部により検知された温度が目標温度となるように単位時間当たりに前記加熱部材に通電する時間の割合である通電率を制御する制御手段と、
前記温度検知部の昇温時間に関する情報を記憶する記憶部と、
を有し、
前記制御手段は、前記加圧ローラの回転を停止させた状態で前記加熱部材に既定の通電率で通電させて前記温度検知部の昇温時間を測定し、測定した前記昇温時間の情報と前記記憶部に記憶した前記情報とを比較することで前記加熱部材に供給可能な電力を推測し、推測した前記電力に基づき前記通電比率を補正することを特徴とする画像形成装置。
続きを表示(約 1,400 文字)
【請求項2】
前記記憶部に記憶された前記昇温時間に関する情報は、前記定着装置の製造時において前記温度検知部が第一温度を検知してから前記第一温度よりも高い第二温度を検知するまでに経過した時間を示す情報である、ことを特徴とする請求項1に記載の画像形成装置。
【請求項3】
前記制御手段は、前記温度検知部が第一温度を検知してから前記第一温度よりも高い第二温度を検知するまでに経過した時間を測定することを特徴とする請求項1に記載の画像形成装置。
【請求項4】
前記記憶部は、前記定着装置の表面の一部に配置されたメモリチップであることを特徴とする請求項1に記載の画像形成装置。
【請求項5】
前記制御手段は、前記画像形成装置の電源がオンされたとき、または省電力モードから復帰したときに、前記昇温時間の測定を実行することを特徴とする請求項1に記載の画像形成装置。
【請求項6】
前記制御手段は、前記温度検知部により検知された温度が目標温度になる前記加熱部材に供給する電力を制御する際に、基準となる最大電力を前記推測した最大電力で割った数値を通電率に掛けた通電率を用いることを特徴とする請求項1に記載の画像形成装置。
【請求項7】
前記定着部材は筒状のフィルムであり、
前記加熱部材は、通電により発熱する抵抗発熱体を有し、前記フィルムの内部空間に配置され、
前記加圧部材は、前記フィルムとの間に前記ニップ部を形成する加圧ローラであり、
前記定着装置は、前記ニップ部で記録材を挟持して搬送しながら、前記加熱部材からの熱伝導で加熱された前記フィルムによって画像を加熱することを特徴とする請求項1に記載の画像形成装置。
【請求項8】
記録材に画像を形成する画像形成手段と、
回転する定着部材と、通電されることで前記定着部材を加熱する加熱部材と、前記加熱部材の温度を検知する温度検知部と、前記定着部材を挟んで前記加熱部材と対向するように配置され、前記定着部材とニップ部を形成する加圧ローラと、を有し、前記定着部材で前記画像を前記記録材に定着させる定着装置と、
を備えた画像形成装置であって、
前記温度検知部により検知された温度が目標温度となるように単位時間当たりに前記加熱部材に通電する時間の割合である通電率を制御する制御手段と、
前記温度検知部の昇温量に関する情報を記憶する記憶部と、
を有し、
前記制御手段は、前記加圧ローラの回転を停止させた状態で前記加熱部材に既定の通電率で通電させて前記温度検知部の昇温量を測定し、測定した前記昇温量の情報と前記記憶部に記憶した前記情報とを比較することで前記加熱部材に供給可能な電力を推測し、推測した前記電力に基づき前記通電比率を補正することを特徴とする画像形成装置。
【請求項9】
前記記憶部に記憶された前記昇温量に関する情報は、前記定着装置の製造時において、前記加熱部材に通電を開始してから所定のタイミングまでの前記温度検知部における昇温量を示す情報である、ことを特徴とする請求項8に記載の画像形成装置。
【請求項10】
前記制御手段は、前記加熱部材に通電を開始してから所定のタイミングまでの前記温度検知部における昇温量を測定することを特徴とする請求項8に記載の画像形成装置。
(【請求項11】以降は省略されています)
発明の詳細な説明
【技術分野】
【0001】
本発明は、記録材に画像を形成する画像形成装置に関する。
続きを表示(約 2,100 文字)
【背景技術】
【0002】
画像形成装置は、転写紙、OHPシート等の記録材に画像形成部で転写されたトナー像を記録材に定着させる定着装置を有する。定着装置の構成として、クイックスタート性や省エネルギー性に優れたフィルム加熱方式が知られている。フィルム加熱方式の定着装置は、セラミックヒータと、セラミックヒータに加熱された定着フィルムに加圧ローラを圧接させ、未定着トナー像を担持する記録材を定着フィルムと加圧ローラとで挟持搬送しながらトナー像を加熱して記録材に定着させる。
【0003】
ヒータを設定された温度に制御するための方法として、ヒータへの通電時間を制御する方法が一般的に採用されている。通電時間を制御する方法としては、主に電源波形を周波数の整数倍ごとに通電・非通電を制御する波数制御と、電源波形の半周期ごとに通電する位相角を制御する位相制御の2種類が一般的に用いられている。波数制御であれば、単位時間当たりの全波数のうち通電している波数の割合を通電率とし、また位相制御であれば電源波形の半周期のうち通電している時間の割合を通電率としている。この通電率を制御することでヒータを設定された温度に制御することができる。
【0004】
ところで、ヒータの抵抗値は個々のヒータ毎に公差が存在し、ヒータへ印加される電圧値もバラツキがある。またヒータの抵抗値は通電劣化により抵抗変動を起こすことが知られている。そのため、同じ通電率でヒータに通電しても、抵抗値や電圧のバラツキや耐久変動によって電力にバラツキが生じ、ヒータ温度を正確に制御することは困難である。
【0005】
ヒータの温度が高いと、記録材やトナーに対して過度な熱量を与えてしまい、画像不良(ホットオフセット)が発生する場合がある。ホットオフセットとは、記録材上のトナーが過剰に加熱されること(以下、過定着と記す)で定着フィルムに付着し、定着フィルム1周後に記録材に付着する画像不良を指す。またヒータ温度が低くなってしまうと、熱量不足による定着不良(コールドオフセット)が発生する場合があった。ここで、コールドオフセットとは定着性が弱いことにより、トナー像の一部が記録材に密着せずに欠損することを指している。
【0006】
これらの画像不良を防止するため、特許文献1では、ヒータの抵抗値やヒータへ印加される電圧にバラツキがあっても同じ電力を出力するように通電率を補正する補正手段を設けることが開示されている。特許文献1の画像形成装置は、入力電圧を検知する電圧検知手段と、予め測定された前記ヒータの抵抗値を記憶する抵抗値記録手段を設け、電圧検知手段で検知される入力電圧とヒータの抵抗値からヒータに投入可能な最大電力を算出する。そして、最大電力から既定の電力で出力するように通電率を補正することで、ヒータ温度を制御する。
【先行技術文献】
【特許文献】
【0007】
特開2019-28188号公報
【発明の概要】
【発明が解決しようとする課題】
【0008】
特許文献1のように、最大電力を検知するために電圧検知手段や電流検知手段を搭載するとコストが高くなる。一方で、コストを抑えるため電圧検知手段や電流検知手段を搭載しない場合、正確に最大電力を検知することができない。この場合、投入電圧やヒータの抵抗値のバラツキ、またヒータ抵抗値の通電劣化などの影響を受け、通電率を正しく補正できない。そのためヒータ温度を正確に制御することができず、ホットオフセットや定着不良が発生する場合がある。
【0009】
本発明はこのような課題に鑑みてなされたものであり、その目的とするところは、ホットオフセットや定着不良による画像不良の発生を抑制する画像形成装置を提供することにある。
【課題を解決するための手段】
【0010】
上述の課題を解決するために、本発明の画像形成装置は、記録材に画像を形成する画像形成手段と、回転する定着部材と、通電されることで前記定着部材を加熱する加熱部材と、前記加熱部材の温度を検知する温度検知部と、前記定着部材を挟んで前記加熱部材と対向するように配置され、前記定着部材とニップ部を形成する加圧ローラと、を有し、前記定着部材で前記画像を前記記録材に定着させる定着装置と、を備えた画像形成装置であって、前記温度検知部により検知された温度が目標温度となるように前記加熱部材に供給する電力を制御する制御手段と、前記温度検知部の昇温時間に関する情報を記憶する記憶部と、を有し、前記制御手段は、単位時間当たりに前記加熱部材に通電する時間の割合を通電率とするとき、前記加圧ローラの回転を停止させた停止状態で前記加熱部材に既定の通電率で通電させて前記温度検知部の昇温時間または昇温量を測定し、前記記憶部材に記憶した前記情報と比較することで前記加熱部材に供給することが可能な最大電力を推測し、前記加熱部材に供給する電力を補正することを特徴とする。
【発明の効果】
(【0011】以降は省略されています)
この特許をJ-PlatPat(特許庁公式サイト)で参照する
関連特許
キヤノン株式会社
発光装置
5日前
キヤノン株式会社
電子機器
今日
キヤノン株式会社
電子機器
2日前
キヤノン株式会社
電子機器
14日前
キヤノン株式会社
表示装置
5日前
キヤノン株式会社
収容装置
6日前
キヤノン株式会社
撮像装置
14日前
キヤノン株式会社
電子機器
6日前
キヤノン株式会社
電子機器
6日前
キヤノン株式会社
撮像装置
6日前
キヤノン株式会社
定着装置
6日前
キヤノン株式会社
撮像装置
12日前
キヤノン株式会社
定着装置
12日前
キヤノン株式会社
記録装置
13日前
キヤノン株式会社
撮像装置
13日前
キヤノン株式会社
記録装置
14日前
キヤノン株式会社
半導体装置
今日
キヤノン株式会社
画像形成装置
2日前
キヤノン株式会社
画像形成装置
2日前
キヤノン株式会社
画像形成装置
2日前
キヤノン株式会社
画像形成装置
2日前
キヤノン株式会社
画像形成装置
2日前
キヤノン株式会社
画像形成装置
2日前
キヤノン株式会社
画像形成装置
2日前
キヤノン株式会社
画像形成装置
2日前
キヤノン株式会社
画像形成装置
2日前
キヤノン株式会社
画像形成装置
2日前
キヤノン株式会社
撮像システム
14日前
キヤノン株式会社
画像形成装置
2日前
キヤノン株式会社
画像形成装置
12日前
キヤノン株式会社
画像形成装置
5日前
キヤノン株式会社
画像形成装置
5日前
キヤノン株式会社
画像形成装置
5日前
キヤノン株式会社
画像形成装置
6日前
キヤノン株式会社
画像形成装置
6日前
キヤノン株式会社
画像形成装置
6日前
続きを見る
他の特許を見る