TOP
|
特許
|
意匠
|
商標
特許ウォッチ
Twitter
他の特許を見る
公開番号
2025146527
公報種別
公開特許公報(A)
公開日
2025-10-03
出願番号
2024047359
出願日
2024-03-22
発明の名称
レンズ装置および撮像装置
出願人
キヤノン株式会社
代理人
個人
,
個人
,
個人
,
個人
,
個人
主分類
G02B
7/02 20210101AFI20250926BHJP(光学)
要約
【課題】 本発明は、ティルト効果またはシフト効果を有する光学系を有するレンズ装置において、操作性を向上させることを目的とする。
【解決手段】 本発明のレンズ装置は、複数の光学素子を有し、被写体像を撮像素子へ結像する光学系と、前記複数の光学素子のうち、少なくとも1つの光学素子を前記光学系の光軸に直交する方向に移動させる移動手段と、前記光学系の光軸周りに回転操作が可能な操作手段と、前記操作手段と前記移動手段に連結し、前記操作手段の回転操作を前記移動手段の前記光軸に直交する方向への移動に変換する変換手段とを有し、前記少なくとも1つの光学素子が前記光軸に直交する方向に移動することでティルト効果及びシフト効果のいずれか1つの効果が生じることを特徴とする。
【選択図】 図1
特許請求の範囲
【請求項1】
複数の光学素子を有し、被写体像を撮像素子へ結像する光学系と、
前記複数の光学素子のうち、少なくとも1つの光学素子を前記光学系の光軸に直交する方向に移動させる移動手段と、
前記光学系の光軸周りに回転操作が可能な操作手段と、
前記操作手段と前記移動手段に連結し、前記操作手段の回転操作を前記移動手段の前記光軸に直交する方向への移動に変換する変換手段とを有し、
前記少なくとも1つの光学素子が前記光軸に直交する方向に移動することでティルト効果及びシフト効果のいずれか1つの効果が生じることを特徴とするレンズ装置。
続きを表示(約 590 文字)
【請求項2】
前記変換手段と前記移動手段は、一方に設けられた第1のカム溝と、他方に設けられ前記第1のカム溝に摺動する第1のコロ部材により連結していることを特徴とする請求項1に記載のレンズ装置。
【請求項3】
前記変換手段と前記操作手段は、一方に設けられた第2のカム溝と、他方に設けられ前記第2のカム溝に摺動する第2のコロ部材により連結していることを特徴とする請求項1に記載のレンズ装置。
【請求項4】
前記移動手段は、前記少なくとも1つの光学素子を前記光学系の光軸に直交する方向をガイドする第1のガイド部材を有することを特徴とする請求項1に記載のレンズ装置。
【請求項5】
前記変換手段は、前記光軸に沿った方向にガイドする第2のガイド部材を有することを特徴とする請求項1に記載のレンズ装置。
【請求項6】
前記変換手段と前記移動手段は、ギアにより連結していることを特徴とする請求項1に記載のレンズ装置。
【請求項7】
前記変換手段と前記操作手段は、ギアにより連結していることを特徴とする請求項1に記載のレンズ装置。
【請求項8】
請求項1から7のいずれか1項に記載のレンズ装置と、
前記レンズ装置を介して被写体を撮像する撮像素子を有することを特徴とする撮像装置。
発明の詳細な説明
【技術分野】
【0001】
本発明は、レンズ装置および撮像装置に関する。
続きを表示(約 1,300 文字)
【背景技術】
【0002】
従来、一眼レフカメラ等の撮像装置においては、さまざまな用途に応じた撮像が求められている。その一つに、撮像光学系の光軸に対して傾いた物体面に対して全面的にピントを合わせるようにピント面を傾けるティルト効果を有する光学系や撮影画角を変更(シフト)するシフト効果を有する光学系を有するレンズ装置が知られている。(特許文献1-3)
【先行技術文献】
【特許文献】
【0003】
特開2019-91027号公報
特開2023-135457号公報
特表2019-537755号公報
【発明の概要】
【発明が解決しようとする課題】
【0004】
しかしながら、ティルト効果やシフト効果を得るために光学系を移動させる操作性や精度が低い場合、撮影者の所望の位置へ光学系を移動できず、撮影効率が低下する恐れがある。
【0005】
そこで、本発明は、ティルト効果またはシフト効果を有する光学系を有するレンズ装置において、操作性を向上させることを目的とする。
【課題を解決するための手段】
【0006】
本発明のレンズ装置は、複数の光学素子を有し、被写体像を撮像素子へ結像する光学系と、前記複数の光学素子のうち、少なくとも1つの光学素子を前記光学系の光軸に直交する方向に移動させる移動手段と、前記光学系の光軸周りに回転操作が可能な操作手段と、前記操作手段と前記移動手段に連結し、前記操作手段の回転操作を前記移動手段の前記光軸に直交する方向への移動に変換する変換手段とを有し、前記少なくとも1つの光学素子が前記光軸に直交する方向に移動することでティルト効果及びシフト効果のいずれか1つの効果が生じることを特徴とするレンズ装置。
【発明の効果】
【0007】
本発明によれば、ティルト効果またはシフト効果を有する光学系を有するレンズ装置において、操作性を向上させることができる。
【図面の簡単な説明】
【0008】
カメラシステムを構成するレンズ装置及びカメラ本体を表す図。
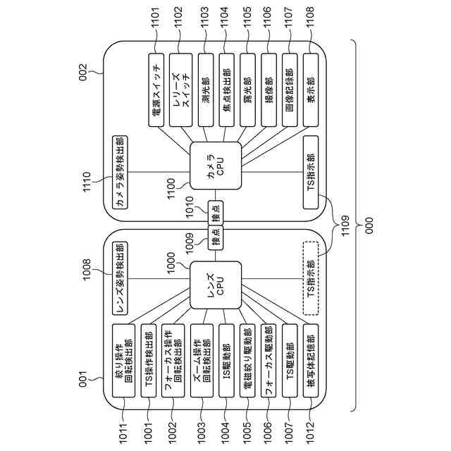
レンズ装置及びカメラ本体を含むカメラシステムの電気的構成図。
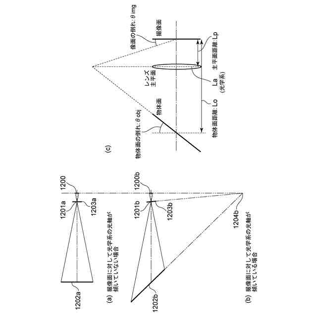
シャインプルーフの原理を示す図。
レンズ装置の動作変換手段の分解斜視図。
レンズ装置の動作変換手段によるレンズの動きを示す図。
【発明を実施するための形態】
【0009】
以下、本発明の好ましい実施形態を、図面に基づいて詳細に説明する。なお、各図において、同一の部材については同一の参照番号を付し、重複する説明は省略する。
【0010】
(第1実施形態)
図1を参照して、本発明の実施形態に係るレンズ装置001を備えるカメラシステム(撮像装置)の構成について説明する。図1は本発明の実施形態のカメラシステム000を構成するレンズ装置001及びカメラ本体002の構成を表す断面図である。このとき、レンズ装置001における光軸方向をX軸、ピッチ方向をY軸、ヨー方向をZ軸と定める。図1はZ軸断面を表している。
(【0011】以降は省略されています)
この特許をJ-PlatPat(特許庁公式サイト)で参照する
関連特許
キヤノン株式会社
トナー
今日
キヤノン株式会社
表示装置
7日前
キヤノン株式会社
定着装置
8日前
キヤノン株式会社
撮像装置
25日前
キヤノン株式会社
定着装置
23日前
キヤノン株式会社
定着装置
23日前
キヤノン株式会社
定着装置
23日前
キヤノン株式会社
発光装置
7日前
キヤノン株式会社
電子機器
2日前
キヤノン株式会社
撮像装置
28日前
キヤノン株式会社
撮像装置
15日前
キヤノン株式会社
記録装置
今日
キヤノン株式会社
電子機器
28日前
キヤノン株式会社
撮像装置
16日前
キヤノン株式会社
電子機器
16日前
キヤノン株式会社
収容装置
8日前
キヤノン株式会社
電子機器
4日前
キヤノン株式会社
記録装置
15日前
キヤノン株式会社
記録装置
16日前
キヤノン株式会社
電子機器
8日前
キヤノン株式会社
定着装置
14日前
キヤノン株式会社
光学装置
28日前
キヤノン株式会社
撮像装置
8日前
キヤノン株式会社
電子機器
23日前
キヤノン株式会社
電子機器
8日前
キヤノン株式会社
電子機器
25日前
キヤノン株式会社
撮像装置
今日
キヤノン株式会社
撮像装置
14日前
キヤノン株式会社
現像剤容器
1日前
キヤノン株式会社
半導体装置
2日前
キヤノン株式会社
画像形成装置
8日前
キヤノン株式会社
画像形成装置
8日前
キヤノン株式会社
画像処理装置
1日前
キヤノン株式会社
配送システム
28日前
キヤノン株式会社
画像形成装置
25日前
キヤノン株式会社
画像形成装置
8日前
続きを見る
他の特許を見る