TOP
|
特許
|
意匠
|
商標
特許ウォッチ
Twitter
他の特許を見る
10個以上の画像は省略されています。
公開番号
2025146360
公報種別
公開特許公報(A)
公開日
2025-10-03
出願番号
2024047091
出願日
2024-03-22
発明の名称
画像処理装置、画像処理方法、およびプログラム
出願人
キヤノン株式会社
代理人
弁理士法人大塚国際特許事務所
主分類
G06F
16/53 20190101AFI20250926BHJP(計算;計数)
要約
【課題】プロンプトから画像を生成する場合に、装置によるプロンプトに対する解釈を把握することが可能な画像処理装置を提供する。
【解決手段】本開示に係る画像処理装置は、生成モデルに生成させる画像についての説明を含むプロンプトを取得する取得手段と、プロンプトに対する解釈度合いを決定する決定手段と、プロンプトに対する解釈度合いに基づいて、プロンプトに対する解釈度合いについての情報を、表示手段に表示させる制御手段と、を有する。ここで、プロンプトに対する解釈度合いは、プロンプトに含まれる説明の画像への反映の程度を表す。
【選択図】図2
特許請求の範囲
【請求項1】
生成モデルに生成させる画像についての説明を含むプロンプトを取得する取得手段と、
前記プロンプトに対する解釈度合いを決定する決定手段と、
前記プロンプトに対する解釈度合いに基づいて、前記プロンプトに対する解釈度合いについての情報を、表示手段に表示させる制御手段と、を有し、
前記プロンプトに対する解釈度合いは、前記プロンプトに含まれる前記説明の画像への反映の程度を表すことを特徴とする画像処理装置。
続きを表示(約 1,100 文字)
【請求項2】
前記解釈度合いについての情報は、前記説明の画像への反映の程度が所定の基準を満たさない、前記説明の一部を示す情報を含む、ことを特徴とする請求項1に記載の画像処理装置。
【請求項3】
前記制御手段は、前記プロンプトと、前記プロンプトに対する解釈度合いについての情報とを前記表示手段に表示させる、ことを特徴とする請求項1に記載の画像処理装置。
【請求項4】
前記プロンプトを生成モデルに入力して、画像を生成する生成手段を更に有し、
前記制御手段は、前記生成モデルで生成された画像と、前記プロンプトと、前記プロンプトに対する解釈度合いについての情報とを前記表示手段に表示させる、ことを特徴とする請求項1に記載の画像処理装置。
【請求項5】
前記決定手段は、前記生成モデルが画像に反映可能な表現を格納する記憶手段を用いて、前記説明の一部が画像に反映されるかを判定することにより、前記プロンプトに対する解釈度合いを決定する、ことを特徴とする請求項1に記載の画像処理装置。
【請求項6】
前記プロンプトを生成モデルに入力して、画像を生成する第1の生成手段と、
前記生成された画像を生成モデルに入力して、第2のプロンプトを生成する第2の生成手段と、を更に有し、
前記決定手段は、前記取得手段で取得した前記プロンプトと、生成された前記第2のプロンプトとの比較に基づいて、前記プロンプトに対する解釈度合いを決定する、ことを特徴とする請求項1に記載の画像処理装置。
【請求項7】
前記プロンプトに対する解釈度合いは、前記説明を構成する単語、句、節、文の少なくともいずれかの単位で決定される、ことを特徴とする請求項1に記載の画像処理装置。
【請求項8】
前記決定手段は、前記プロンプトの前記説明の一部に対する重みを用いて、前記プロンプトに対する解釈度合いを決定する、ことを特徴とする請求項1に記載の画像処理装置。
【請求項9】
前記プロンプトの前記説明の一部に対する重みは、前記説明を構成する単語、句、節、文の少なくともいずれかの単位で付与される、ことを特徴とする請求項8に記載の画像処理装置。
【請求項10】
前記プロンプトの前記説明は、前記説明の一部が画像に反映されることに対応する前記説明の第1の部分と、前記説明の一部が画像に反映されないことに対応する前記説明の第2の部分とを含み、
前記プロンプトの前記説明の第2の部分に対する重みは、前記説明の第1の部分の重みより大きい、ことを特徴とする請求項8に記載の画像処理装置。
(【請求項11】以降は省略されています)
発明の詳細な説明
【技術分野】
【0001】
本発明は、画像処理装置、画像処理方法、およびプログラムに関する。
続きを表示(約 2,000 文字)
【背景技術】
【0002】
近年、機械学習によって学習されたモデルを用いて画像を生成する技術の進歩が著しい。画像生成用の機械学習モデル(単に画像生成モデルともいう)に「プロンプト」と呼ばれる画像生成の指示をテキストで入力して画像を編集したり、生成する技術が普及しつつある。特許文献1は、画像と感情に関するテキストとを入力することで、被写体の表情を所望に変更する技術を開示している。
【先行技術文献】
【特許文献】
【0003】
特開2022-175923号公報
【発明の概要】
【発明が解決しようとする課題】
【0004】
ところで、画像生成モデルは、学習に使用したデータや学習の度合いが異なれば、たとえ同一の構造のモデルに同一のプロンプトを入力する場合であっても、プロンプトの解釈に差が生じる場合がある。ところが、装置を利用するユーザは、当該プロンプトの解釈の差を把握することができないという課題がある。すなわち、ユーザが、外部装置から受け取ったプロンプトを用いて画像を生成した場合に、プロンプトを提供する側の意図した画像とは異なる画像が生成される場合がある。
【0005】
本発明は、上記課題に鑑みてなされ、その目的は、プロンプトから画像を生成する場合に、装置によるプロンプトに対する解釈を把握することが可能な技術を実現することである。
【課題を解決するための手段】
【0006】
この課題を解決するため、例えば本発明の画像処理装置は以下の構成を備える。すなわち、生成モデルに生成させる画像についての説明を含むプロンプトを取得する取得手段と、前記プロンプトに対する解釈度合いを決定する決定手段と、前記プロンプトに対する解釈度合いに基づいて、前記プロンプトに対する解釈度合いについての情報を、表示手段に表示させる制御手段と、を有し、前記プロンプトに対する解釈度合いは、前記プロンプトに含まれる前記説明の画像への反映の程度を表す、ことを特徴とする。
【発明の効果】
【0007】
本発明によれば、プロンプトから画像を生成する場合に、装置によるプロンプトに対する解釈を把握することが可能になる。
【図面の簡単な説明】
【0008】
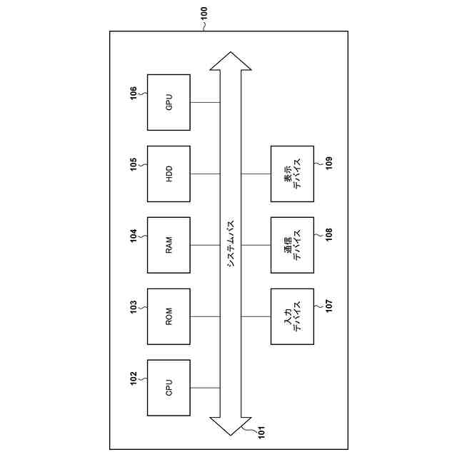
各実施形態のハードウェア構成例を示す図
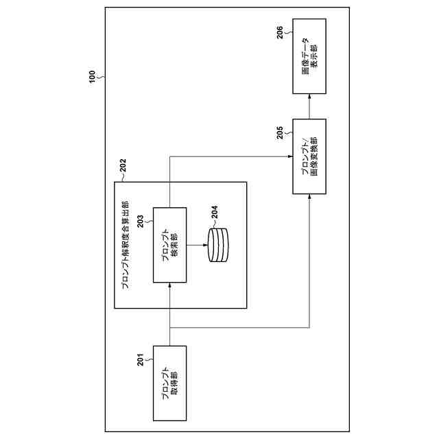
実施形態1のプロンプト通信装置の機能構成例を示すブロック図
実施形態1のプロンプト通信装置における画像生成処理の動作を示すフローチャート
実施形態1のプロンプト解釈度合算出処理の動作を示すフローチャート
実施形態1のプロンプト通信装置による画像生成例を説明する図
実施形態1のプロンプト通信装置の画像表示例を示す図
実施形態1のプロンプト解釈度合算出処理に重み値を用いる場合の動作を示すフローチャート
実施形態2のプロンプト通信装置の機能構成例を示すブロック図
実施形態2のプロンプト通信装置における画像生成処理の動作を示すフローチャート
実施形態2のプロンプト通信装置による画像生成例を説明する図
実施形態3のプロンプト通信システムの機能構成例を示す図
実施形態3のプロンプト通信装置100Aにおける初期処理の動作を示すフローチャート
実施形態3のプロンプト通信装置100Bにおけるの定常動作を示すフローチャート
実施形態3のプロンプト通信装置100Aにおける定常処理の動作を示すフローチャート
実施形態3のプロンプト通信システムの画像生成例を説明する図
【発明を実施するための形態】
【0009】
(実施形態1)
以下、添付図面を参照して実施形態を詳しく説明する。なお、以下の実施形態は特許請求の範囲に係る発明を限定するものではない。実施形態には複数の特徴が記載されているが、これらの複数の特徴の全てが発明に必須のものとは限らず、また、複数の特徴は任意に組み合わせられてもよい。さらに、添付図面においては、同一若しくは同様の構成に同一の参照番号を付し、重複した説明は省略する。
【0010】
以下では、各実施形態における画像処理装置の一例として、画像を生成するためのプロンプト(単に画像生成用プロンプトともいう。詳細は後述する)を扱うことができる通信装置(プロンプト通信装置ともいう)を用いる例を説明する。本実施形態は、画像生成用プロンプトを扱うことができる他の機器に適用可能である。これらの機器には、例えばデジタルカメラ、スマートフォンを含む携帯電話機、ゲーム機、パーソナルコンピュータ、タブレット端末、その他のウェアラブル情報端末などが含まれてよい。
(【0011】以降は省略されています)
この特許をJ-PlatPat(特許庁公式サイト)で参照する
関連特許
キヤノン株式会社
トナー
2日前
キヤノン株式会社
撮像装置
2日前
キヤノン株式会社
記録装置
2日前
キヤノン株式会社
情報処理装置
2日前
キヤノン株式会社
画像形成装置
2日前
キヤノン株式会社
画像形成装置
2日前
キヤノン株式会社
吐出素子基板
2日前
キヤノン株式会社
画像表示装置
2日前
キヤノン株式会社
画像形成装置
2日前
キヤノン株式会社
画像形成装置
3日前
キヤノン株式会社
画像形成装置
3日前
キヤノン株式会社
電極構造体の製造方法
2日前
キヤノン株式会社
表示光学系および表示装置
2日前
キヤノン株式会社
プログラムおよび管理装置
2日前
キヤノン株式会社
レンズ装置および撮像装置
2日前
キヤノン株式会社
プログラム、端末装置、方法
2日前
キヤノン株式会社
情報処理装置及びその制御方法
2日前
キヤノン株式会社
情報処理装置及び情報処理方法
2日前
キヤノン株式会社
有機金属錯体及び有機発光素子
2日前
キヤノン株式会社
シート搬送装置及び画像形成装置
2日前
キヤノン株式会社
情報変換システムおよび情報変換装置
2日前
キヤノン株式会社
情報処理装置、処理方法およびプログラム
2日前
キヤノン株式会社
情報処理装置、処理方法およびプログラム
2日前
キヤノン株式会社
プログラム、制御方法および情報処理装置
2日前
キヤノン株式会社
負極構造体及び二次電池並びにその製造方法
2日前
キヤノン株式会社
処理システム、処理方法、及び物品の製造方法
2日前
キヤノン株式会社
ネットワークデバイス、方法、及びプログラム
2日前
キヤノン株式会社
情報処理装置、情報処理方法、およびプログラム
2日前
キヤノン株式会社
画像処理装置、画像処理方法、およびプログラム
2日前
キヤノン株式会社
記録媒体、及び立体画像を有する記録物の製造方法
2日前
キヤノン株式会社
プログラム、情報処理装置の制御方法、情報処理装置
2日前
キヤノン株式会社
情報処理装置、情報処理装置の制御方法及びプログラム
3日前
キヤノン株式会社
負極形成用転写部材及び負極構造体並びにその製造方法
2日前
キヤノン株式会社
識別装置
2日前
キヤノン株式会社
撮像装置、制御装置、制御方法、プログラム及び記憶媒体
3日前
キヤノン株式会社
画像処理装置、画像処理装置の制御方法、及びプログラム
2日前
続きを見る
他の特許を見る