TOP
|
特許
|
意匠
|
商標
特許ウォッチ
Twitter
他の特許を見る
10個以上の画像は省略されています。
公開番号
2025144485
公報種別
公開特許公報(A)
公開日
2025-10-02
出願番号
2024094110
出願日
2024-06-11
発明の名称
情報処理装置、情報処理装置の制御方法及びプログラム
出願人
キヤノン株式会社
代理人
個人
,
個人
,
個人
,
個人
,
個人
主分類
H04L
41/142 20220101AFI20250925BHJP(電気通信技術)
要約
【課題】 取得したパケットの数に基づいてモデルを使い分け、情報処理装置の利用環境を適切に推定することを目的とする。
【解決手段】 情報処理装置が送受信する複数のパケットを取得する取得手段と、取得された前記複数のパケットに基づくデータをモデルに入力して前記情報処理装置の利用環境を推定する推定手段と、を有し、前記推定手段は、取得された前記複数のパケットの数が閾値以上の場合は、当該複数のパケットに基づくデータを第1モデルに入力して推定を行い、取得された前記複数のパケットの数が前記閾値未満の場合は、当該複数のパケットに基づくデータを前記第1モデルとは異なる第2モデルに入力して推定を行う。
【選択図】 図9
特許請求の範囲
【請求項1】
情報処理装置であって、
前記情報処理装置が送受信する複数のパケットを取得する取得手段と、
取得された前記複数のパケットに基づくデータをモデルに入力して前記情報処理装置の利用環境を推定する推定手段と、
を有し、
前記推定手段は、
取得された前記複数のパケットの数が閾値以上の場合は、当該複数のパケットに基づくデータを第1モデルに入力して推定を行い、
取得された前記複数のパケットの数が前記閾値未満の場合は、当該複数のパケットに基づくデータを前記第1モデルとは異なる第2モデルに入力して推定を行う
ことを特徴とする情報処理装置。
続きを表示(約 1,500 文字)
【請求項2】
推定された前記利用環境に対応する設定値を設定する設定手段
をさらに有する請求項1に記載の情報処理装置。
【請求項3】
前記取得手段は、所定の時間内で前記複数のパケットの取得を行い、
前記推定手段は、
前記所定の時間内で取得された前記複数のパケットの数が前記閾値以上の場合は、当該複数のパケットに基づくデータを前記第1モデルに入力して推定を行い、
前記所定の時間内で取得された前記複数のパケットの数が前記閾値未満の場合は、当該複数のパケットに基づくデータを前記第2モデルに入力して推定を行う
ことを特徴とする請求項1に記載の情報処理装置。
【請求項4】
前記推定手段は、
取得された前記複数のパケットの数が前記閾値未満であり、かつ、前記閾値より低い別の閾値以上の場合は、当該複数のパケットに基づくデータを前記第2モデルに入力して推定を行い、
取得された前記複数のパケットの数が前記別の閾値未満の場合は、前記モデルを用いずに、前記複数のパケットに基づいて利用環境を推定する
ことを特徴とする請求項1に記載の情報処理装置。
【請求項5】
前記第1モデルは、前記閾値の数の複数のパケットに基づくデータを学習データとして学習することにより生成される
ことを特徴とする請求項1に記載の情報処理装置。
【請求項6】
前記第2モデルは、前記別の閾値の数の複数のパケットに基づくデータを学習データとして学習することにより生成される
ことを特徴とする請求項4に記載の情報処理装置。
【請求項7】
推定される前記利用環境は、少なくとも、社内LANに接続された環境、直接インターネットに接続された環境、インターネットとの接続を遮断された環境、在宅勤務を想定した環境、公共スペースでの利用を想定した環境、高機密情報を管理する環境のうちの1つである
ことを特徴とする請求項1に記載の情報処理装置。
【請求項8】
前記情報処理装置は、スキャナおよびプリンタをさらに備える画像処理装置であり、
取得される前記複数のパケットは、前記スキャナまたは前記プリンタにおいて実行されるジョブに関するパケットを含む
ことを特徴とする請求項1に記載の情報処理装置。
【請求項9】
前記推定手段は、
取得された前記複数のパケットの数が前記閾値以上であり、かつ、当該複数のパケットが所定の条件を満たす場合は、当該所定の条件に対応する利用環境を推定結果として出力し、
取得された前記複数のパケットの数が前記閾値以上であり、かつ、当該複数のパケットが前記所定の条件を満たさない場合は、当該複数のパケットに基づくデータを前記第1モデルに入力して推定を行う
ことを特徴とする請求項1に記載の情報処理装置。
【請求項10】
前記情報処理装置の利用環境の選択を受け付けるための画面を表示する表示制御手段と、
前記画面において選択された利用環境に対応する設定値を前記情報処理装置に設定する設定手段と、
をさらに有し、
前記表示制御手段は、前記画面において選択され、対応する設定値が前記情報処理装置に設定されている利用環境が、前記推定手段により推定された利用環境と異なる場合に、前記推定された利用環境を含むポップアップ画面を表示する
ことを特徴とする請求項1に記載の情報処理装置。
(【請求項11】以降は省略されています)
発明の詳細な説明
【技術分野】
【0001】
本発明は、情報処理装置の利用環境を推定する技術に関するものである。
続きを表示(約 1,600 文字)
【背景技術】
【0002】
セキュリティ対策として、情報機器が持つ各種セキュリティ関連機能は適切に設定されている必要がある。利用環境が単一固定的な情報機器であれば、その単一の利用環境に合わせこんだ設定値を出荷時に適用しておくことで、ユーザは何も意識することなく適切にセキュリティ対策が施された情報機器を利用することができる。
【0003】
例えば複合機の利用環境に着目すると、オフィス環境での利用に限らず、在宅勤務での利用や、不特定多数の人で共有する公共スペースでの利用など利用環境が多様化している。利用環境に応じて適切なセキュリティ設定は異なるため、利用環境にあった適切な設定を行う必要がある。
【0004】
特許文献1には、試験ネットワークの動作状況を収集してポリシーを作成し、各ネットワークのポリシーの更新を支援する技術が提案されている。そして、特許文献1では、通信パケットから抽出される特徴量とポリシーとを比較し、ネットワークの異常を検知する。
【先行技術文献】
【特許文献】
【0005】
特開2019-22099号公報
【発明の概要】
【発明が解決しようとする課題】
【0006】
しかしながら、特許文献1では、利用環境を推定する際に用いるパケットの数に基づいて、利用環境の推定のモデルやアルゴリズムを使い分けることは想定されていなかった。
【0007】
本発明は、取得したパケットの数に基づいてモデルを使い分け、情報処理装置の利用環境を適切に推定することを目的とする。
【課題を解決するための手段】
【0008】
上記目的を達成するために、本発明の情報処理装置は、情報処理装置であって、前記情報処理装置が送受信する複数のパケットを取得する取得手段と、取得された前記複数のパケットに基づくデータをモデルに入力して前記情報処理装置の利用環境を推定する推定手段と、を有し、前記推定手段は、取得された前記複数のパケットの数が閾値以上の場合は、当該複数のパケットに基づくデータを第1モデルに入力して推定を行い、取得された前記複数のパケットの数が前記閾値未満の場合は、当該複数のパケットに基づくデータを前記第1モデルとは異なる第2モデルに入力して推定を行うことを特徴とする。
【発明の効果】
【0009】
本発明に係る情報処理装置によれば、取得したパケットの数に基づいてモデルを使い分け、情報処理装置の利用環境を適切に推定することができる。
【図面の簡単な説明】
【0010】
本発明に係わるMFPと管理用クラウドシステムの接続形態を示すブロック構成図である。
本発明に係わるMFPのコントローラ部の内部構成図である。
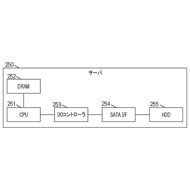
本発明に係わる学習サーバの内部構成図である。
本発明に係わるMFPのコントローラで実行されるソフトウェアのブロック構成図である。
本発明に係わる学習サーバで実行されるソフトウェアのブロック構成図である。
本発明のセキュリティ利用環境設定に係る画面構成図である。
本発明に係わる学習モデル利用の概念図である。
本発明に係わる学習モデルを利用したシステムの動きを表す概念図である。
本発明に係わるMFPの推定、データ送信フロー図である。
本発明に係わる学習フェーズの学習サーバのデータ受信フロー図である。
本発明のセキュリティ利用環境設定に係る画面構成図である。
本発明に係わるMFPの推定、データ送信フロー図である。
【発明を実施するための形態】
(【0011】以降は省略されています)
この特許をJ-PlatPat(特許庁公式サイト)で参照する
関連特許
キヤノン株式会社
トナー
4日前
キヤノン株式会社
発光装置
11日前
キヤノン株式会社
光学装置
1か月前
キヤノン株式会社
撮像装置
4日前
キヤノン株式会社
電子機器
27日前
キヤノン株式会社
定着装置
12日前
キヤノン株式会社
電子機器
12日前
キヤノン株式会社
電子機器
12日前
キヤノン株式会社
定着装置
27日前
キヤノン株式会社
記録装置
4日前
キヤノン株式会社
定着装置
27日前
キヤノン株式会社
定着装置
27日前
キヤノン株式会社
撮像装置
1か月前
キヤノン株式会社
電子機器
29日前
キヤノン株式会社
撮像装置
20日前
キヤノン株式会社
電子機器
20日前
キヤノン株式会社
記録装置
20日前
キヤノン株式会社
撮像装置
29日前
キヤノン株式会社
電子機器
1か月前
キヤノン株式会社
定着装置
18日前
キヤノン株式会社
撮像装置
19日前
キヤノン株式会社
記録装置
19日前
キヤノン株式会社
撮像装置
18日前
キヤノン株式会社
電子機器
6日前
キヤノン株式会社
収容装置
12日前
キヤノン株式会社
撮像装置
12日前
キヤノン株式会社
表示装置
11日前
キヤノン株式会社
撮像装置
今日
キヤノン株式会社
電子機器
8日前
キヤノン株式会社
現像装置
1か月前
キヤノン株式会社
電子機器
1か月前
キヤノン株式会社
現像剤容器
5日前
キヤノン株式会社
半導体装置
6日前
キヤノン株式会社
画像表示装置
26日前
キヤノン株式会社
画像形成装置
5日前
キヤノン株式会社
画像形成装置
5日前
続きを見る
他の特許を見る