TOP
|
特許
|
意匠
|
商標
特許ウォッチ
Twitter
他の特許を見る
10個以上の画像は省略されています。
公開番号
2025145890
公報種別
公開特許公報(A)
公開日
2025-10-03
出願番号
2024046372
出願日
2024-03-22
発明の名称
ネットワークデバイス、方法、及びプログラム
出願人
キヤノン株式会社
代理人
個人
,
個人
,
個人
主分類
H04N
1/00 20060101AFI20250926BHJP(電気通信技術)
要約
【課題】データの管理について改善することを目的とする。
【解決手段】ネットワークデバイスは、サーバにデータを送信する送信手段と、前記サーバに送信するデータに、リモート修理サービス向けにデータを公開可能である情報を付与する付与手段と、を有することを特徴とする。
【選択図】図1
特許請求の範囲
【請求項1】
サーバにデータを送信する送信手段と、
前記サーバに送信するデータに、リモート修理サービス向けにデータを公開可能である情報を付与する付与手段と、
を有することを特徴とするネットワークデバイス。
続きを表示(約 680 文字)
【請求項2】
前記情報の設定は、修理対応のオペレータの依頼によりユーザが変更可能である
ことを特徴とする請求項1に記載のネットワークデバイス。
【請求項3】
前記情報の設定は、前記ネットワークデバイスの保守契約時のユーザの同意に基づき設定する
ことを特徴とする請求項1に記載のネットワークデバイス。
【請求項4】
前記情報の設定は、使用許諾契約画面によるユーザの合意に基づき設定する
ことを特徴とする請求項1に記載のネットワークデバイス。
【請求項5】
前記情報の設定は、一部のデータのみを公開するように設定する
ことを特徴とする請求項1に記載のネットワークデバイス。
【請求項6】
前記データは階層ごとに振り分けられ、
前記情報の設定は、前記階層ごとに公開するように設定する
ことを特徴とする請求項1に記載のネットワークデバイス。
【請求項7】
サーバにデータを送信する送信工程と、
前記サーバに送信するデータに、リモート修理サービス向けにデータを公開可能である情報を付与する付与工程と、
を有することを特徴とするネットワークデバイスの制御方法。
【請求項8】
コンピュータを、
サーバにデータを送信する送信手段、及び
前記サーバに送信するデータに、リモート修理サービス向けにデータを公開可能である情報を付与する付与手段、
として機能させることを特徴とするプログラム。
発明の詳細な説明
【技術分野】
【0001】
本発明は、ネットワークデバイス、方法、及びプログラムに関する。
続きを表示(約 1,600 文字)
【背景技術】
【0002】
装置の状態を監視し、迅速な保守や予兆予測、ユーザサポートを行う必要がある。このために、稼働している装置からインターネットを通じてイベントログ管理クラウドサーバに各種イベントログや設定値情報を送信しサーバに保存するシステムが知られている。クラウドサーバでは、蓄積されたイベントログとサーバ上のアプリケーションを利用し、装置の各種状態変化を分析したり、発生した事象に応じて迅速に消耗品の交換やユーザサポートをしたりなどの対応を行う必要がある。
【0003】
一方、クラウドサーバ側では装置から収集したデータを様々な用途で利用している。その中では一時的にユーザサポートを行うために用いる、一定期間データを保管して分析を行うなどの場合がある。データの中にはユーザが入力した情報が含まれている場合がある。このようなデータは分析のために誰でも見れるようにしたり、国外のサーバに移動することはできないため、マスク処理を行ったり、ユーザ合意を得て一時的に閲覧できるようにすることがある。
【0004】
特許文献1では、通信相手の同意の元で表示画面の取り込みを行うことができる通信端末を提供している。
【先行技術文献】
【特許文献】
【0005】
特開2015-008381号公報
【発明の概要】
【発明が解決しようとする課題】
【0006】
しかしながら特許文献1の方法では、リモートでユーザの装置のトラブルシューティングを行う場合に1画面ずつ取得の同意を得なければならず、非効率になりかねない。このため、従来、データの管理について改善の余地があった。
【0007】
本発明は上記問題点に鑑みてなされたものであり、データの管理について改善することを目的とする。
【課題を解決するための手段】
【0008】
本発明の一実施形態のネットワークデバイスは、サーバにデータを送信する送信手段と、前記サーバに送信するデータに、リモート修理サービス向けにデータを公開可能である情報を付与する付与手段と、を有することを特徴とする。
【発明の効果】
【0009】
本発明によれば、データの管理について改善することができる。
【図面の簡単な説明】
【0010】
本発明の実施形態1に係るシステム全体を示すシステム構成図である。
画像処理装置120の全体構成を表すブロック図である。
サーバ111の全体構成を表すブロック図である。
画像処理装置120の機能構成を示すブロック図である。
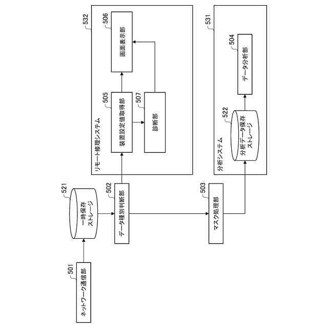
サーバ111の機能構成を示すブロック図である。
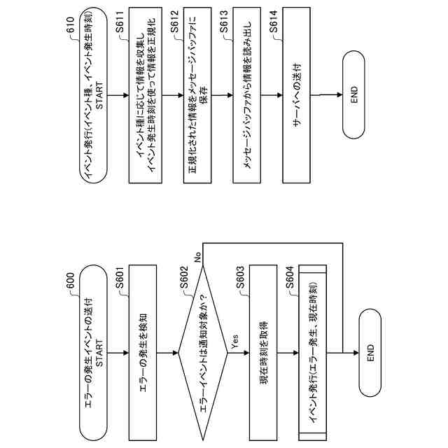
イベントの検知からサーバ111への送付までのフローチャートである。
設定値を送る操作を実施後のフローチャートである。
設定値を送る操作を実施後のフローチャートである。
表示操作部206の表示の例である。
表示操作部206の表示の例である。
データ種別判断部502のフローチャートである。
表示操作部506の表示の例である。
表示操作部506の表示の例である。
本発明の実施形態2に係る再起動後、定期送信、差分通知時に設定値を送る場合のフローチャートである。
本発明の実施形態2に係る表示操作部206の表示の例である。
本発明の実施形態2に係る表示操作部206の表示の例である。
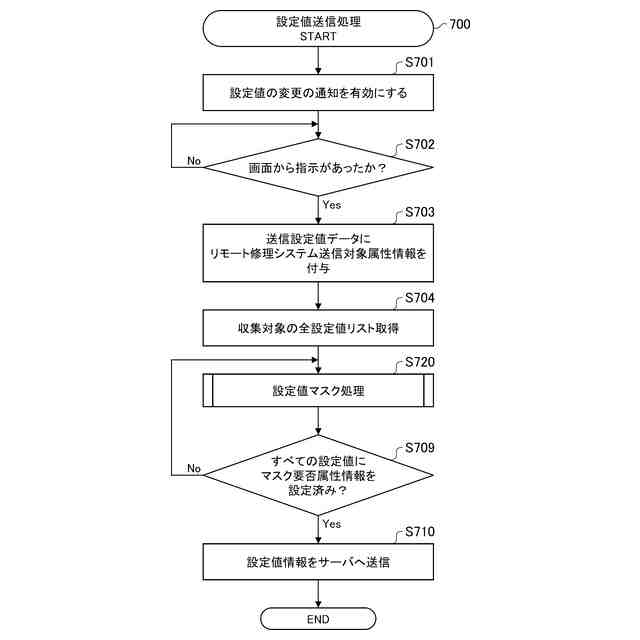
本発明の実施形態3に係る設定値送信のフローチャートである。
本発明の実施形態3に係る表示操作部206の表示の例である。
サーバ111へ送信される設定値データのフォーマットの例である。
【発明を実施するための形態】
(【0011】以降は省略されています)
この特許をJ-PlatPat(特許庁公式サイト)で参照する
関連特許
個人
店内配信予約システム
2か月前
サクサ株式会社
中継装置
2か月前
WHISMR合同会社
収音装置
22日前
キヤノン株式会社
電子機器
2か月前
アイホン株式会社
電気機器
16日前
キヤノン株式会社
撮像装置
3か月前
キヤノン株式会社
撮像装置
1か月前
株式会社リコー
画像形成装置
1か月前
キヤノン電子株式会社
モバイル装置
2か月前
株式会社リコー
画像形成装置
1か月前
日本精機株式会社
画像投映システム
2か月前
キヤノン電子株式会社
画像読取装置
23日前
個人
ワイヤレスイヤホン対応耳掛け
14日前
株式会社リコー
画像形成装置
1か月前
電気興業株式会社
無線中継器
3か月前
ヤマハ株式会社
信号処理装置
3か月前
株式会社ニコン
撮像装置
2か月前
キヤノン株式会社
撮像システム
16日前
ブラザー工業株式会社
読取装置
1か月前
有限会社フィデリックス
マイクロフォン
今日
パテントフレア株式会社
超高速電波通信
1か月前
沖電気工業株式会社
画像形成装置
4日前
株式会社JVCケンウッド
通信システム
今日
キヤノン電子株式会社
シート材搬送装置
1か月前
パテントフレア株式会社
水中電波通信法
2か月前
株式会社小糸製作所
画像照射装置
1か月前
大日本印刷株式会社
写真撮影装置
15日前
DXO株式会社
情報処理システム
2か月前
国立大学法人電気通信大学
小型光学装置
1か月前
株式会社松平商会
携帯機器カバー
25日前
日本無線株式会社
無線通信システム
8日前
株式会社国際電気
遠隔監視システム
1か月前
個人
外部ヘッダ変換通信装置および通信網
3か月前
株式会社JVCケンウッド
スピーカ
23日前
日本無線株式会社
無線通信システム
1か月前
日本無線株式会社
無線通信システム
1か月前
続きを見る
他の特許を見る