TOP
|
特許
|
意匠
|
商標
特許ウォッチ
Twitter
他の特許を見る
公開番号
2025145419
公報種別
公開特許公報(A)
公開日
2025-10-03
出願番号
2024045593
出願日
2024-03-21
発明の名称
電極構造体の製造方法
出願人
キヤノン株式会社
代理人
弁理士法人秀和特許事務所
主分類
H01M
4/04 20060101AFI20250926BHJP(基本的電気素子)
要約
【課題】粒子パターンの再現性を担保できる電極構造体の製造方法の提供。
【解決手段】電極構造体の製造方法であって、所定の複数の粒子を、担持体を含む摺擦部材に担持させる担持工程と、凹部を有するシート状の基材に、第1の摺擦強度で前記摺擦部材を摺擦し、前記凹部の一部に前記複数の粒子の一部を配置する第1の摺擦工程と、前記第1の摺擦工程より後に行われる第Nの摺擦工程と、を有し、第1の摺擦工程~前記第Nの摺擦工程のうち、任意の摺擦工程を第nの摺擦工程としたとき、第nの摺擦強度が、第n-1の摺擦強度より強度が高いことを特徴とする電極構造体の製造方法。
(Nは、2≦N≦Mを満たす各整数を示し、Mは、2以上の整数から選ばれる一の整数を示し、nは、前記Nが示す整数からなる群から選択される少なくとも一の整数を示す。)
【選択図】図1
特許請求の範囲
【請求項1】
電極構造体の製造方法であって、
固体電解質粒子および活物質粒子の少なくともいずれかを含む複数の粒子を、担持体を含む摺擦部材に担持させる担持工程と、
凹部を有するシート状の基材に、第1の摺擦強度で前記摺擦部材を摺擦し、前記凹部の一部に前記複数の粒子の一部を配置する第1の摺擦工程と、
前記第1の摺擦工程より後に行われる第Nの摺擦工程と、を有し、
前記第Nの摺擦工程が、第Nの摺擦強度で前記摺擦部材を前記基材に摺擦し、前記凹部に前記複数の粒子の一部を配置する工程であり、
前記第1の摺擦工程~前記第Nの摺擦工程のうち、任意の摺擦工程を第nの摺擦工程としたとき、第nの摺擦強度が、第n-1の摺擦強度より強度が高いことを特徴とする電極構造体の製造方法。
(Nは、2≦N≦Mを満たす各整数を示し、Mは、2以上の整数から選ばれる一の整数を示し、nは、前記Nが示す整数からなる群から選択される少なくとも一の整数を示す。)
続きを表示(約 900 文字)
【請求項2】
前記Mは、2乃至4のいずれかである、請求項1に記載の電極構造体の製造方法。
【請求項3】
前記nは、前記Nが示す各整数を示す、請求項1又は2に記載の電極構造体の製造方法。
【請求項4】
前記基材は、前記基材上に配置された複数の凸部を有し、
前記凹部は、前記複数の凸部のうちの隣接する2の凸部の間隙に対応する、請求項1又は2に記載の電極構造体の製造方法。
【請求項5】
前記凹部は、粘着性を有する底面を含む、請求項1又は2に記載の電極構造体の製造方法。
【請求項6】
摺擦強度を調整する強度調整工程を、前記第nの摺擦工程と、第n-1の摺擦工程との間にさらに有し、
前記強度調整工程は、前記摺擦部材と前記基材との作動距離、前記担持体の物性、前記基材に対する前記摺擦部材の移動速度、及び前記担持体に作用させる電磁波、の少なくともいずれかにより、摺擦強度を調整する工程である、請求項1又は2に記載の電極構造体の製造方法。
【請求項7】
前記物性は磁性を含み、前記電磁波は磁場を含む、請求項6に記載の電極構造体の製造方法。
【請求項8】
第n-1の摺擦工程における、前記摺擦部材の前記基材に対する移動方向を第n-1の速度ベクトルとし、前記第nの摺擦工程における、前記摺擦部材の前記基材に対する移動方向を第nの速度ベクトルとし、前記第nの速度ベクトルを分解したときに、前記第nの速度ベクトルが、前記第n-1の速度ベクトルと平行な方向成分を有する、請求項1又は2に記載の電極構造体の製造方法。
(nは、前記Nが示す整数からなる群から選択される少なくとも一の整数を示す。)
【請求項9】
前記第nの速度ベクトルは、前記第n-1の速度ベクトルと平行又は反平行の関係にある、請求項8に記載の電極構造体の製造方法。
【請求項10】
前記担持体は、磁性を有する粒子である、請求項1又は2に記載の電極構造体の製造方法。
(【請求項11】以降は省略されています)
発明の詳細な説明
【技術分野】
【0001】
本開示は、電極構造体の製造方法に関する。
続きを表示(約 2,000 文字)
【背景技術】
【0002】
近年、積層造形技術を用いた新しい製造方法が種々開発されてきているが、複数の材料粒子を設計配置して機能構造体を作製する技術は困難であり、あまり実現できていない。
例えば、電子写真技術でトナー粒子を配置する技術は一般的に普及しているが、トナーは帯電特性を得るために機能材料としての顔料の何倍もの量のバインダーをあらかじめ含んでいる複合材料からなる粒子である。さらに、静電気の特性上、単粒子での位置決めは原理的に困難であり、これはバインダーを用いずに粒子をパターニングしうる静電スクリーン印刷にも当てはまる現象である。
機能性を有する粒子を適材適所に配置することができれば、無駄な粒子を使わずに済み、例えば、電池材料のように高価な材料であればより大きな効果を得ることができる。
【0003】
これに対し、特許文献1には、基材上に第1の粒子をパターン状に配置する第1の工程と、前記基材上の前記第1の粒子が配置されていない領域に第2の粒子を配置する第2の工程と、を有する材料層の製造方法であって、前記第2の工程は、前記第2の粒子を担持させた担持材を前記第1の粒子が配置された前記基材に摺擦する工程を有することを特徴とする材料層の製造方法が提案されている。
【先行技術文献】
【特許文献】
【0004】
特開2019-137060号公報
【発明の概要】
【発明が解決しようとする課題】
【0005】
しかしながら、本発明者らが検討したところ、特許文献1の材料層の製造方法において、高い密度で材料層を形成するために摺擦時の摩擦力を高めた場合、すなわち、摺擦強度が高い場合には、以下の課題があることを見出した。摺擦強度が高いと、凹凸形状の基材に第1の粒子を配置するとき、摩擦、摩耗により基材が破損し、第1の粒子の載り量が変動したり、配置精度が低下する場合があった。すなわち、粒子パターンの再現性が低下する場合があった。
【0006】
加えて、一般に、二次電池は、電極(正極や負極)及び電解質で構成され、電極間で電解質を介したイオンの移動が生じることで、充電や放電を行う。このような二次電池は、携帯電話などの小型機器から電気自動車などの大型機器まで、幅広い用途で使用されている。そのため、二次電池の性能のさらなる向上が求められている。
近年は電解質に無機の固体電解質を使用した、いわゆる全固体電池の研究開発が進んでいる。全固体電池は従来の有機電解液を固体電解質に置き換えることにより、二次電池の安全性や高容量高出力化できる製造方法の確立が期待されている。
【0007】
そこで本開示は、粒子パターンの再現性を担保できる電極構造体の製造方法を提供する。
【課題を解決するための手段】
【0008】
本開示の一態様は、
電極構造体の製造方法であって、
固体電解質粒子および活物質粒子の少なくともいずれかを含む複数の粒子を、担持体を含む摺擦部材に担持させる担持工程と、
凹部を有するシート状の基材に、第1の摺擦強度で前記摺擦部材を摺擦し、前記凹部の一部に前記複数の粒子の一部を配置する第1の摺擦工程と、
前記第1の摺擦工程より後に行われる第Nの摺擦工程と、を有し、
前記第Nの摺擦工程が、第Nの摺擦強度で前記摺擦部材を前記基材に摺擦し、前記凹部に前記複数の粒子の一部を配置する工程であり、
前記第1の摺擦工程~前記第Nの摺擦工程のうち、任意の摺擦工程を第nの摺擦工程としたとき、第nの摺擦強度が、第n-1の摺擦強度より強度が高いことを特徴とする電極構造体の製造方法に関する。
(Nは、2≦N≦Mを満たす各整数を示し、Mは、2以上の整数から選ばれる一の整数を示し、nは、前記Nが示す整数からなる群から選択される少なくとも一の整数を示す。)
【発明の効果】
【0009】
本開示によれば、粒子パターンの再現性を担保できる電極構造体の製造方法が提供される。
【図面の簡単な説明】
【0010】
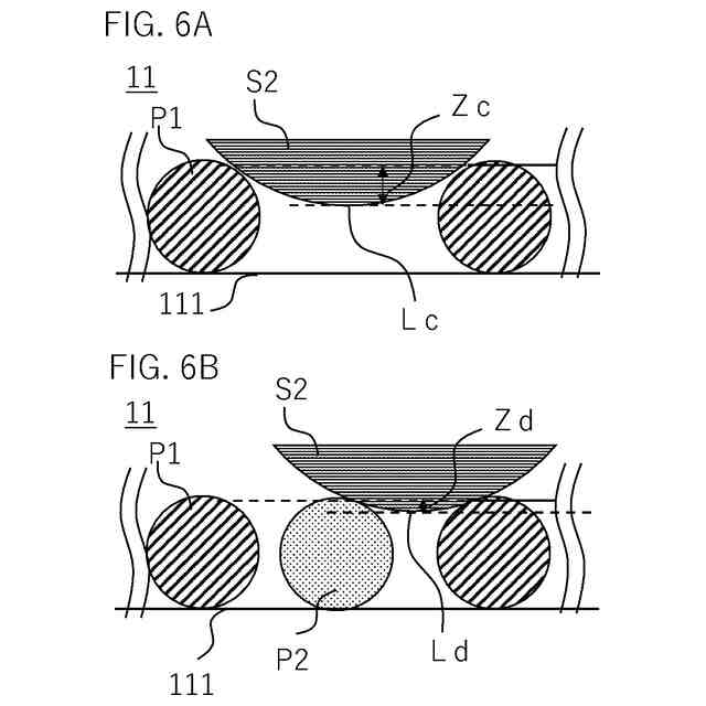
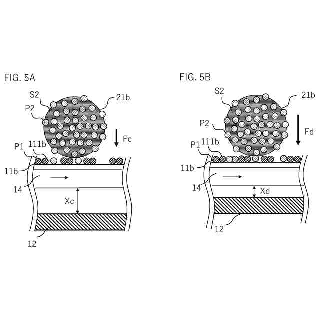
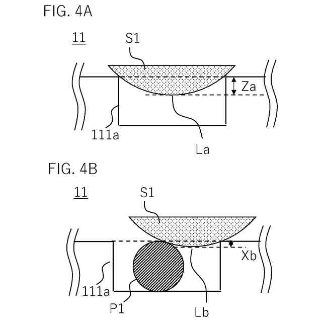
本開示の一態様に係る電極構造体の製造方法を示すイメージ図。
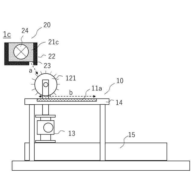
第1の充填装置の説明図。
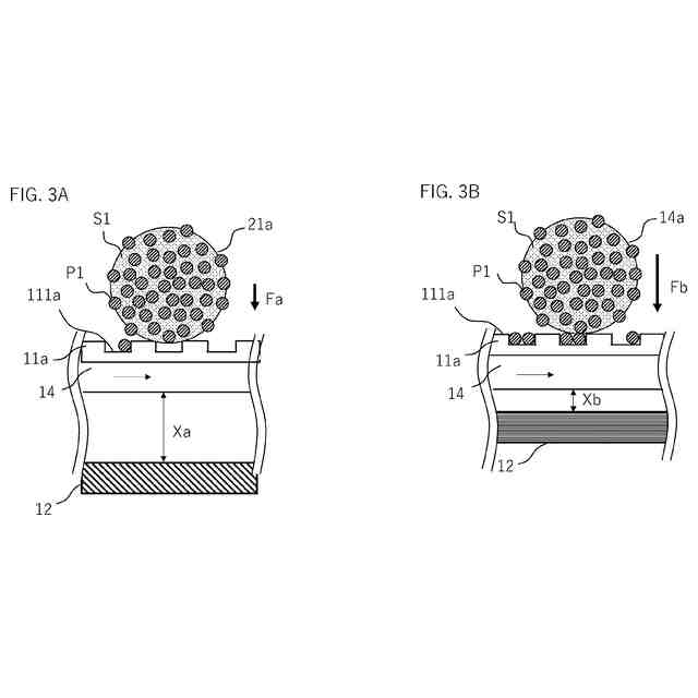
本開示の一態様に係る摺擦工程を説明する説明図。
本開示の一態様に係る摺擦工程を説明する説明図。
本開示の一態様に係る摺擦工程を説明する説明図。
本開示の一態様に係る摺擦工程を説明する説明図。
本開示の一態様に係る電極構造体の製造方法を示すイメージ図。
第3の充填装置の説明図。
【発明を実施するための形態】
(【0011】以降は省略されています)
この特許をJ-PlatPat(特許庁公式サイト)で参照する
関連特許
キヤノン株式会社
トナー
今日
キヤノン株式会社
トナー
1か月前
キヤノン株式会社
移動体
1か月前
キヤノン株式会社
電子機器
16日前
キヤノン株式会社
電子機器
25日前
キヤノン株式会社
定着装置
14日前
キヤノン株式会社
撮像装置
1か月前
キヤノン株式会社
定着装置
23日前
キヤノン株式会社
光学装置
28日前
キヤノン株式会社
記録装置
今日
キヤノン株式会社
電子機器
28日前
キヤノン株式会社
撮像装置
28日前
キヤノン株式会社
撮像装置
1か月前
キヤノン株式会社
撮像装置
14日前
キヤノン株式会社
撮像装置
15日前
キヤノン株式会社
記録装置
15日前
キヤノン株式会社
撮像装置
8日前
キヤノン株式会社
撮像装置
25日前
キヤノン株式会社
記録装置
16日前
キヤノン株式会社
記録装置
1か月前
キヤノン株式会社
撮像装置
1か月前
キヤノン株式会社
撮像装置
16日前
キヤノン株式会社
電子機器
2日前
キヤノン株式会社
電子機器
23日前
キヤノン株式会社
発光装置
1か月前
キヤノン株式会社
定着装置
23日前
キヤノン株式会社
定着装置
23日前
キヤノン株式会社
撮像装置
1か月前
キヤノン株式会社
発光装置
1か月前
キヤノン株式会社
電子機器
1か月前
キヤノン株式会社
電子機器
8日前
キヤノン株式会社
定着装置
8日前
キヤノン株式会社
撮像装置
今日
キヤノン株式会社
電子機器
4日前
キヤノン株式会社
現像装置
1か月前
キヤノン株式会社
発光装置
7日前
続きを見る
他の特許を見る