TOP
|
特許
|
意匠
|
商標
特許ウォッチ
Twitter
他の特許を見る
10個以上の画像は省略されています。
公開番号
2025119793
公報種別
公開特許公報(A)
公開日
2025-08-15
出願番号
2024014807
出願日
2024-02-02
発明の名称
発光装置
出願人
キヤノン株式会社
代理人
個人
,
個人
,
個人
,
個人
,
個人
主分類
H10D
84/80 20250101AFI20250807BHJP()
要約
【課題】 画素のリーク電流が低減された発光装置を提供する。
【解決手段】 本開示は、発光素子と、シリコン基板の第1面の上に設けられた第1トランジスタおよび第2トランジスタと、前記第1トランジスタに画像信号を供給する周辺回路に設けられた第3トランジスタと、を有し、前記第1トランジスタのソースおよびドレインのいずれかは、前記第2トランジスタのゲート電極に接続され、前記第2トランジスタのソースおよびドレインのいずれかは、前記発光素子に接続されている発光装置であって、
前記第1トランジスタは、前記ソース及び前記ドレインの拡散領域に、Halo注入層を有し、前記Halo注入層は、前記拡散領域の極性と逆の極性であることを特徴とする発光装置を提供する。
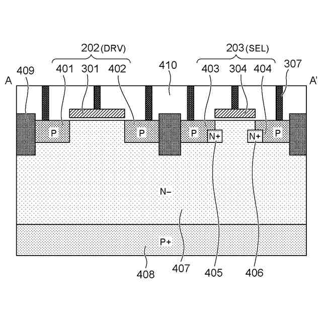
【選択図】 図4
特許請求の範囲
【請求項1】
発光素子と、
シリコン基板の第1面の上に設けられた第1トランジスタおよび第2トランジスタと、
前記第1トランジスタに画像信号を供給する周辺回路に設けられた第3トランジスタと、を有し、
前記第1トランジスタのソースおよびドレインのいずれかは、前記第2トランジスタのゲート電極に接続され、
前記第2トランジスタのソースおよびドレインのいずれかは、前記発光素子に接続されている発光装置であって、
前記第1トランジスタは、前記ソース及び前記ドレインの拡散領域に、Halo注入層を有し、前記Halo注入層は、前記拡散領域の極性と逆の極性であることを特徴とする発光装置。
続きを表示(約 1,300 文字)
【請求項2】
前記第2トランジスタは、前記ソース及び前記ドレインの拡散領域に、前記拡散領域の極性と逆の極性であるHalo注入層を有さないことを特徴とする請求項1に記載の発光装置。
【請求項3】
前記第3トランジスタは、前記ソース及び前記ドレインの拡散領域に、Halo注入層を有し、前記Halo注入層は、前記拡散領域の極性と逆の極性であることを特徴とする請求項2に記載の発光装置。
【請求項4】
前記第1トランジスタの前記Halo注入層における不純物濃度のピーク濃度は、前記第3トランジスタの前記Halo注入層における不純物濃度のピーク濃度と異なることを特徴とする請求項3に記載の発光装置。
【請求項5】
前記第1トランジスタの前記Halo注入層における不純物濃度のピーク濃度は、前記第3トランジスタの前記Halo注入層における不純物濃度のピーク濃度よりも高いことを特徴とする請求項4に記載の発光装置。
【請求項6】
前記発光素子に電流を供給する電源と、前記第2トランジスタと、の間に配された第4トランジスタを有し、
前記第4トランジスタは、ソース及びドレインの拡散領域に、Halo注入層を有し、前記Halo注入層は、前記拡散領域の極性と逆の極性であり、
前記第3トランジスタの前記Halo注入層における不純物濃度のピーク濃度は、前記第4トランジスタの前記Halo注入層における不純物濃度のピーク濃度と異なることを特徴とする請求項3に記載の発光装置。
【請求項7】
前記第4トランジスタの前記Halo注入層における不純物濃度のピーク濃度は、前記第3トランジスタの前記Halo注入層における不純物濃度のピーク濃度よりも高いことを特徴とする請求項6に記載の発光装置。
【請求項8】
前記第1トランジスタの前記Halo注入層における不純物濃度のピーク濃度は、前記第4トランジスタの前記Halo注入層における不純物濃度のピーク濃度と同じであることを特徴とする請求項6に記載の発光装置。
【請求項9】
前記第2トランジスタの前記ドレインまたは前記ソースのうち前記発光素子と接続されている端子と、前記発光素子に電流を供給する電源よりも低い電位の端子と、の間に配された第5トランジスタを有し、
前記第5トランジスタは、前記ソース、前記ドレインの拡散領域に、Halo注入層を有し、前記Halo注入層は、前記拡散領域の極性と逆の極性であり、
前記第3トランジスタの前記Halo注入層における不純物濃度のピーク濃度は、前記第5トランジスタの前記Halo注入層における不純物濃度のピーク濃度と異なることを特徴とする請求項3に記載の発光装置。
【請求項10】
前記第5トランジスタの前記Halo注入層における不純物濃度のピーク濃度は、前記第3トランジスタの前記Halo注入層における不純物濃度のピーク濃度よりも高いことを特徴とする請求項9に記載の発光装置。
(【請求項11】以降は省略されています)
発明の詳細な説明
【技術分野】
【0001】
本発明は、発光装置に関するものであり、例えば、発光素子を有する発光装置、それを有する表示装置、電子機器に関する。
続きを表示(約 2,000 文字)
【背景技術】
【0002】
近年、素子に流れる電流に応じた輝度で発光する発光素子をアレイ上に有する表示装置が知られ、有機EL素子などが発光素子として用いられている。これら表示装置はその用途を大きく広げ、用途に応じて高精細化、高機能化が求められている。
【0003】
特許文献1には、有機発光素子の駆動回路における駆動トランジスタのソース、ドレインにおいて、電気抵抗を低減するために、シリサイド層を有する表示装置が記載されている。
【先行技術文献】
【特許文献】
【0004】
特開2020-71323号公報
【発明の概要】
【発明が解決しようとする課題】
【0005】
特許文献1に記載のトランジスタのソース・ドレインにはシリサイド層が配されている。このシリサイド層により、トランジスタの抵抗を低減することができる。しかし、シリサイド層を設けることにより、リーク電流の発生等、発光素子の特性を低下させることもありうる。
【0006】
そこで、本発明は、リーク電流が低減された発光装置を提供することを目的とする。
【課題を解決するための手段】
【0007】
本発明は、発光素子と、シリコン基板の第1面の上に設けられた第1トランジスタおよび第2トランジスタと、前記第1トランジスタに画像信号を供給する周辺回路に設けられた第3トランジスタと、を有し、前記第1トランジスタのソースおよびドレインのいずれかは、前記第2トランジスタのゲート電極に接続され、前記第2トランジスタのソースおよびドレインのいずれかは、前記発光素子に接続されている発光装置であって、
前記第1トランジスタは、前記ソース及び前記ドレインの拡散領域に、Halo注入層を有し、前記Halo注入層は、前記拡散領域の極性と逆の極性であることを特徴とする発光装置を提供する。
【発明の効果】
【0008】
本発明によれば、リーク電流が低減された発光素子を提供することができる。
【図面の簡単な説明】
【0009】
本実施形態に係る発光装置の一例の概略図である。
実施形態1に係る発光装置の画素回路の一例を表す回路図である。
実施形態1に係る発光装置の回路の一例を表す平面図である。
実施形態1に係る発光装置の一例を表す断面図である。
実施形態2に係る発光装置の周辺回路トランジスタの一例を表す平面図である。
実施形態2に係る発光装置の周辺回路トランジスタの一例を表す断面図である。
実施形態3に係る発光装置の一例を表す概略図である。
実施形態3に係る発光装置の画素回路の一例を表す回路図である。
実施形態3に係る発光装置の回路の一例を表す平面図である。
実施形3に係る発光装置の一例を表す断面図である。
実施形態4に係る発光装置の一例を表す概略図である。
実施形態4に係る発光装置の画素回路の一例を表す回路図である。
実施形態4に係る発光装置の回路の一例を表す平面図である。
実施形態4に係る発光装置の一例を表す断面図である。
実施形態5に係る発光装置のインバータ回路の一例を表す回路図である。
実施形態5に係る発光装置のインバータ回路の一例を表す平面図である。
実施形態5に係る発光装置のインバータ回路の一例を表す断面図である。
本発明の一実施形態に係る表示装置の一例を表す模式図である。
(a)は本発明の一実施形態に係る撮像装置の一例を表す模式図であり、(b)は本発明の一実施形態に係る電子機器の一例を表す模式図である。
(a)及び(b)は本発明の一実施形態に係る表示装置の一例を表す模式図である。
本発明の一実施形態に係るウェアラブルデバイスの一例を表す模式図である。
【発明を実施するための形態】
【0010】
本発明の一実施形態に係る発光装置は、発光素子と、シリコン基板の第1面の上に設けられた第1トランジスタおよび第2トランジスタと、前記第1トランジスタに画像信号を供給する周辺回路に設けられた第3トランジスタと、を有し、前記第1トランジスタのソースおよびドレインのいずれかは、前記第2トランジスタのゲート電極に接続され、前記第2トランジスタのソースおよびドレインのいずれかは、前記発光素子に接続されている発光装置であって、
前記第1トランジスタは、前記ソース及び前記ドレインの拡散領域に、Halo注入層を有し、前記Halo注入層は、前記拡散領域の極性と逆の極性であることを特徴とする発光装置である。
(【0011】以降は省略されています)
この特許をJ-PlatPat(特許庁公式サイト)で参照する
関連特許
キヤノン株式会社
トナー
9日前
キヤノン株式会社
トナー
4日前
キヤノン株式会社
トナー
4日前
キヤノン株式会社
トナー
4日前
キヤノン株式会社
定着装置
17日前
キヤノン株式会社
撮像装置
17日前
キヤノン株式会社
表示装置
16日前
キヤノン株式会社
発光装置
16日前
キヤノン株式会社
撮像装置
23日前
キヤノン株式会社
電子機器
13日前
キヤノン株式会社
電子機器
17日前
キヤノン株式会社
記録装置
9日前
キヤノン株式会社
定着装置
3日前
キヤノン株式会社
撮像装置
5日前
キヤノン株式会社
定着装置
23日前
キヤノン株式会社
記録装置
2日前
キヤノン株式会社
撮影装置
2日前
キヤノン株式会社
撮像装置
9日前
キヤノン株式会社
電子機器
17日前
キヤノン株式会社
収容装置
17日前
キヤノン株式会社
撮像装置
24日前
キヤノン株式会社
現像装置
2日前
キヤノン株式会社
電子機器
11日前
キヤノン株式会社
現像装置
2日前
キヤノン株式会社
現像容器
2日前
キヤノン株式会社
現像容器
2日前
キヤノン株式会社
記録装置
24日前
キヤノン株式会社
半導体装置
11日前
キヤノン株式会社
光学センサ
4日前
キヤノン株式会社
モジュール
4日前
キヤノン株式会社
現像剤容器
10日前
キヤノン株式会社
画像形成装置
17日前
キヤノン株式会社
画像形成装置
13日前
キヤノン株式会社
画像形成装置
13日前
キヤノン株式会社
画像形成装置
13日前
キヤノン株式会社
画像形成装置
16日前
続きを見る
他の特許を見る