TOP
|
特許
|
意匠
|
商標
特許ウォッチ
Twitter
他の特許を見る
公開番号
2025145450
公報種別
公開特許公報(A)
公開日
2025-10-03
出願番号
2024045632
出願日
2024-03-21
発明の名称
負極構造体及び二次電池並びにその製造方法
出願人
キヤノン株式会社
,
国立研究開発法人物質・材料研究機構
代理人
弁理士法人秀和特許事務所
主分類
H01M
10/0585 20100101AFI20250926BHJP(基本的電気素子)
要約
【課題】炭素を含有する負極と酸化物系固体電解質層との層間のイオン伝導性に優れる負極構造体及び上記負極構造体を用いた、室温で動作可能な二次電池、並びに上記負極構造体及び上記二次電池の製造方法を提供する。
【解決手段】導電性を有する炭素の同素体を含む負極と、酸化物系固体電解質を含む電解質層と、前記負極と前記電解質層との間に配置されリチウムと合金化する無機材料およびリチウム合金の少なくともいずれかを含む中間層と、前記負極の前記中間層と接する面と反対側の面において前記負極と接合される保護層と、を備え、前記保護層が有する第1の線膨張係数と前記負極が有する第2の線膨張係数との差の絶対値は10.0×10
-6
K
-1
以下であることを特徴とする、負極構造体。
【選択図】なし
特許請求の範囲
【請求項1】
導電性を有する炭素の同素体を含む負極と、
酸化物系固体電解質を含む電解質層と、
前記負極と前記電解質層との間に配置されリチウムと合金化する無機材料およびリチウム合金の少なくともいずれかを含む中間層と、
前記負極の前記中間層と接する面と反対側の面において前記負極と接合される保護層と、を備え、
前記保護層が有する第1の線膨張係数と前記負極が有する第2の線膨張係数との差の絶対値は10.0×10
-6
K
-1
以下であることを特徴とする、
負極構造体。
続きを表示(約 800 文字)
【請求項2】
前記中間層は、金、銀、白金、アルミニウム、錫、インジウム、ゲルマニウム、鉛、亜鉛、アンチモン、マグネシウム、シリコン、カドミウム、ガリウム、テルルおよびビスマスからなる群より選ばれる1種類以上の元素を含む、請求項1に記載の負極構造体。
【請求項3】
前記中間層は、1nm以上500nm以下の厚みを有する、請求項1または2に記載の負極構造体。
【請求項4】
前記中間層は、金、銀、白金、錫、インジウムおよびシリコンからなる群より選ばれる1以上の無機材料を含む、請求項1または2に記載の負極構造体。
【請求項5】
前記中間層は、前記電解質層に接する、請求項1または2に記載の負極構造体。
【請求項6】
前記中間層は、前記負極に接する、請求項1または2に記載の負極構造体。
【請求項7】
前記中間層は、前記電解質層と前記負極との間のイオン輸送抵抗を軽減する、請求項1または2に記載の負極構造体。
【請求項8】
前記保護層のビッカース硬度は、前記電解質層のビッカース硬度より高い、請求項1または2に記載の負極構造体。
【請求項9】
前記第1の線膨張係数は、前記保護層の層厚方向と交差する面内における線膨張係数に対応し、
前記第2の線膨張係数は、前記負極の層厚方向と交差する面内における線膨張係数に対応する、請求項1または2に記載の負極構造体。
【請求項10】
前記第1の線膨張係数は、前記保護層の層厚方向と交差する面内の線膨張係数の方位角方向における平均値に対応し、
前記第2の線膨張係数は、前記負極の層厚方向と交差する面内の線膨張係数の方位角方向における平均値に対応する、請求項1または2に記載の負極構造体。
(【請求項11】以降は省略されています)
発明の詳細な説明
【技術分野】
【0001】
本開示は、負極構造体及び二次電池並びにその製造方法に関する。
続きを表示(約 2,200 文字)
【背景技術】
【0002】
一般に、二次電池は、電極(正極や負極)及び電解質で構成され、電極間で電解質を介したイオンの移動が生じることで、充電や放電を行う。このような二次電池は、携帯電話などの小型機器から電気自動車などの大型機器まで、幅広い用途で使用されている。
【0003】
グラファイトからなる負極を用いたリチウムイオン二次電池としては、有機電解液を用いたリチウムイオン二次電池、および硫化物固体電解質を用いた硫化物型全固体リチウムイオン二次電池がある。有機電解液は、多孔なグラファイト負極層へ浸み込むことで、グラファイト負極活物質粒子と広い反応面積で接合することができる。また、硫化物固体電解質も、固体電解質粒子とグラファイト負極活物質粒子の混合体をコールドプレスすることで、容易に電解質粒子間の接合並びに電解質と活物質粒子間の接合を取ることができる。
【0004】
これらに対し、大気安定性の高い酸化物型全固体リチウムイオン二次電池は、特許文献1および非特許文献1に開示されているように、固体電解質粒子間並びに固体電解質と活物質粒子間の接合を高温焼結によって作製される。しかしながら、難焼結性のグラファイトは、焼結が困難であるため、圧着などの他の方法で固体電解質と活物質粒子間の接合を取る必要があり、低抵抗で室温動作が可能な負極を作製することは困難である。
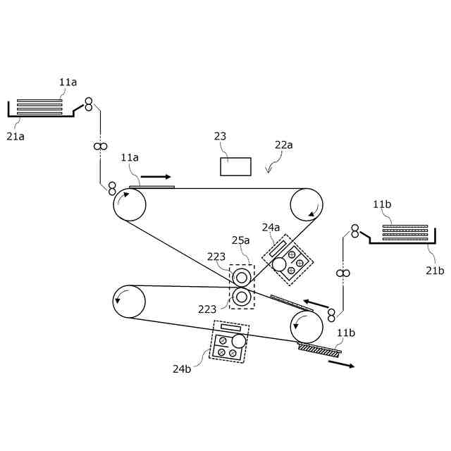
負極の抵抗を低下させる方法として特許文献2のように、炭素材料等の負極活物質粒子を薄層で配列する技術が知られている。特許文献2によれば、異なる種類の粒子を任意の場所に配置することができるため、面内方向・面直方向に効果的なイオン伝導や電子伝導のパスを作製可能である。また、粒子の略一層分の厚みからなるため、積層することにより3次元的にイオン伝導、電子伝導パスを形成できる。このような構造の電極とすることで、電極内部の抵抗を低減することが可能である。
【先行技術文献】
【特許文献】
【0005】
特開2018-156908号公報
特開2019-137060号公報
【非特許文献】
【0006】
Martin Finsterbusch, Timo Danner, Chin-Long Tsai, Sven Uhlenbruck, Arnulf Latz, and Olivier Guillon, ACS Appl. Mater. Interfaces 2018, 10, 22329-22339.
Narumi Ohta, Shin Kimura, Junichi Sakabe, Kazutaka Mitsuishi,Tsuyoshi Ohnishi, and Kazunori Takada, ACS Appl. Energy Mater. 2019,2, 7005-7008.
【発明の概要】
【発明が解決しようとする課題】
【0007】
特許文献2に記載の方法によれば、粒子層内でのリチウムイオン伝導や電子伝導はスム
ーズとなるが、酸化物系固体電解質層と接合した場合においては、低抵抗化が十分でないことがある。抵抗の高い負極は、電池の内部抵抗が高まりやすく、十分な充放電特性を得られない場合がある。
上述したように、黒鉛等の炭素粒子を用いた負極と酸化物系固体電解質とを接合した二次電池において、イオン伝導の抵抗が高くなり、十分な電池性能が得られないことがある。これは、負極の炭素粒子と酸化物系固体電解質の界面との接合が十分取れていないために、リチウムイオン伝導が阻害され、界面抵抗が大きくなっているためと考えられる。また、内部抵抗の高い二次電池は室温での動作が不十分となりやすい。
【0008】
本開示は、炭素を含有する負極と酸化物系固体電解質層との層間のイオン伝導性に優れる負極構造体を提供する。また、上記負極構造体を用いた、室温で動作可能な二次電池を提供する。さらに、上記負極構造体及び上記二次電池の製造方法を提供する。
【課題を解決するための手段】
【0009】
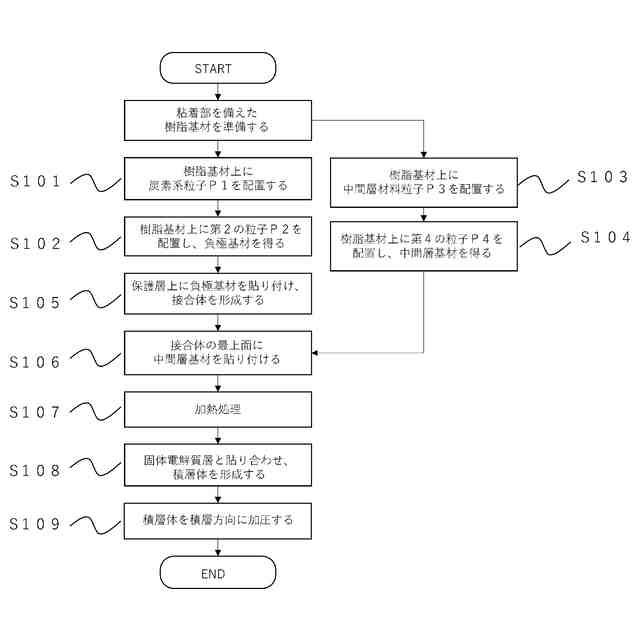
本開示の少なくとも一つの態様によれば、
導電性を有する炭素の同素体を含む負極と、
酸化物系固体電解質を含む電解質層と、
前記負極と前記電解質層との間に配置されリチウムと合金化する無機材料およびリチウム合金の少なくともいずれかを含む中間層と、
前記負極の前記中間層と接する面と反対側の面において前記負極と接合される保護層と、を備え、
前記保護層が有する第1の線膨張係数と前記負極が有する第2の線膨張係数との差の絶対値は10.0×10
-6
K
-1
以下であることを特徴とする、負極構造体が提供される。
【0010】
また、本開示の少なくとも一つの態様によれば、上記負極構造体と、前記電解質層を挟んで前記中間層と反対側に、正極活物質を含む正極と、を備える二次電池が提供される。
さらに、本開示の少なくとも一つの態様によれば、上記負極構造体及び上記二次電池の製造方法が提供される。
【発明の効果】
(【0011】以降は省略されています)
この特許をJ-PlatPat(特許庁公式サイト)で参照する
関連特許
キヤノン株式会社
トナー
今日
キヤノン株式会社
トナー
1か月前
キヤノン株式会社
撮像装置
28日前
キヤノン株式会社
撮像装置
15日前
キヤノン株式会社
収容装置
8日前
キヤノン株式会社
現像装置
1か月前
キヤノン株式会社
撮像装置
25日前
キヤノン株式会社
光学装置
28日前
キヤノン株式会社
電子機器
1か月前
キヤノン株式会社
電子機器
28日前
キヤノン株式会社
表示装置
7日前
キヤノン株式会社
定着装置
23日前
キヤノン株式会社
発光装置
7日前
キヤノン株式会社
記録装置
今日
キヤノン株式会社
電子機器
4日前
キヤノン株式会社
記録装置
15日前
キヤノン株式会社
撮像装置
14日前
キヤノン株式会社
電子機器
25日前
キヤノン株式会社
撮像装置
16日前
キヤノン株式会社
定着装置
8日前
キヤノン株式会社
定着装置
23日前
キヤノン株式会社
定着装置
23日前
キヤノン株式会社
撮像装置
今日
キヤノン株式会社
定着装置
14日前
キヤノン株式会社
撮像装置
8日前
キヤノン株式会社
電子機器
16日前
キヤノン株式会社
電子機器
8日前
キヤノン株式会社
電子機器
8日前
キヤノン株式会社
電子機器
23日前
キヤノン株式会社
記録装置
16日前
キヤノン株式会社
電子機器
2日前
キヤノン株式会社
現像剤容器
1日前
キヤノン株式会社
半導体装置
2日前
キヤノン株式会社
画像処理装置
1日前
キヤノン株式会社
画像形成装置
4日前
キヤノン株式会社
表示システム
1日前
続きを見る
他の特許を見る