TOP
|
特許
|
意匠
|
商標
特許ウォッチ
Twitter
他の特許を見る
10個以上の画像は省略されています。
公開番号
2025144789
公報種別
公開特許公報(A)
公開日
2025-10-03
出願番号
2024044636
出願日
2024-03-21
発明の名称
プログラム、情報処理装置の制御方法、情報処理装置
出願人
キヤノン株式会社
代理人
個人
主分類
H04N
1/00 20060101AFI20250926BHJP(電気通信技術)
要約
【課題】ユーザに光量調整機能を利用させることができるプログラムを提供する。
【解決手段】拡張アプリケーション204は、スキャン装置102に接続されたホストコンピュータ101にインストールされている。拡張アプリケーション204は、スキャン処理における光量の設定を受け付ける詳細設定画面305bを表示部119に表示させる。また、拡張アプリケーション204は、詳細設定画面305bで設定された調整レベルに対応する光量でスキャン処理をスキャン装置102に実行させるためのスキャン指示コマンドを出力する。
【選択図】図3
特許請求の範囲
【請求項1】
複数のメーカーのスキャナに対して共通して使用可能な汎用プログラムをサポートするプログラムであって、
前記プログラムがインストールされた情報処理装置に、
スキャン処理における光量の設定を受け付ける設定画面を前記情報処理装置の表示手段に表示する工程と、
前記設定画面で受け付けた前記光量の設定でスキャン処理をスキャナに実行させるためのコマンドを出力する工程とを実行させることを特徴するプログラム。
続きを表示(約 1,100 文字)
【請求項2】
前記設定画面では、対応する光量が異なる複数の設定値の中から1つの設定値がユーザによって設定されることを特徴とする請求項1に記載のプログラム。
【請求項3】
前記設定画面では、予め決められた所定の光量を基準とした比率を示す数値がユーザによって設定されることを特徴とする請求項1に記載のプログラム。
【請求項4】
前記設定画面では、光量を示す数値がユーザによって設定されることを特徴とする請求項1に記載のプログラム。
【請求項5】
前記プログラムがインストールされた情報処理装置に、
前記設定画面で受け付けた前記光量の設定でスキャン処理をスキャナに実行させるためのコマンドを作成する工程を更に実行させることを特徴とする請求項1に記載のプログラム。
【請求項6】
前記コマンドは、標準プロトコルに則ったコマンドに機能を拡張して作成されたコマンドであることを特徴とする請求項5に記載のプログラム。
【請求項7】
前記コマンドは、標準プロトコルに則ったコマンドを前記プログラムの独自のコマンド体系に変換されたコマンドであることを特徴とする請求項5に記載のプログラム。
【請求項8】
前記作成する工程では、標準プロトコルに則った第1のコマンドと、前記スキャン処理における光量の設定を含む第2のコマンドとが作成されることを特徴とする請求項5に記載のプログラム。
【請求項9】
前記プログラムがインストールされた情報処理装置に、
前記汎用プログラムによって作成されたコマンドであってスキャン処理をスキャナに実行させるためのコマンドを編集する工程を更に実行させ、
前記編集する工程では、前記汎用プログラムによって作成されたコマンドであってスキャン処理をスキャナに実行させるためのコマンドに、前記設定画面で受け付けた前記光量の設定が追加されることを特徴とする請求項1に記載のプログラム。
【請求項10】
前記プログラムがインストールされた情報処理装置に、
前記情報処理装置に接続されたスキャナの能力情報を取得する工程を実行させ、
前記表示する工程では、当該スキャナがスキャン処理における光量を調整する機能をサポートしていることを示す情報が前記取得した能力情報に含まれる場合、前記設定画面が前記情報処理装置の表示手段に表示され、前記サポートしていることを示す情報が前記取得した能力情報に含まれない場合、前記スキャン処理における光量の設定項目を含まない他の設定画面が前記情報処理装置の表示手段に表示されることを特徴とする請求項1に記載のプログラム。
(【請求項11】以降は省略されています)
発明の詳細な説明
【技術分野】
【0001】
本発明は、プログラム、情報処理装置の制御方法、情報処理装置に関する。
続きを表示(約 2,400 文字)
【背景技術】
【0002】
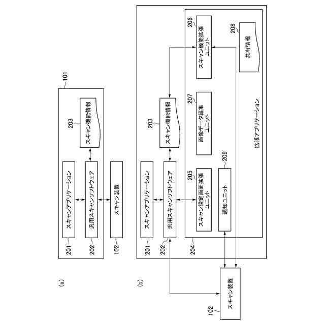
スキャン装置の制御用ソフトウェアとしてホストコンピュータにインストールされたスキャンドライバを利用し、ホストコンピュータに接続されたスキャン装置に対してスキャン処理の実行を指示する構成が知られている。ホストコンピュータには、基本ソフトウェアであるオペレーティングシステム(OS)がインストールされており、スキャンドライバはそのOSが規定する仕様に従って構成され、OSから呼び出されて動作する。スキャン装置を提供するメーカーは、OSの仕様に適合するスキャンドライバを提供することにより、そのOSを用いてスキャン装置にスキャン処理の実行を指示する手段を提供することができる。
【0003】
ところで、Windows(登録商標)において、複数のメーカーのスキャン装置に対して共通して使用可能な標準的なクラスドライバ(以下、「標準ドライバ」とも呼ぶ。)が提供されようとしている。このような標準ドライバは、OSのパッケージの中に同梱されており、ホストコンピュータに任意のスキャン装置を接続することにより簡易に利用可能となる。よって、スキャン装置に適した機種固有のスキャンドライバを別途インストールする必要が無く、利便性が高い。また、標準ドライバは、ホストコンピュータに接続されたスキャン装置のスキャン機能情報に基づいてスキャン機能を指定可能に構成されることが想定される。これにより、標準ドライバを利用するユーザは、1つの標準ドライバを利用しているにも関わらず、ホストコンピュータに接続されたスキャン装置の能力に応じたスキャン機能を指定することができる。しかしながら、これは標準ドライバのみで実現可能な機能に留まるため、メーカー独自の機能を指定できない。これに対し、メーカー独自の機能を利用させる技術として、特許文献1の技術が提案されている。特許文献1には、汎用のソフトウェアの印刷機能を拡張するプログラムについて開示されている。
【先行技術文献】
【特許文献】
【0004】
特開2021-033526号公報
【発明の概要】
【発明が解決しようとする課題】
【0005】
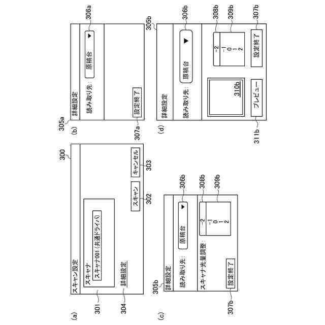
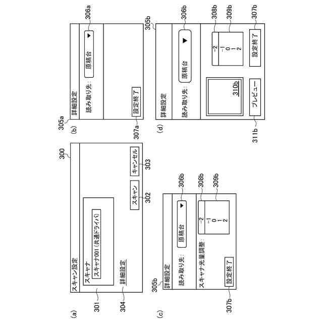
ここで、メーカー独自の機能としてスキャン装置の光量調整機能がある。光量調整機能は、スキャン装置がスキャン処理を実行するときの光量を調整する機能である。光量調整機能を用いて原稿を暗くスキャンすると、修正液や修正テープによる原稿の修正痕を視認できる状態の画像データを取得することができる。また、光量調整機能を用いて原稿を明るくスキャンすると、修正痕等を飛ばした画像データを取得することができる。
【0006】
しかしながら、標準ドライバは光量調整機能をサポートしていないため、標準ドライバを用いてスキャン装置にスキャン処理の実行を指示するホストコンピュータは、ユーザに光量調整機能を利用させることができない。
【0007】
本発明は、ユーザに光量調整機能を利用させることができるプログラム、情報処理装置の制御方法、情報処理装置を提供することを目的とする。
【課題を解決するための手段】
【0008】
上記目的を達成するために、本発明のプログラムは、複数のメーカーのスキャナに対して共通して使用可能な汎用プログラムをサポートするプログラムであって、前記プログラムがインストールされた情報処理装置に、スキャン処理における光量の設定を受け付ける設定画面を前記情報処理装置の表示手段に表示する工程と、前記設定画面で受け付けた前記光量の設定でスキャン処理をスキャナに実行させるためのコマンドを出力する工程とを実行させることを特徴する。
【発明の効果】
【0009】
本発明によれば、ユーザに光量調整機能を利用させることができる。
【図面の簡単な説明】
【0010】
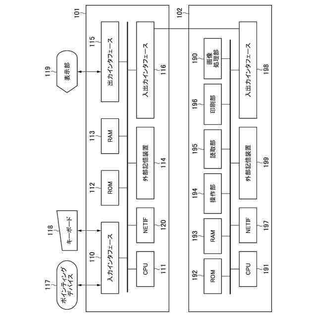
本実施の形態に係る通信システムのハードウェア構成を概略的に示すブロック図である。
図1のホストコンピュータがスキャン装置にスキャン処理の実行を指示するためのソフトウェア構成を模式的に示すブロック図である。
図1の表示部に表示される画面の一例を示す図である。
図2(b)のスキャン機能拡張ユニットによって実行される編集制御処理の手順を示すフローチャートである。
図2(b)のスキャン機能拡張ユニットによって使用される各種情報の一例を示す図である。
図1の通信システムにおいて実行されるスキャン制御処理の手順を示すシーケンス図である。
図2の拡張アプリケーションによって実行されるスキャン指示コマンド生成処理の手順を示すフローチャートである。
図1のスキャン装置によって実行される制御処理の手順を示すフローチャートである。
第2の実施の形態の通信システムにおいて実行されるスキャン制御処理の手順を示すシーケンス図である。
第3の実施の形態の通信システムにおいて実行されるスキャン制御処理の手順を示すシーケンス図である。
第3の実施の形態の拡張アプリケーションによって実行されるスキャン指示コマンド生成処理の手順を示すフローチャートである。
第4の実施の形態の特徴を説明するための図である。
第5の実施の形態のホストコンピュータがスキャン装置から取得した能力情報の一覧の一例を示す図である。
第5の実施の形態の拡張アプリケーションによって実行されるスキャン指示コマンド生成処理の手順を示すフローチャートである。
第5の実施の形態のホストコンピュータの表示部に表示される画面の一例を示す図である。
【発明を実施するための形態】
(【0011】以降は省略されています)
この特許をJ-PlatPat(特許庁公式サイト)で参照する
関連特許
キヤノン株式会社
トナー
1か月前
キヤノン株式会社
トナー
4日前
キヤノン株式会社
電子機器
1か月前
キヤノン株式会社
記録装置
19日前
キヤノン株式会社
収容装置
12日前
キヤノン株式会社
撮像装置
1か月前
キヤノン株式会社
撮像装置
4日前
キヤノン株式会社
表示装置
11日前
キヤノン株式会社
発光装置
11日前
キヤノン株式会社
電子機器
8日前
キヤノン株式会社
電子機器
29日前
キヤノン株式会社
記録装置
4日前
キヤノン株式会社
撮像装置
18日前
キヤノン株式会社
現像装置
1か月前
キヤノン株式会社
撮像装置
19日前
キヤノン株式会社
定着装置
12日前
キヤノン株式会社
電子機器
27日前
キヤノン株式会社
記録装置
20日前
キヤノン株式会社
電子機器
20日前
キヤノン株式会社
撮像装置
20日前
キヤノン株式会社
撮像装置
1か月前
キヤノン株式会社
定着装置
27日前
キヤノン株式会社
定着装置
27日前
キヤノン株式会社
電子機器
6日前
キヤノン株式会社
定着装置
27日前
キヤノン株式会社
撮像装置
1か月前
キヤノン株式会社
電子機器
1か月前
キヤノン株式会社
撮像装置
29日前
キヤノン株式会社
定着装置
18日前
キヤノン株式会社
光学装置
1か月前
キヤノン株式会社
撮像装置
12日前
キヤノン株式会社
電子機器
12日前
キヤノン株式会社
撮像装置
今日
キヤノン株式会社
電子機器
12日前
キヤノン株式会社
容器構造体
1か月前
キヤノン株式会社
現像剤容器
5日前
続きを見る
他の特許を見る