TOP
|
特許
|
意匠
|
商標
特許ウォッチ
Twitter
他の特許を見る
公開番号
2025147049
公報種別
公開特許公報(A)
公開日
2025-10-03
出願番号
2025130471,2024151204
出願日
2025-08-05,2022-05-12
発明の名称
識別装置
出願人
キヤノン株式会社
代理人
個人
,
個人
,
個人
,
個人
,
個人
主分類
G01N
21/65 20060101AFI20250926BHJP(測定;試験)
要約
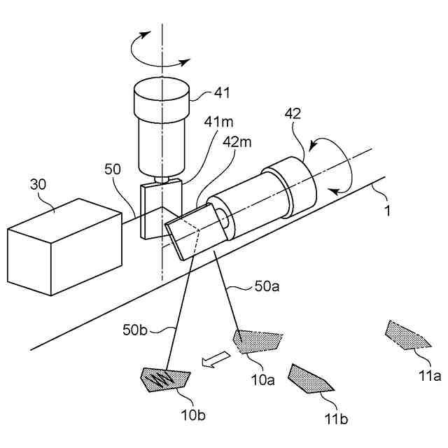
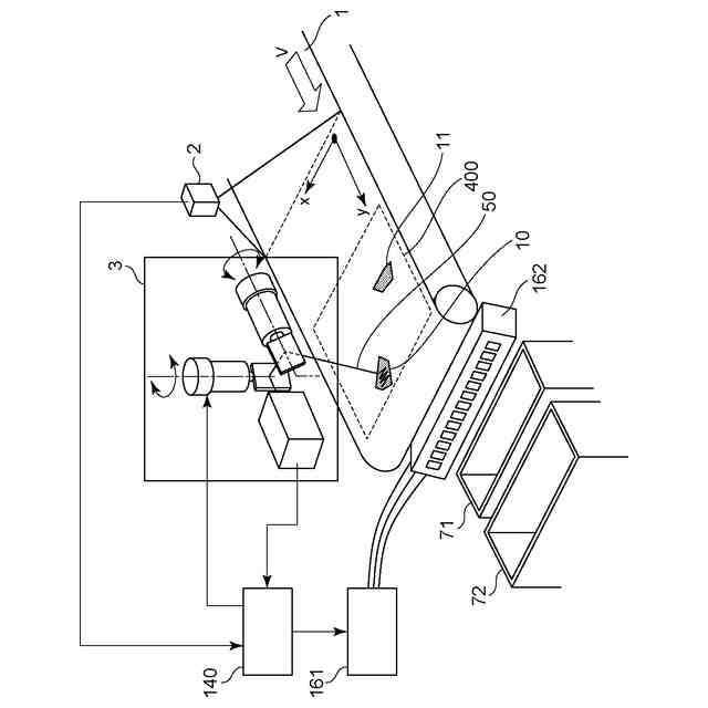
【課題】 高S/Nと高スループットを両立した識別装置を提供する。
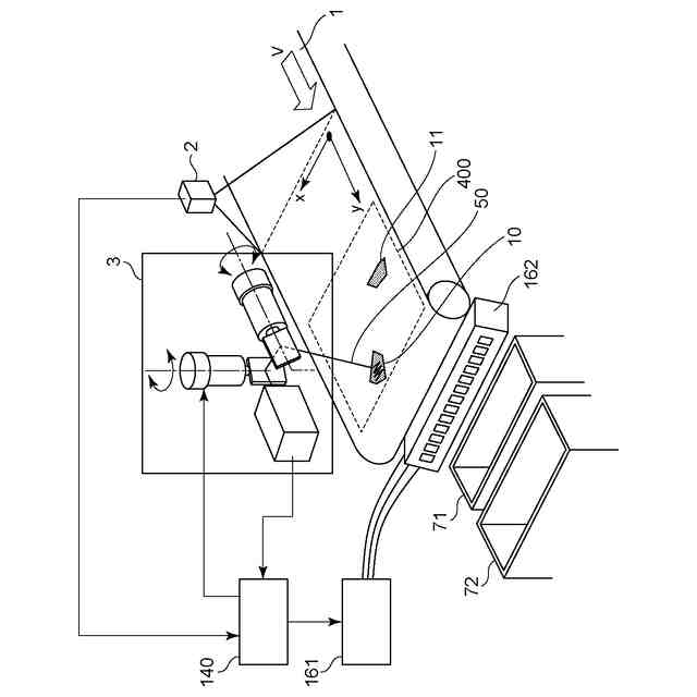
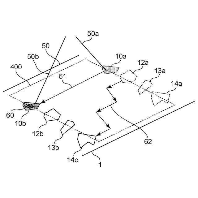
【解決手段】 物体の種類を識別する識別装置であって、物体を照明する照明部と、照明された物体からの反射光を測定するセンサと、センサによる測定結果に基づいて物体の種類を識別する処理部と、を有し、照明部は、物体を照明する照明光を走査する走査部と、走査部を制御する制御部と、を有し、制御部は、移動する物体を照明光が追従し、かつ、物体の表面上における照明光の位置を変化させるように、物体の位置に基づいて走査部を制御する。
【選択図】 図1
特許請求の範囲
【請求項1】
物体の種類を識別する識別装置であって、
前記物体を照明する照明部と、
照明された前記物体からの反射光を測定するセンサと、
前記センサによる測定結果に基づいて前記物体の種類を識別する処理部と、を有し、
前記照明部は、前記物体を照明する照明光を走査する走査部と、前記走査部を制御する制御部と、を有し、
前記制御部は、移動する前記物体を前記照明光が追従し、かつ、前記物体の表面上における前記照明光の位置を変化させるように、前記物体の位置に基づいて前記走査部を制御することを特徴とする識別装置。
続きを表示(約 810 文字)
【請求項2】
移動している前記物体を測定している間、前記照明光が前記物体の表面上において1点に留まらないように前記走査部を制御することを特徴とする請求項1に記載の識別装置。
【請求項3】
前記走査部は、前記物体の移動方向に前記照明光を走査しながら、前記移動方向に対して垂直な方向に前記照明光を走査することを特徴とする請求項1に記載の識別装置。
【請求項4】
前記制御部は、前記物体の情報に基づいて前記照明光の走査条件を変更するように前記走査部を制御することを特徴とする請求項1に記載の識別装置。
【請求項5】
前記制御部は、前記照明光の走査可能範囲において物体が複数存在した場合に、物体の情報に基づいて、測定対象の物体を決定することを特徴とする請求項1に記載の識別装置。
【請求項6】
前記物体の情報は、測定された前記物体の明度又は大きさを含むことを特徴とする請求項5に記載の識別装置。
【請求項7】
前記処理部は、事前に前記センサによって試料を測定して得られるデータを用いて前記物体の種類を識別することを特徴とする請求項1に記載の識別装置。
【請求項8】
移動する前記物体の位置又は速度を測定する測定部を有し、
前記制御部は、前記照明部が前記物体を照明している間に前記測定部によって測定された前記物体の位置又は速度に基づいて前記走査部を制御することを特徴とする請求項1に記載の識別装置。
【請求項9】
前記センサは、前記照明部により照明された前記物体からの散乱光を分光する分光部を有することを特徴とする請求項1に記載の識別装置。
【請求項10】
前記識別装置は、前記物体として樹脂の種類を識別することを特徴とする請求項1に記載の識別装置。
(【請求項11】以降は省略されています)
発明の詳細な説明
【技術分野】
【0001】
本発明は、物体の種類を識別する識別装置に関する。
続きを表示(約 1,400 文字)
【背景技術】
【0002】
従来から自動車や電化製品などの構造部品や外装部品には量産性や部品コストの観点から樹脂成型部品が多用されている。近年の産業界では環境に配慮する必要に迫られ、これらの樹脂成型部品もリサイクルされ再利用されている。従来のリサイクルにおいては廃自動車や廃家電は様々なリサイクル工程で鉄やアルミなどを回収した後、10~100mm程度の大きさまで破砕され、様々な種類のプラスチックを含む残渣物として回収される。
最終的には燃料として燃やされるサーマルリサイクルとして再利用されることが多い。
【0003】
これらの残渣物としてのプラスチックを再び樹脂成型部品の材料として利用する水平リサイクルをする試みも進められ、様々なプラスチックを含む残渣物から特定の種類のプラスチックを識別し選別する樹脂識別装置が開発されている。
【0004】
光を照射して非接触で樹脂種を特定する測定方法として、ラマン散乱を利用して樹脂種を特定する以下のような技術が開示されている。
【0005】
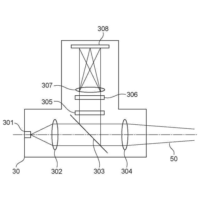
特許文献1には、ベルトコンベア上を流れる樹脂をラマン分光法で計測する際に照明光を平行移動させることで、樹脂を破損または変性させることなく強いラマン散乱信号を得ることが可能な樹脂識別装置が開示されている。励起用レーザ光の照射中に、励起用のレーザ光の対象物上のスポット径以上の範囲、好ましくはスポット径の2倍~3倍以上の範囲で、採光光学系を載置台の上面に対して平行移動させる。そうすることで、対象物の1か所に励起用レーザ光が集中して照射されることが無く、対象物が破損または変質することのない樹脂識別装置となっている。
【先行技術文献】
【特許文献】
【0006】
特開2013‐36971号公報
【発明の概要】
【発明が解決しようとする課題】
【0007】
特許文献1では、高出力のレーザを照射しても樹脂を変性させることなくラマン計測による樹脂種別の識別が可能である。一般的にはラマン計測では非常に微弱な信号を計測する必要が有り、識別装置として構成するには高出力のレーザ光源を必要とする。しかし、装置搭載可能な安価なLDを光源として考えると、LD出力には限りが有る為、S/Nを向上させる必要がある。S/Nの高いラマン信号を得る為に、例えば、ベルト速度を落として、センサでの露光時間をより長くして信号強度を上げる、繰り返し平均でノイズを低減して計測する。
【0008】
一方、リサイクル工程において樹脂の残渣物は1t/hや2t/hと大量に発生することから、識別処理のスループットを上げることが要求され、ベルトコンベアの速度を大きくすることが望ましい。スループットの要求からベルトコンベアの速度を上げると、照明光直下をサンプルが存在する時間は短くなるのでラマン計測のための分光器の露光時間を確保することが出来ない、あるいは、繰り返し平均の回数が確保できない為、S/Nの確保は難しい。
【0009】
以上のように高S/Nと高スループットを両立して樹脂の選別をすることは難しいという問題が有った。
【0010】
そこで、本発明は、高S/Nと高スループットを両立した識別装置を提供することを目的とする。
【課題を解決するための手段】
(【0011】以降は省略されています)
この特許をJ-PlatPat(特許庁公式サイト)で参照する
関連特許
キヤノン株式会社
トナー
今日
キヤノン株式会社
電子機器
8日前
キヤノン株式会社
電子機器
2日前
キヤノン株式会社
収容装置
8日前
キヤノン株式会社
定着装置
8日前
キヤノン株式会社
記録装置
今日
キヤノン株式会社
表示装置
7日前
キヤノン株式会社
発光装置
7日前
キヤノン株式会社
定着装置
14日前
キヤノン株式会社
電子機器
4日前
キヤノン株式会社
撮像装置
今日
キヤノン株式会社
電子機器
8日前
キヤノン株式会社
撮像装置
8日前
キヤノン株式会社
現像剤容器
1日前
キヤノン株式会社
半導体装置
2日前
キヤノン株式会社
画像形成装置
8日前
キヤノン株式会社
画像形成装置
8日前
キヤノン株式会社
画像形成装置
8日前
キヤノン株式会社
画像処理装置
1日前
キヤノン株式会社
表示システム
1日前
キヤノン株式会社
画像形成装置
1日前
キヤノン株式会社
画像形成装置
2日前
キヤノン株式会社
画像形成装置
1日前
キヤノン株式会社
画像形成装置
1日前
キヤノン株式会社
画像形成装置
7日前
キヤノン株式会社
画像形成装置
7日前
キヤノン株式会社
画像形成装置
7日前
キヤノン株式会社
画像形成装置
4日前
キヤノン株式会社
画像形成装置
4日前
キヤノン株式会社
画像形成装置
4日前
キヤノン株式会社
画像形成装置
4日前
キヤノン株式会社
画像形成装置
4日前
キヤノン株式会社
映像表示装置
4日前
キヤノン株式会社
画像形成装置
4日前
キヤノン株式会社
画像形成装置
4日前
キヤノン株式会社
画像形成装置
4日前
続きを見る
他の特許を見る