TOP
|
特許
|
意匠
|
商標
特許ウォッチ
Twitter
他の特許を見る
10個以上の画像は省略されています。
公開番号
2025145319
公報種別
公開特許公報(A)
公開日
2025-10-03
出願番号
2024045428
出願日
2024-03-21
発明の名称
シート搬送装置及び画像形成装置
出願人
キヤノン株式会社
代理人
弁理士法人近島国際特許事務所
主分類
B65H
9/16 20060101AFI20250926BHJP(運搬;包装;貯蔵;薄板状または線条材料の取扱い)
要約
【課題】シートの位置ずれの補正精度を向上させる。
【解決手段】シート搬送装置は、駆動ローラと、駆動ローラの回転軸線の傾き角を変更するステアリング手段と、駆動ローラの傾き角の変化に追従して旋回軸線の周りで旋回するように構成された従動ローラと、駆動ローラ及び従動ローラを当接状態と離間状態とに切り替える当接離間機構と、従動ローラの振動を検知するための第1検知手段と、シートの位置ずれを検知するための第2検知手段と、シートの位置ずれを補正する補正動作を実行する制御手段と、を備え、制御手段は、駆動ローラ及び従動ローラを離間状態から当接状態に切り替えた後で且つ旋回方向における従動ローラの振動が所定範囲内に収束した後に補正動作を開始するための所定の処理を、第1検知手段の検知結果に基づいて実行する。
【選択図】図13
特許請求の範囲
【請求項1】
駆動力を受けて回転する駆動ローラと、
シート搬送方向と直交するシート幅方向に対する前記駆動ローラの回転軸線の傾き角を変更するステアリング手段と、
前記駆動ローラと共にシートを挟持して搬送する従動ローラであって、前記駆動ローラの傾き角の変化に追従して前記シート搬送方向及び前記シート幅方向の双方と交差する旋回軸線の周りで旋回するように構成された従動ローラと、
前記駆動ローラ及び前記従動ローラを、前記駆動ローラ及び前記従動ローラが当接する当接状態と、前記駆動ローラ及び前記従動ローラが離間する離間状態と、に切り替える当接離間機構と、
前記旋回軸線の周りの旋回方向における前記従動ローラの振動を検知するための第1検知手段と、
前記シートの位置ずれを検知するための第2検知手段と、
前記第2検知手段の検知結果に基づいて前記シートの位置ずれを補正する補正動作を実行する制御手段と、
を備え、
前記制御手段は、前記駆動ローラ及び前記従動ローラを前記離間状態から前記当接状態に切り替えた後で且つ前記旋回方向における前記従動ローラの振動が所定範囲内に収束した後に前記補正動作を開始するための所定の処理を、前記第1検知手段の検知結果に基づいて実行する、
ことを特徴とするシート搬送装置。
続きを表示(約 1,700 文字)
【請求項2】
前記制御手段は、前記従動ローラの振動が収束した後に前記第2検知手段に前記シートの位置ずれを検知させた検知結果に基づいて前記補正動作を実行する、
ことを特徴とする請求項1に記載のシート搬送装置。
【請求項3】
前記補正動作は、第2補正動作であり、
前記制御手段は、前記駆動ローラ及び前記従動ローラを用いて前記シートの位置ずれを補正する第1補正動作を前記第2補正動作よりも前に実行し、
前記制御手段は、前記駆動ローラ及び前記従動ローラを前記離間状態から前記当接状態に切り替えた後で且つ前記旋回方向における前記従動ローラの振動が収束する前に前記第1補正動作を開始する、
ことを特徴とする請求項1に記載のシート搬送装置。
【請求項4】
前記補正動作は、第2補正動作であり、
前記制御手段は、前記駆動ローラ及び前記従動ローラを用いて前記シートの位置ずれを補正する第1補正動作を前記第2補正動作よりも前に実行し、
前記所定の処理は、複数枚のシートを連続的に搬送するジョブの実行中に、今回のシートに対する前記第2補正動作を開始する前に前記従動ローラの振動が収束しなかった場合に、前記今回のシートよりも後に搬送される後続シートに対する前記第1補正動作の終了タイミングが早くなるように前記第1補正動作の実行条件を変更する処理である、
ことを特徴とする請求項1に記載のシート搬送装置。
【請求項5】
前記制御手段は、前記所定の処理により、前記第1補正動作において前記ステアリング手段によって前記駆動ローラの前記回転軸線を傾ける期間を短くする、
ことを特徴とする請求項4に記載のシート搬送装置。
【請求項6】
前記駆動ローラを第1駆動ローラとして、
前記シート搬送装置は、前記シート幅方向において前記第1駆動ローラと並んで配置された第2駆動ローラであって、前記第1駆動ローラとは独立して搬送速度を制御される第2駆動ローラを更に備え、
前記制御手段は、前記所定の処理により、前記第1補正動作において前記第1駆動ローラと前記第2駆動ローラの間に搬送速度差を生じさせる期間を短くする、
ことを特徴とする請求項4に記載のシート搬送装置。
【請求項7】
前記シートの位置ずれを検知するための第3検知手段と、
前記シート搬送方向において前記第3検知手段よりも上流に配置された、前記シートの位置ずれを検知するための第4検知手段と、
を更に備え、
前記制御手段は、前記所定の処理により、検知結果が前記第1補正動作に用いられる検知手段を前記第3検知手段から前記第4検知手段に変更する、
ことを特徴とする請求項4に記載のシート搬送装置。
【請求項8】
前記所定の処理は、前記第1検知手段の検知結果に基づいて前記従動ローラの振動が収束したか否かを判定し、前記従動ローラの振動が前記所定範囲内に収束したと判定した場合に前記補正動作の開始を許容する判定処理である、
ことを特徴とする請求項1に記載のシート搬送装置。
【請求項9】
前記補正動作は、第2補正動作であり、
前記制御手段は、前記シートの位置ずれを補正する第1補正動作を前記第2補正動作の前に実行し、
前記制御手段は、前記第1補正動作の終了から所定時間が経過した場合は、前記従動ローラの振動が前記所定範囲内に収束したと判定したか否か関わらず前記第2補正動作の開始を許容する、
ことを特徴とする請求項8に記載のシート搬送装置。
【請求項10】
前記制御手段は、前記旋回方向における前記従動ローラの角度と前記駆動ローラの傾き角との差が、所定期間を通じて前記所定範囲内に収まっている場合に、前記従動ローラの振動が収束したと判定する、
ことを特徴とする請求項1に記載のシート搬送装置。
(【請求項11】以降は省略されています)
発明の詳細な説明
【技術分野】
【0001】
本発明は、シートを搬送するシート搬送装置、及びシートに画像を形成する画像形成装置に関する。
続きを表示(約 2,100 文字)
【背景技術】
【0002】
特許文献1には、第1斜行補正部で用紙の斜行量を粗調整した後、第2斜行補正部で用紙の斜行量を微調整するシート搬送装置が記載されている。特許文献2には、挟持ローラ対を保持する保持部材の幅方向へのスライド及び保持部材の回動により、挟持ローラ対に挟持されたシートについて幅方向及び回転方向の位置ずれ制御を行う搬送装置が記載されている。
【先行技術文献】
【特許文献】
【0003】
特開2013-252918号公報
特開2018-199572号公報
【発明の概要】
【発明が解決しようとする課題】
【0004】
シートの位置ずれ(回転方向の位置ずれである斜行を含む)を補正する機構として、回転軸線の傾きを変更可能な駆動ローラと、駆動ローラに追従して旋回可能な従動ローラとを有し、駆動ローラと従動ローラが当接及び離間する構成が検討された。しかしながら、駆動ローラ及び従動ローラを当接させた際に旋回方向における従動ローラの振動が発生することで、位置ずれの補正精度が低下する可能性があった。
【0005】
そこで、本発明は、シートの位置ずれの補正精度を向上させることが可能なシート搬送装置及び画像形成装置を提供することを目的とする。
【課題を解決するための手段】
【0006】
本発明の一態様は、駆動力を受けて回転する駆動ローラと、シート搬送方向と直交するシート幅方向に対する前記駆動ローラの回転軸線の傾き角を変更するステアリング手段と、前記駆動ローラと共にシートを挟持して搬送する従動ローラであって、前記駆動ローラの傾き角の変化に追従して前記シート搬送方向及び前記シート幅方向の双方と交差する旋回軸線の周りで旋回するように構成された従動ローラと、前記駆動ローラ及び前記従動ローラを、前記駆動ローラ及び前記従動ローラが当接する当接状態と、前記駆動ローラ及び前記従動ローラが離間する離間状態と、に切り替える当接離間機構と、前記旋回軸線の周りの旋回方向における前記従動ローラの振動を検知するための第1検知手段と、前記シートの位置ずれを検知するための第2検知手段と、前記第2検知手段の検知結果に基づいて前記シートの位置ずれを補正する補正動作を実行する制御手段と、を備え、前記制御手段は、前記駆動ローラ及び前記従動ローラを前記離間状態から前記当接状態に切り替えた後で且つ前記旋回方向における前記従動ローラの振動が所定範囲内に収束した後に前記補正動作を開始するための所定の処理を、前記第1検知手段の検知結果に基づいて実行する、ことを特徴とするシート搬送装置である。
【発明の効果】
【0007】
本発明によれば、シートの位置ずれの補正精度を向上させることが可能なシート搬送装置及び画像形成装置を提供することができる。
【図面の簡単な説明】
【0008】
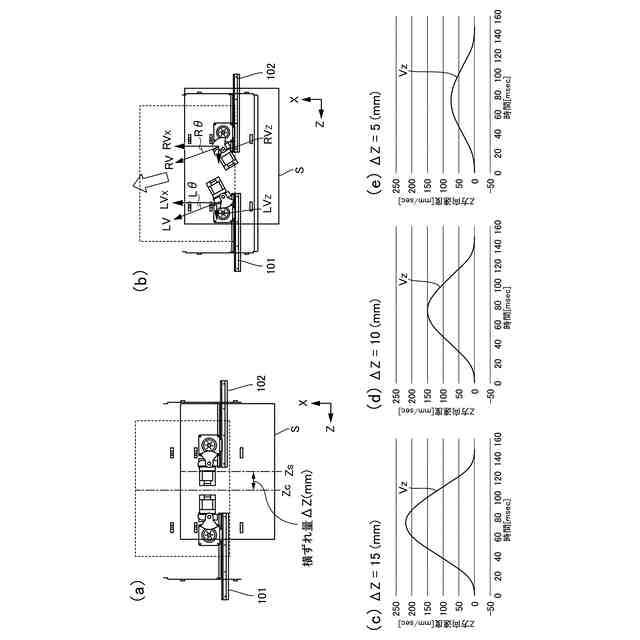
第1実施形態に係るインクジェット記録装置の概略図。
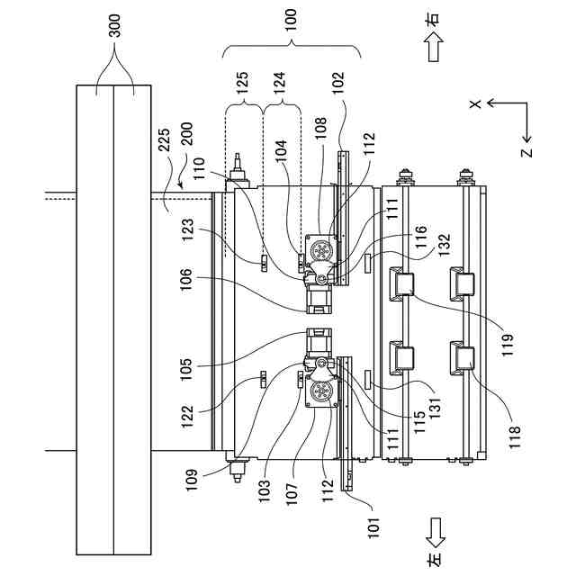
第1実施形態に係るレジユニットの上面図。
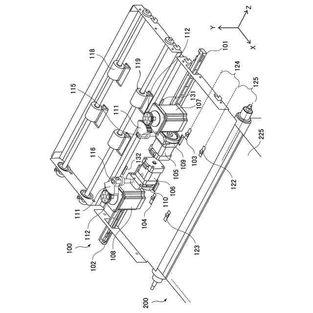
第1実施形態に係るレジユニットの斜視図。
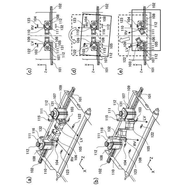
第1実施形態に係るレジユニットの説明図(a~e)。
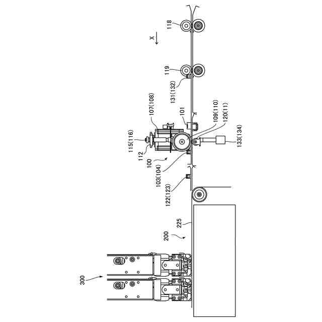
第1実施形態に係るレジユニットの断面図。
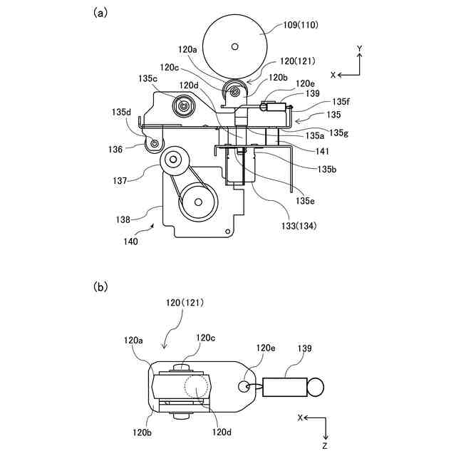
第1実施形態に係るキャスターローラの当接離間機構を示す図(a)及びキャスターローラの上面図(b)。
第1実施形態に係る制御系を示すブロック図。
第1実施形態に係る斜行補正の説明図(a~e)。
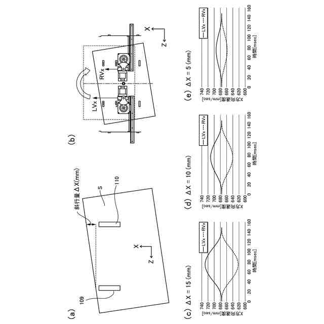
第1実施形態に係る横ずれ補正の説明図(a~e)。
第1実施形態に係る横ずれ補正の説明図(a、b)。
第1実施形態に係る斜行補正と横ずれ補正を同時に行う制御の概念図(a~d)。
第1実施形態に係る斜行補正と横ずれ補正を同時に行う制御の説明図(a、b)。
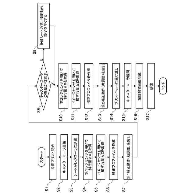
第1実施形態に係る制御例を示すフローチャート。
第1実施形態に係るキャスターローラの旋回角の推移例を示す図。
第2実施形態に係る制御例を示すフローチャート。
第3実施形態に係る光学センサの説明図。
第4実施形態に係るキャスターローラの旋回角の推移例を示す図。
第4実施形態に係る制御例を示すフローチャート。
【発明を実施するための形態】
【0009】
以下、本開示に係る実施形態について、図面を参照しながら説明する。
【0010】
本開示において、「画像形成装置」は、記録材(記録媒体)であるシートに画像を形成する装置一般を表し、少なくとも単機能プリンタ、複写機、複合機、及び商業用の大型印刷機を含む。また、「画像形成装置」は、以下の実施形態で説明するインクジェット記録装置に限らず、画像形成手段として電子写真方式の画像形成エンジンを備えた電子写真画像形成装置でもよいし、他の方式(例えばオフセット印刷)のものであってもよい。
(【0011】以降は省略されています)
この特許をJ-PlatPat(特許庁公式サイト)で参照する
関連特許
キヤノン株式会社
トナー
2日前
キヤノン株式会社
トナー
1か月前
キヤノン株式会社
電子機器
1か月前
キヤノン株式会社
撮像装置
27日前
キヤノン株式会社
電子機器
10日前
キヤノン株式会社
電子機器
10日前
キヤノン株式会社
電子機器
18日前
キヤノン株式会社
電子機器
27日前
キヤノン株式会社
撮像装置
16日前
キヤノン株式会社
定着装置
10日前
キヤノン株式会社
収容装置
10日前
キヤノン株式会社
記録装置
18日前
キヤノン株式会社
撮像装置
10日前
キヤノン株式会社
記録装置
2日前
キヤノン株式会社
記録装置
17日前
キヤノン株式会社
撮像装置
17日前
キヤノン株式会社
表示装置
9日前
キヤノン株式会社
発光装置
9日前
キヤノン株式会社
電子機器
25日前
キヤノン株式会社
電子機器
6日前
キヤノン株式会社
撮像装置
1か月前
キヤノン株式会社
撮像装置
1か月前
キヤノン株式会社
電子機器
4日前
キヤノン株式会社
光学装置
1か月前
キヤノン株式会社
定着装置
25日前
キヤノン株式会社
現像装置
1か月前
キヤノン株式会社
撮像装置
2日前
キヤノン株式会社
電子機器
1か月前
キヤノン株式会社
撮像装置
1か月前
キヤノン株式会社
撮像装置
18日前
キヤノン株式会社
定着装置
16日前
キヤノン株式会社
定着装置
25日前
キヤノン株式会社
定着装置
25日前
キヤノン株式会社
現像剤容器
3日前
キヤノン株式会社
容器構造体
1か月前
キヤノン株式会社
半導体装置
4日前
続きを見る
他の特許を見る