TOP
|
特許
|
意匠
|
商標
特許ウォッチ
Twitter
他の特許を見る
10個以上の画像は省略されています。
公開番号
2025144452
公報種別
公開特許公報(A)
公開日
2025-10-02
出願番号
2024044236
出願日
2024-03-19
発明の名称
撮像装置、制御装置、制御方法、プログラム及び記憶媒体
出願人
キヤノン株式会社
代理人
個人
,
個人
,
個人
,
個人
,
個人
主分類
H04N
23/68 20230101AFI20250925BHJP(電気通信技術)
要約
【課題】 揺らぎを低減、または、動体ブレを抑制しながら、所望の画角で撮影することを可能すること。
【解決手段】 光学ズームが可能な撮像光学系による被写体の像を撮像する撮像部と、前記撮像部によって撮像された画像の揺らぎに関する情報を取得する取得部と、前記画像の揺らぎに関する情報に基づいて前記画像の揺らぎを補正する補正処理と、前記撮像部によって撮像された画像を拡大または縮小する電子ズーム処理と、を実行する画像処理部と、設定されたズーム倍率と前記揺らぎに関する情報とに基づいて、前記撮像光学系の光学ズーム倍率と前記画像処理部の電子ズーム倍率との比率を決定する決定部と、を有することを特徴とする撮像装置。
【選択図】 図1
特許請求の範囲
【請求項1】
光学ズームが可能な撮像光学系による被写体の像を撮像する撮像部と、
前記撮像部によって撮像された画像の揺らぎに関する情報を取得する取得部と、
前記画像の揺らぎに関する情報に基づいて前記画像の揺らぎを補正する補正処理と、前記撮像部によって撮像された画像を拡大または縮小する電子ズーム処理と、を実行する画像処理部と、
設定されたズーム倍率と前記揺らぎに関する情報とに基づいて、前記撮像光学系の光学ズーム倍率と前記画像処理部の電子ズーム倍率との比率を決定する決定部と、
を有することを特徴とする撮像装置。
続きを表示(約 820 文字)
【請求項2】
前記揺らぎに関する情報は、前記画像における揺らぎ量と前記補正処理の強度との少なくとも1つを含むことを特徴とする請求項1に記載の撮像装置。
【請求項3】
前記決定部は、前記揺らぎ量が大きいほど、前記電子ズーム倍率の比率が大きくなるように前記比率を決定することを特徴とする請求項2に記載の撮像装置。
【請求項4】
前記決定部は、前記補正処理の強度が強いほど、前記電子ズーム倍率の比率が大きくなるように前記比率を決定することを特徴とする請求項2に記載の撮像装置。
【請求項5】
前記決定部は、前記設定されたズーム倍率が大きいほど前記電子ズーム倍率を大きくすることを特徴とする請求項1に記載の撮像装置。
【請求項6】
前記補正処理の強度は、前記画像における揺らぎ量に基づいて決定されることを特徴とする請求項2に記載の撮像装置。
【請求項7】
前記決定部は、前記光学ズーム倍率と前記電子ズーム倍率との積が前記設定されたズーム倍率と一致するように、前記光学ズーム倍率と前記電子ズーム倍率とを決定することを特徴とする請求項1に記載の撮像装置。
【請求項8】
ズーム倍率の入力を受けつける入力部を更に有し、
前記決定部は、前記入力部に入力されたズーム倍率と前記比率とに基づいて、前記光学ズーム倍率と前記電子ズーム倍率とを決定することを特徴とする請求項1に記載の撮像装置。
【請求項9】
前記取得部は、前記画像処理部による電子ズーム処理が実行される前の画像から前記揺らぎに関する情報を取得することを特徴とする請求項1に記載の撮像装置。
【請求項10】
前記画像処理部は、前記補正処理の実行後に前記電子ズーム処理を実行することを特徴とする請求項1に記載の撮像装置。
(【請求項11】以降は省略されています)
発明の詳細な説明
【技術分野】
【0001】
撮像装置、制御装置、制御方法、プログラム及び記憶媒体に関する。
続きを表示(約 1,500 文字)
【背景技術】
【0002】
港湾監視やインフラ監視などの監視カメラのユースケースにおいて、例えば、船舶や航空機の望遠撮影を行う場合に、大気の屈折率の不均一な変化(陽炎など)に起因する被写体像の揺らぎが被写体の視認性低下を招くことが知られている。それに対して、従来、揺らぎによる被写体像の変位は所定位置を基準とした正規分布に近似できることを利用して、画像を時間方向に平滑化することで揺らぎを低減する方法が知られている。
【0003】
また、揺らぎは環境や時間などによって変化するため、時間方向の平滑化処理を用いて揺らぎ低減を行う場合に、揺らぎの程度に応じて時間方向の平滑化処理の強度を変更する必要がある。例えば、特許文献1では入力画像を用いて揺らぎの程度を検出し、検出した揺らぎの程度に応じてフレーム画像を時間方向に平均化することで揺らぎを補正する技術が開示されている。特許文献1に開示された技術によれば、揺らぎの程度が変化した場合であっても、揺らぎを適切に補正することが可能である。
【0004】
また、特許文献2によれば、焦点距離が長い場合に陽炎が発生する可能性が高くなる。そこで、特許文献2に開示された技術を適用することで、所定値以上の望遠側の焦点距離の使用を抑制した撮影を行い、陽炎による画質劣化を防止することができる。
【先行技術文献】
【特許文献】
【0005】
WO15/132826
特開2014-191307
【発明の概要】
【発明が解決しようとする課題】
【0006】
しかしながら、画像を時間方向に平滑化する方法は、平滑化の時間を長くした場合に、動被写体がぼける現象(以下、動体ブレ)が発生するといった弊害がある。また、上述の特許文献2に開示された従来技術では、焦点距離が制限されることで望遠側の画角が使用できないため、望遠時に所望の画角で撮影することができない。
【0007】
本発明の課題は、揺らぎを低減、または、動体ブレを抑制しながら、所望の画角で撮影することを可能にすることである。
【課題を解決するための手段】
【0008】
上記課題を解決するために、本発明の一態様に係る撮像装置は、光学ズームが可能な撮像光学系による被写体の像を撮像する撮像部と、前記撮像部によって撮像された画像の揺らぎに関する情報を取得する取得部と、前記画像の揺らぎに関する情報に基づいて前記画像の揺らぎを補正する補正処理と、前記撮像部によって撮像された画像を拡大または縮小する電子ズーム処理と、を実行する画像処理部と、設定されたズーム倍率と前記揺らぎに関する情報とに基づいて、前記撮像光学系の光学ズーム倍率と前記画像処理部の電子ズーム倍率との比率を決定する決定部と、を有することを特徴とする撮像装置。
【発明の効果】
【0009】
本発明によれば、揺らぎを低減、または、動体ブレを抑制しながら、所望の画角で撮影することが可能になる。
【図面の簡単な説明】
【0010】
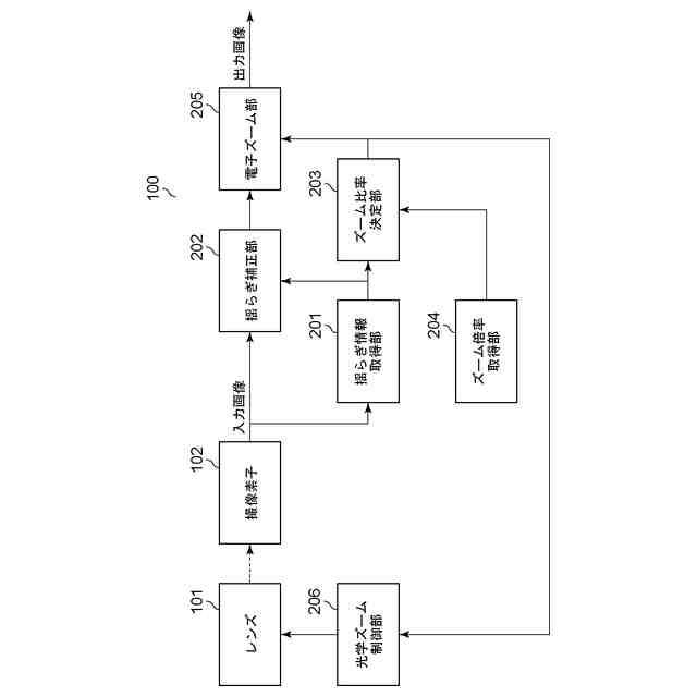
撮像装置の装置構成を示す図。
撮像装置の機能構成を示す図。
撮像装置の処理動作を示すフローチャート。
揺らぎの一例を示す図。
揺らぎ情報の一例を示す図。
揺らぎ低減の一例を示す図。
各ズーム方式における画像の揺らぎを示す図。
各ズーム方式における画像の動体ブレを示す図。
撮像装置の機能構成を示す図。
【発明を実施するための形態】
(【0011】以降は省略されています)
この特許をJ-PlatPat(特許庁公式サイト)で参照する
関連特許
キヤノン株式会社
トナー
4日前
キヤノン株式会社
撮像装置
1か月前
キヤノン株式会社
撮像装置
4日前
キヤノン株式会社
定着装置
27日前
キヤノン株式会社
撮像装置
20日前
キヤノン株式会社
電子機器
20日前
キヤノン株式会社
記録装置
20日前
キヤノン株式会社
撮像装置
19日前
キヤノン株式会社
記録装置
19日前
キヤノン株式会社
撮像装置
18日前
キヤノン株式会社
定着装置
18日前
キヤノン株式会社
定着装置
27日前
キヤノン株式会社
撮像装置
12日前
キヤノン株式会社
電子機器
12日前
キヤノン株式会社
定着装置
12日前
キヤノン株式会社
収容装置
12日前
キヤノン株式会社
表示装置
11日前
キヤノン株式会社
発光装置
11日前
キヤノン株式会社
電子機器
8日前
キヤノン株式会社
記録装置
4日前
キヤノン株式会社
電子機器
6日前
キヤノン株式会社
定着装置
27日前
キヤノン株式会社
電子機器
12日前
キヤノン株式会社
撮像装置
29日前
キヤノン株式会社
撮像装置
今日
キヤノン株式会社
電子機器
29日前
キヤノン株式会社
電子機器
27日前
キヤノン株式会社
半導体装置
6日前
キヤノン株式会社
現像剤容器
5日前
キヤノン株式会社
画像形成装置
今日
キヤノン株式会社
画像形成装置
8日前
キヤノン株式会社
画像形成装置
8日前
キヤノン株式会社
画像表示装置
4日前
キヤノン株式会社
画像形成装置
8日前
キヤノン株式会社
画像形成装置
8日前
キヤノン株式会社
画像形成装置
今日
続きを見る
他の特許を見る