TOP
|
特許
|
意匠
|
商標
特許ウォッチ
Twitter
他の特許を見る
10個以上の画像は省略されています。
公開番号
2025146137
公報種別
公開特許公報(A)
公開日
2025-10-03
出願番号
2024046762
出願日
2024-03-22
発明の名称
情報処理装置、処理方法およびプログラム
出願人
キヤノン株式会社
代理人
個人
,
個人
,
個人
,
個人
,
個人
主分類
H04N
5/91 20060101AFI20250926BHJP(電気通信技術)
要約
【課題】 複数のユーザによって取得された複数の画像の中から一部の画像を選択する際に、適切に画像を選択できるようにすることを目的とする。
【解決手段】 情報処理装置は、画像を識別する情報とユーザを識別する情報とを関連付けて管理する管理手段と、画像を選択するための条件をユーザ毎に設定する設定手段と、前記管理手段によって管理される画像のそれぞれについて、評価値を算出する算出手段と、前記算出手段によって算出された評価値と、前記設定手段によってユーザ毎に設定された条件とを用いて、画像を選択する選択手段とを備える。
【選択図】 図2
特許請求の範囲
【請求項1】
画像を識別する情報とユーザを識別する情報とを関連付けて管理する管理手段と、
画像を選択するための条件をユーザ毎に設定する設定手段と、
前記管理手段によって管理される画像のそれぞれについて、評価値を算出する算出手段と、
前記算出手段によって算出された評価値と、前記設定手段によってユーザ毎に設定された条件とを用いて、画像を選択する選択手段と、
を備えることを特徴とする情報処理装置。
続きを表示(約 900 文字)
【請求項2】
前記選択手段は、ユーザ毎に前記管理手段によって関連付けられている画像の中から、前記評価値の順に前記条件に基づいて画像を選択すること、
を特徴とする請求項1に記載の情報処理装置。
【請求項3】
前記算出手段によって算出された評価値が所定の基準を満たす画像を合格画像として判定する判定手段を備えること、
を特徴とする請求項1に記載の情報処理装置。
【請求項4】
前記選択手段は、前記合格画像として判定されない画像の中から、前記合格画像と撮影日時が近い画像を抽出し、抽出された画像から前記合格画像との相違度が高い順に、画像を選択すること、
を特徴とする請求項3に記載の情報処理装置。
【請求項5】
前記選択手段によって選択された複数の画像から合成画像を生成する生成手段を備え、
前記生成手段は、前記判定手段により合格画像として判定されない少なくとも1つ以上の画像と、当該画像と撮影日時が近い少なくとも一つ以上の前記合格画像とを用いて合成画像を生成すること、
を特徴とする請求項3に記載の情報処理装置。
【請求項6】
画像の補正を行う補正手段を備え、
前記補正手段は前記選択手段により選択された画像の評価値が所定の基準を満たす場合に補正を行うこと、
を特徴とする請求項1に記載の情報処理装置。
【請求項7】
画像を識別する情報とユーザを識別する情報とを関連付けて管理する管理工程と、
画像を選択するための条件をユーザ毎に設定する設定工程と、
前記管理工程によって管理される画像のそれぞれについて、評価値を算出する算出工程と、
前記算出工程によって算出された評価値と、前記設定手段によってユーザ毎に設定された条件とを用いて、画像を選択する選択工程と、
を備えることを特徴とする処理方法。
【請求項8】
コンピュータを、請求項1から6のいずれか1項に記載された情報処理装置の各手段として機能させるためのプログラム。
発明の詳細な説明
【技術分野】
【0001】
本発明は、情報処理装置、処理方法およびプログラムに関する。
続きを表示(約 1,500 文字)
【背景技術】
【0002】
ユーザが所有する複数の画像から画像を選択して出力する方法が知られている。例えば、特許文献1では多量の画像からベターショットを自動的に選択する方法を提案している。この方法は、複数の写真画像に対して解析処理を行い、所定の判定基準を満たす画像(合格画像)と他の画像(不合格画像)とを区別できるように保存することによって、ユーザに代わって自動的にベターショットを他の写真画像とを選択することができる。これにより、画像群から画像を選択してフォトアルバムを作成する際に、ユーザによる選択の手間を削減することができる。
【先行技術文献】
【特許文献】
【0003】
特開2004-236120
【発明の概要】
【発明が解決しようとする課題】
【0004】
ここで、例えばイベントにおいて複数の参加者それぞれが写真を撮影し、それらの写真を収集したイベント運営者が、写真を選択してアルバムを作成し、参加者に提供するユースケースについて考える。この場合、特許文献1のようにベターショットだけを選択すると、特定の参加者の撮影画像に集中してしまう可能性がある。そうすると、複数の参加者それぞれの撮影画像をまんべんなく選択したいような場合に不都合が生じる。そこで本発明は、複数のユーザによって取得された複数の画像の中から一部の画像を選択する際に、適切に画像を選択できるようにすることを目的とする。
【課題を解決するための手段】
【0005】
上記目的を達成するための一手段として、本発明の情報処理装置は以下の構成を備える。
【0006】
すなわち、画像を識別する情報とユーザを識別する情報とを関連付けて管理する管理手段と、画像を選択するための条件をユーザ毎に設定する設定手段と、前記管理手段によって管理される画像のそれぞれについて、評価値を算出する算出手段と、前記算出手段によって算出された評価値と、前記設定手段によってユーザ毎に設定された条件とを用いて、画像を選択する選択手段とを備えることを特徴とする。
【発明の効果】
【0007】
本発明によれば、複数のユーザによって取得された複数の画像の中から一部の画像を選択する際に、より適切に画像を選択することができるようになる。
【図面の簡単な説明】
【0008】
情報処理装置のハードウェアの構成の一例を示すブロック図
情報処理装置の機能構成の一例を示すブロック図
画像情報管理部が管理する画像情報の一例を示す図
情報処理装置が画像を選択する一連の処理の一例を示すフローチャート
表示部が表示する選択条件の設定画面の一例を示す図
評価部が出力する評価情報の一例を示す図
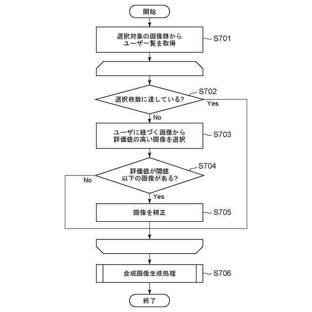
選択処理の一例を示すフローチャート
生成部による画像生成処理の一例を示すフローチャート
生成部により生成される合成画像の一例を示す図
実施形態2における選択処理の一例を示すフローチャート
【発明を実施するための形態】
【0009】
以下、添付の図面を参照して、本発明をその好適な実施形態に基づいて詳細に説明する。なお、以下の実施形態において示す構成は一例に過ぎず、本発明は図示された構成に限定されるものではない。
【0010】
[実施形態1]
本実施形態に係る情報処理装置のハードウェア構成例について、図1のブロック図を用いて説明する。
(【0011】以降は省略されています)
この特許をJ-PlatPat(特許庁公式サイト)で参照する
関連特許
キヤノン株式会社
トナー
今日
キヤノン株式会社
定着装置
23日前
キヤノン株式会社
撮像装置
14日前
キヤノン株式会社
電子機器
2日前
キヤノン株式会社
定着装置
23日前
キヤノン株式会社
記録装置
今日
キヤノン株式会社
電子機器
4日前
キヤノン株式会社
発光装置
7日前
キヤノン株式会社
表示装置
7日前
キヤノン株式会社
電子機器
23日前
キヤノン株式会社
収容装置
8日前
キヤノン株式会社
電子機器
8日前
キヤノン株式会社
電子機器
8日前
キヤノン株式会社
撮像装置
8日前
キヤノン株式会社
定着装置
14日前
キヤノン株式会社
定着装置
8日前
キヤノン株式会社
記録装置
15日前
キヤノン株式会社
電子機器
16日前
キヤノン株式会社
撮像装置
16日前
キヤノン株式会社
撮像装置
15日前
キヤノン株式会社
撮像装置
今日
キヤノン株式会社
記録装置
16日前
キヤノン株式会社
定着装置
23日前
キヤノン株式会社
半導体装置
2日前
キヤノン株式会社
現像剤容器
1日前
キヤノン株式会社
画像形成装置
4日前
キヤノン株式会社
画像形成装置
4日前
キヤノン株式会社
画像形成装置
4日前
キヤノン株式会社
画像表示装置
22日前
キヤノン株式会社
画像形成装置
4日前
キヤノン株式会社
画像形成装置
4日前
キヤノン株式会社
画像形成装置
4日前
キヤノン株式会社
画像形成装置
4日前
キヤノン株式会社
画像形成装置
4日前
キヤノン株式会社
映像表示装置
4日前
キヤノン株式会社
画像形成装置
23日前
続きを見る
他の特許を見る