TOP
|
特許
|
意匠
|
商標
特許ウォッチ
Twitter
他の特許を見る
公開番号
2025144922
公報種別
公開特許公報(A)
公開日
2025-10-03
出願番号
2024044844
出願日
2024-03-21
発明の名称
情報処理装置、情報処理方法、およびプログラム
出願人
キヤノン株式会社
代理人
個人
主分類
G06T
7/20 20170101AFI20250926BHJP(計算;計数)
要約
【課題】追尾対象の物体に対して別の物体等が関連付けられる誤関連付けの発生を回避可能にする。
【解決手段】情報処理装置は、画像から、追尾対象物体を検出するとともに局所部位を推定し、その推定した1以上の局所部位のうち、追尾対象物体との関連度が高い局所部位を選択する。そして、情報処理装置は、追尾対象物体と、1以上の局所部位のなかから選択された局所部位とに応じて、追尾対象物体と選択された局所部位とを関連付けるか否かを決定する。
【選択図】図2
特許請求の範囲
【請求項1】
画像から追尾対象物体を検出する検出手段と、
前記画像から局所部位を推定する推定手段と、
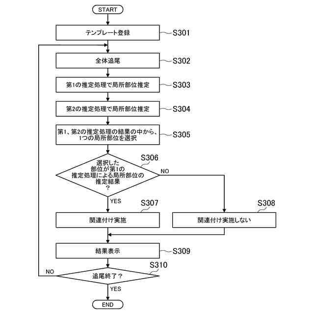
前記推定手段により推定された1以上の局所部位のうち、前記追尾対象物体との関連度が高い局所部位を選択する選択手段と、
前記検出手段により検出された追尾対象物体と、前記選択手段により前記1以上の局所部位のなかから選択された局所部位とに応じて、前記追尾対象物体と前記選択された局所部位とを関連付けるか否かを決定する決定手段と、
を有することを特徴とする情報処理装置。
続きを表示(約 1,700 文字)
【請求項2】
前記決定手段は、
前記選択手段により選択された局所部位の信頼度が閾値以上である場合、前記局所部位と前記追尾対象物体を関連付けると決定し、
前記選択手段により選択された局所部位の信頼度が前記閾値未満である場合、前記局所部位と前記追尾対象物体を関連付けないと決定する
ことを特徴とする請求項1に記載の情報処理装置。
【請求項3】
前記推定手段は、
前記画像から前記局所部位を推定する第1の推定手段と、
前記画像から前記第1の推定手段が推定する前記局所部位の信頼度よりも低い信頼度の局所部位を推定する第2の推定手段と、
を有し、
前記選択手段は、前記第1の推定手段および前記第2の推定手段により推定された前記1以上の局所部位のうち、前記追尾対象物体との関連度が最も高い局所部位を選択し、
前記決定手段は、
前記選択手段により選択された局所部位が前記第1の推定手段により推定された局所部位である場合に、前記選択された局所部位と前記追尾対象物体とを関連付けると決定し、
前記選択手段により選択された局所部位が前記第2の推定手段により推定された局所部位である場合には、前記選択された局所部位と前記追尾対象物体とを関連付けないと決定する
ことを特徴とする請求項1に記載の情報処理装置。
【請求項4】
前記信頼度は、前記推定手段により推定される局所部位の確からしさを示す度合いであることを特徴とする請求項2または3に記載の情報処理装置。
【請求項5】
前記追尾対象物体と前記選択手段により選択された局所部位とを関連付けないと前記決定手段が決定した場合、前記画像において前記追尾対象物体にはいずれの局所部位も関連付けられないことを特徴とする請求項1に記載の情報処理装置。
【請求項6】
前記画像よりも時間的に前に撮像された過去画像において前記追尾対象物体に関連付けられた過去局所部位と、前記画像における局所部位との距離に基づいて、前記局所部位の関連度を決定する関連度決定手段を有し、
前記関連度決定手段は、前記過去局所部位との距離が第1の距離である第1の局所部位の関連度が、前記過去局所部位との距離が前記第1の距離より長い第2の距離である第2の局所部位の関連度よりも高くなるように、前記1以上の局所部位のそれぞれの関連度を決定することを特徴とする請求項1に記載の情報処理装置。
【請求項7】
前記1以上の局所部位のうち、前記追尾対象物体との距離が第1の距離である第1の局所部位の関連度が、前記追尾対象物体との距離が前記第1の距離より長い第2の距離である第2の局所部位の関連度よりも高くなるように、前記画像内における前記追尾対象物体と前記局所部位との距離に応じて前記関連度を決定する関連度決定手段を有することを特徴とする請求項1に記載の情報処理装置。
【請求項8】
前記推定手段は、
前記画像に対する解析処理によって局所部位を推定する第1の推定手段と、
前記画像よりも前に撮像された過去画像における局所部位の推定結果に基づいて前記画像における局所部位を推定する第2の推定手段と、
を有し、
前記決定手段は、前記第2の推定手段により推定された局所部位が前記選択手段により選択された場合、前記追尾対象物体と前記選択された局所部位とを関連付けないことを決定することを特徴とする請求項1に記載の情報処理装置。
【請求項9】
前記推定手段は、前記画像内において遮蔽物により遮蔽されている局所部位の位置を推定する遮蔽検出手段を含み、
前記決定手段は、前記遮蔽検出手段により推定された局所部位が前記選択手段により選択された場合、前記追尾対象物体と前記選択された局所部位とを関連付けないことを決定することを特徴とする請求項1に記載の情報処理装置。
【請求項10】
前記追尾対象物体と前記選択された局所部位との関連付けの結果を表示する表示手段を有することを特徴とする請求項1に記載の情報処理装置。
(【請求項11】以降は省略されています)
発明の詳細な説明
【技術分野】
【0001】
本発明は、画像から物体を検出して追尾する情報処理技術に関する。
続きを表示(約 1,600 文字)
【背景技術】
【0002】
時系列に連続する画像中から特定の物体領域を検出して追尾することが行われている。追尾とは、画像中から特定の物体領域を検出し、時系列に連続する画像の間で同一の物体領域を追跡していくものである。撮像装置(カメラ)では、この追尾の結果に基づいたオートフォーカス処理などが行われている。
【0003】
特許文献1には、追尾対象の物体全体とその物体の局所部位とを関連付けながら追尾する方法が開示されている。例えば追尾対象の物体が人物である場合、追尾対象の物体全体としては人体の全身が想定され、局所部位としては顔部分などが想定される。特許文献1では、画像上における物体全体と局所部位との位置関係や、時系列で前後の画像における物体全体と局所部位との位置変化量に基づいた関連付けが行われている。
【先行技術文献】
【特許文献】
【0004】
特開2017-212581号公報
【発明の概要】
【発明が解決しようとする課題】
【0005】
特許文献1に開示されている物体全体と局所部位との位置関係に基づく関連付けでは、例えば物体の局所部位が検出されなかった際に、追尾対象の物体とは別の物体等の局所部位と追尾対象の物体全体とを関連付けてしまうような誤りが生ずることがある。例えば、撮像装置において関連付けた局所部位に対してオートフォーカスが動作するような場合、局所部位の関連付けを誤ったことで別人物の頭部に焦点が合ってしまうことがある。特に複数の人物が密集するスポーツシーンの撮影が行われている際に、追尾対象の人物とは別の人物に焦点が合ってしまうと、撮影品質が著しく損なわれてしまう可能性がある。
【0006】
そこで、本発明では、追尾対象の物体に対して別の物体等が関連付けられる誤関連付けの発生を回避可能にすることを目的とする。
【課題を解決するための手段】
【0007】
本発明の情報処理装置は、画像から追尾対象物体を検出する検出手段と、前記画像から局所部位を推定する推定手段と、前記推定手段により推定された1以上の局所部位のうち、前記追尾対象物体との関連度が高い局所部位を選択する選択手段と、前記検出手段により検出された追尾対象物体と、前記選択手段により前記1以上の局所部位のなかから選択された局所部位とに応じて、前記追尾対象物体と前記選択された局所部位とを関連付けるか否かを決定する決定手段と、を有することを特徴とする。
【発明の効果】
【0008】
本発明によれば、追尾対象の物体に対して別の物体等が関連付けられる誤関連付けの発生を回避可能となる。
【図面の簡単な説明】
【0009】
情報処理装置を実現可能なコンピュータの概略構成図である。
情報処理装置の機能構成図である。
情報処理の流れを示すフローチャートである。
遮蔽のない入力画像と追尾・局所部位推定結果の説明図である。
遮蔽が発生している入力画像と追尾・局所部位推定結果の説明図である。
【発明を実施するための形態】
【0010】
以下、本発明に係る実施形態を、図面を参照しながら説明する。以下の各実施形態は本発明を限定するものではなく、また、本実施形態で説明されている特徴の組み合わせの全てが本発明の解決手段に必須のものとは限らない。実施形態の構成は、本発明が適用される装置の仕様や各種条件(使用条件、使用環境等)によって適宜修正又は変更され得る。また、以下の実施形態において、同一もしくは同様の構成や処理工程には同じ参照符号を付し、重複する説明は省略する。
(【0011】以降は省略されています)
この特許をJ-PlatPat(特許庁公式サイト)で参照する
関連特許
キヤノン株式会社
トナー
1か月前
キヤノン株式会社
トナー
4日前
キヤノン株式会社
撮像装置
1か月前
キヤノン株式会社
記録装置
19日前
キヤノン株式会社
撮像装置
18日前
キヤノン株式会社
定着装置
18日前
キヤノン株式会社
電子機器
12日前
キヤノン株式会社
電子機器
12日前
キヤノン株式会社
定着装置
12日前
キヤノン株式会社
収容装置
12日前
キヤノン株式会社
発光装置
1か月前
キヤノン株式会社
表示装置
11日前
キヤノン株式会社
発光装置
11日前
キヤノン株式会社
光学機器
1か月前
キヤノン株式会社
電子機器
8日前
キヤノン株式会社
電子機器
6日前
キヤノン株式会社
撮像装置
19日前
キヤノン株式会社
電子機器
20日前
キヤノン株式会社
記録装置
20日前
キヤノン株式会社
電子機器
27日前
キヤノン株式会社
電子機器
29日前
キヤノン株式会社
撮像装置
29日前
キヤノン株式会社
撮像装置
1か月前
キヤノン株式会社
電子機器
1か月前
キヤノン株式会社
光学装置
1か月前
キヤノン株式会社
撮像装置
1か月前
キヤノン株式会社
電子機器
1か月前
キヤノン株式会社
記録装置
4日前
キヤノン株式会社
定着装置
27日前
キヤノン株式会社
定着装置
27日前
キヤノン株式会社
定着装置
27日前
キヤノン株式会社
現像装置
1か月前
キヤノン株式会社
電子機器
1か月前
キヤノン株式会社
撮像装置
20日前
キヤノン株式会社
撮像装置
1か月前
キヤノン株式会社
撮像装置
12日前
続きを見る
他の特許を見る