TOP
|
特許
|
意匠
|
商標
特許ウォッチ
Twitter
他の特許を見る
10個以上の画像は省略されています。
公開番号
2025146359
公報種別
公開特許公報(A)
公開日
2025-10-03
出願番号
2024047090
出願日
2024-03-22
発明の名称
画像処理装置、画像処理方法、プログラム、およびシステム
出願人
キヤノン株式会社
代理人
弁理士法人大塚国際特許事務所
主分類
G06F
16/532 20190101AFI20250926BHJP(計算;計数)
要約
【課題】プロンプトから画像を生成する場合に、プロンプトを提供する側の意図した画像に近づけた画像を生成することが可能な画像処理装置を提供する。
【解決手段】本開示に係る画像処理装置は、生成モデルに生成させる画像についての説明を含むプロンプトに対する、所定の外部装置による解釈度合いについての情報を、所定の外部装置から取得する取得手段と、解釈度合いについての情報に基づいて、プロンプトを修正する修正手段と、修正されたプロンプトを、通信手段を介して所定の外部装置に送信する送信手段と、を有する。ここで、修正手段は、生成モデルで生成される画像に反映される説明が増加するように、プロンプトの説明を修正する。
【選択図】図11
特許請求の範囲
【請求項1】
生成モデルに生成させる画像についての説明を含むプロンプトに対する、所定の外部装置による解釈度合いについての情報を、前記所定の外部装置から取得する取得手段と、
前記解釈度合いについての情報に基づいて、前記プロンプトを修正する修正手段と、
修正された前記プロンプトを、通信手段を介して前記所定の外部装置に送信する送信手段と、を有し、
前記修正手段は、前記生成モデルで生成される画像に反映される前記説明が増加するように、前記プロンプトの前記説明を修正する、ことを特徴とする画像処理装置。
続きを表示(約 1,100 文字)
【請求項2】
前記解釈度合いについての情報は、前記説明の画像への反映の程度が所定の基準を満たさない、前記説明の一部を示す情報を含む、ことを特徴とする請求項1に記載の画像処理装置。
【請求項3】
前記修正手段は、前記所定の基準を満たさない前記説明の一部についての記述を追加することにより前記プロンプトを修正する、ことを特徴とする請求項2に記載の画像処理装置。
【請求項4】
前記修正手段は、前記所定の基準を満たさない前記説明の一部を他の説明で置き換えることにより前記プロンプトを修正する、ことを特徴とする請求項2に記載の画像処理装置。
【請求項5】
前記プロンプトを生成モデルに入力して画像を生成する生成手段と、
特定の条件が満たされたことに応じて、前記生成手段を用いて前記プロンプトから画像を生成し、生成した画像を前記所定の外部装置に送信するように制御する制御手段と、を更に有する、ことを特徴とする請求項2に記載の画像処理装置。
【請求項6】
前記特定の条件は、前記所定の外部装置から、前記プロンプトに対応する画像を送信する要求を受け付けた場合と、前記説明の画像への反映の程度が前記所定の基準を満たさない前記説明の一部の数が所定数を超えた場合との少なくともいずれかに満たされる、ことを特徴とする請求項5に記載の画像処理装置。
【請求項7】
前記画像処理装置は、前記解釈度合いについての情報の取得と、前記プロンプトの修正と、修正された前記プロンプトの送信とを含む動作を繰り返して実行し、
前記特定の条件は、前記動作を繰り返したときに、前記所定の基準を満たさない前記説明の一部が、所定の回数を超えて存在する場合に満たされる、ことを特徴とする請求項5に記載の画像処理装置。
【請求項8】
前記プロンプトに対する解釈度合いは、前記説明を構成する単語、句、節、文の少なくともいずれかの単位で判定される、ことを特徴とする請求項1に記載の画像処理装置。
【請求項9】
前記プロンプトは、前記プロンプトに対する解釈度合いを判定するための判定基準を更に含み、
前記画像処理装置は、
前記判定基準を、前記説明を構成する単語、句、節、文の少なくともいずれかの単位で設定する設定手段を更に有する、ことを特徴とする請求項1に記載の画像処理装置。
【請求項10】
前記設定手段は、前記所定の外部装置との間の前記プロンプトの通信の履歴に応じて、前記判定基準を変更する、ことを特徴とする請求項9に記載の画像処理装置。
(【請求項11】以降は省略されています)
発明の詳細な説明
【技術分野】
【0001】
本発明は、画像処理装置、画像処理方法、プログラム、およびシステムに関する。
続きを表示(約 2,000 文字)
【背景技術】
【0002】
近年、機械学習によって学習されたモデルを用いて画像を生成する技術の進歩が著しい。画像生成用の機械学習モデル(単に画像生成モデルともいう)に「プロンプト」と呼ばれる画像生成の指示をテキストで入力して画像を編集したり、生成する技術が普及しつつある。特許文献1は、画像と感情に関するテキストとを入力することで、被写体の表情を所望に変更する技術を開示している。
【先行技術文献】
【特許文献】
【0003】
特開2022-175923号公報
【発明の概要】
【発明が解決しようとする課題】
【0004】
ところで、画像生成モデルは、学習に使用したデータや学習の度合いが異なれば、たとえ同一の構造のモデルに同一のプロンプトを入力する場合であっても、プロンプトの解釈に差が生じる場合がある。従って、同じプロンプトを用いて複数の装置のそれぞれの画像生成モデルで画像を生成する場合、それぞれの装置においてプロンプトに対する解釈が異なり得るため、装置によっては、プロンプトの提供側の意図と異なる画像を生成する場合がある。
【0005】
本発明は、上記課題に鑑みてなされ、その目的は、プロンプトから画像を生成する場合に、プロンプトを提供する側の意図した画像に近づけた画像を生成することが可能な技術を実現することである。
【課題を解決するための手段】
【0006】
この課題を解決するため、例えば本発明の画像処理装置は以下の構成を備える。すなわち、生成モデルに生成させる画像についての説明を含むプロンプトに対する、所定の外部装置による解釈度合いについての情報を、前記所定の外部装置から取得する取得手段と、前記解釈度合いについての情報に基づいて、前記プロンプトを修正する修正手段と、修正された前記プロンプトを、通信手段を介して前記所定の外部装置に送信する送信手段と、を有し、前記修正手段は、前記生成モデルで生成される画像に反映される前記説明が増加するように、前記プロンプトの前記説明を修正する、ことを特徴とする。
【発明の効果】
【0007】
本発明によれば、プロンプトから画像を生成する場合に、プロンプトを提供する側の意図した画像に近づけた画像を生成することが可能になる。
【図面の簡単な説明】
【0008】
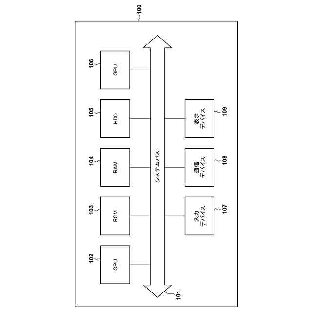
各実施形態のハードウェア構成例を示す図
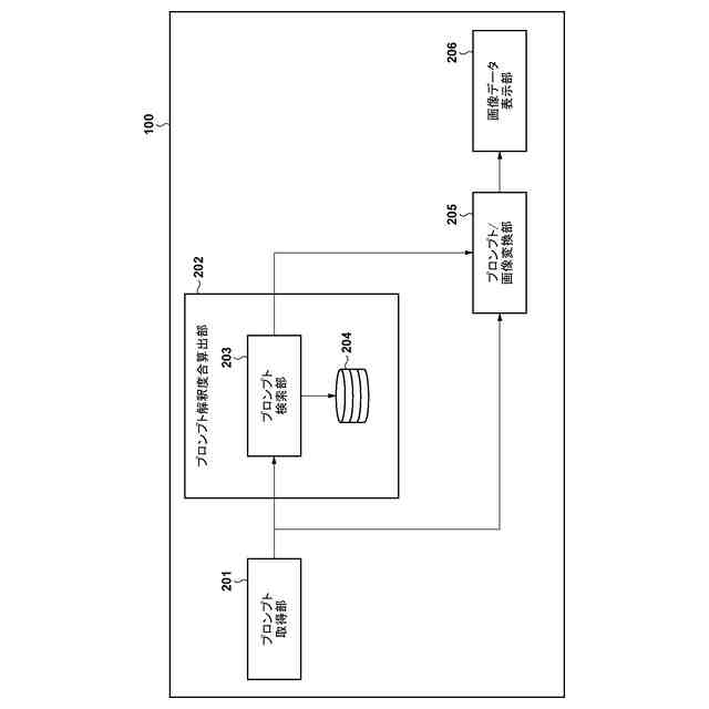
実施形態1のプロンプト通信装置の機能構成例を示すブロック図
実施形態1のプロンプト通信装置における画像生成処理の動作を示すフローチャート
実施形態1のプロンプト解釈度合算出処理の動作を示すフローチャート
実施形態1のプロンプト通信装置による画像生成例を説明する図
実施形態1のプロンプト通信装置の画像表示例を示す図
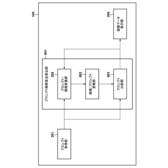
実施形態1のプロンプト解釈度合算出処理に重み値を用いる場合の動作を示すフローチャート
実施形態2のプロンプト通信装置の機能構成例を示すブロック図
実施形態2のプロンプト通信装置における画像生成処理の動作を示すフローチャート
実施形態2のプロンプト通信装置による画像生成例を説明する図
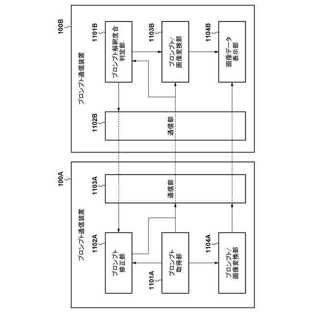
実施形態3のプロンプト通信システムの機能構成例を示す図
実施形態3のプロンプト通信装置100Aにおける初期処理の動作を示すフローチャート
実施形態3のプロンプト通信装置100Bにおけるの定常動作を示すフローチャート
実施形態3のプロンプト通信装置100Aにおける定常処理の動作を示すフローチャート
実施形態3のプロンプト通信システムの画像生成例を説明する図
【発明を実施するための形態】
【0009】
(実施形態1)
以下、添付図面を参照して実施形態を詳しく説明する。なお、以下の実施形態は特許請求の範囲に係る発明を限定するものではない。実施形態には複数の特徴が記載されているが、これらの複数の特徴の全てが発明に必須のものとは限らず、また、複数の特徴は任意に組み合わせられてもよい。さらに、添付図面においては、同一若しくは同様の構成に同一の参照番号を付し、重複した説明は省略する。
【0010】
以下では、各実施形態における画像処理装置の一例として、画像を生成するためのプロンプト(単に画像生成用プロンプトともいう。詳細は後述する)を扱うことができる通信装置(プロンプト通信装置ともいう)を用いる例を説明する。本実施形態は、画像生成用プロンプトを扱うことができる他の機器に適用可能である。これらの機器には、例えばデジタルカメラ、スマートフォンを含む携帯電話機、ゲーム機、パーソナルコンピュータ、タブレット端末、その他のウェアラブル情報端末などが含まれてよい。
(【0011】以降は省略されています)
この特許をJ-PlatPat(特許庁公式サイト)で参照する
関連特許
キヤノン株式会社
トナー
今日
キヤノン株式会社
記録装置
今日
キヤノン株式会社
撮像装置
今日
キヤノン株式会社
電子機器
2日前
キヤノン株式会社
半導体装置
2日前
キヤノン株式会社
現像剤容器
1日前
キヤノン株式会社
画像形成装置
今日
キヤノン株式会社
画像形成装置
1日前
キヤノン株式会社
吐出素子基板
今日
キヤノン株式会社
画像処理装置
1日前
キヤノン株式会社
画像形成装置
2日前
キヤノン株式会社
情報処理装置
今日
キヤノン株式会社
画像形成装置
1日前
キヤノン株式会社
画像形成装置
今日
キヤノン株式会社
表示システム
1日前
キヤノン株式会社
画像表示装置
今日
キヤノン株式会社
画像形成装置
4日前
キヤノン株式会社
画像形成装置
今日
キヤノン株式会社
画像形成装置
1日前
キヤノン株式会社
画像形成装置
1日前
キヤノン株式会社
映像表示装置
4日前
キヤノン株式会社
半導体集積回路
2日前
キヤノン株式会社
画像形成システム
4日前
キヤノン株式会社
細胞画像解析方法
2日前
キヤノン株式会社
画像形成システム
4日前
キヤノン株式会社
画像処理装置及び方法
1日前
キヤノン株式会社
電極構造体の製造方法
今日
キヤノン株式会社
無線電力伝送システム
4日前
キヤノン株式会社
インクジェット記録装置
1日前
キヤノン株式会社
インクジェット記録装置
1日前
キヤノン株式会社
電子部品及びその製造方法
4日前
キヤノン株式会社
映像表示装置及び制御方法
2日前
キヤノン株式会社
プログラムおよび管理装置
今日
キヤノン株式会社
レンズ装置および撮像装置
2日前
キヤノン株式会社
レンズ装置および撮像装置
今日
キヤノン株式会社
表示光学系および表示装置
今日
続きを見る
他の特許を見る