TOP
|
特許
|
意匠
|
商標
特許ウォッチ
Twitter
他の特許を見る
10個以上の画像は省略されています。
公開番号
2025141213
公報種別
公開特許公報(A)
公開日
2025-09-29
出願番号
2024041053
出願日
2024-03-15
発明の名称
電子部品及びその製造方法
出願人
キヤノン株式会社
代理人
個人
,
個人
,
個人
,
個人
主分類
H01L
23/04 20060101AFI20250919BHJP(基本的電気素子)
要約
【課題】基板と樹脂枠とが一体となったパッケージに半導体素子が収容された電子部品において、パッケージから発生する異物の混入を抑制する。
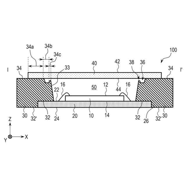
【解決手段】電子部品は、半導体素子が設けられた基板と、半導体素子の周囲を囲むように基板に設けられた枠体と、枠体に固定された蓋体と、を有する。枠体は、基板に接する第1面と、蓋体と対向する第2面と、を有する。枠体の第2面は、蓋体が接合される枠状の第1領域と、第1領域よりも内側に位置し、基板の側に窪む凹部が設けられた枠状の第2領域と、第2領域よりも内側に位置し、蓋体の側に突出する凸部が設けられた枠状の第3領域と、を有する。基板に対する凸部の先端部の高さは、基板に対する枠体と蓋体との接合面の高さよりも低く、基板に対する凹部の底の高さよりも高い。
【選択図】図2
特許請求の範囲
【請求項1】
半導体素子が設けられた基板と、
前記半導体素子の周囲を囲むように前記基板に設けられた枠体と、
前記枠体に固定された蓋体と、を有する電子部品であって、
前記枠体は、前記基板に接する第1面と、前記蓋体と対向する第2面と、を有し、
前記枠体の前記第2面は、前記蓋体が接合される枠状の第1領域と、前記第1領域よりも内側に位置し、前記基板の側に窪む凹部が設けられた枠状の第2領域と、前記第2領域よりも内側に位置し、前記蓋体の側に突出する凸部が設けられた枠状の第3領域と、を有し、
前記基板に対する前記凸部の先端部の高さは、前記基板に対する前記枠体と前記蓋体との接合面の高さよりも低く、前記基板に対する前記凹部の底の高さよりも高い
ことを特徴とする電子部品。
続きを表示(約 1,000 文字)
【請求項2】
前記凹部は、平面視において前記第3領域を囲むように設けられている
ことを特徴とする請求項1記載の電子部品。
【請求項3】
前記第3領域は、前記枠体の内側面に接している
ことを特徴とする請求項1記載の電子部品。
【請求項4】
前記凹部の幅は、0.1mm以上、1.0mm以下である
ことを特徴とする請求項1乃至3のいずれか1項に記載の電子部品。
【請求項5】
前記接合面の前記高さと前記凹部の前記底の前記高さとの差は、50μm以上である
ことを特徴とする請求項1乃至3のいずれか1項に記載の電子部品。
【請求項6】
前記枠体の内側面の前記第1面の側の幅は、前記内側面の前記第2面の側の幅よりも狭い
ことを特徴とする請求項1乃至3のいずれか1項に記載の電子部品。
【請求項7】
前記内側面の幅は、前記凹部の底よりも前記第1面に近い部分において徐々に狭くなっている
ことを特徴とする請求項6記載の電子部品。
【請求項8】
前記半導体素子は、光電変換素子であり、
前記蓋体は、透光性の部材により構成されている
ことを特徴とする請求項1乃至3のいずれか1項に記載の電子部品。
【請求項9】
前記基板は、前記半導体素子が設けられた面とは反対側の面に設けられた電子素子を更に有する
ことを特徴とする請求項1乃至3のいずれか1項に記載の電子部品。
【請求項10】
半導体素子が設けられた基板の上に、前記半導体素子の周囲を囲むように枠体を形成する工程と、前記半導体素子が設けられた空間を塞ぐように前記枠体に蓋体を固定する工程と、を有する電子部品の製造方法であって、
前記枠体を形成する工程では、前記基板を設置する第1金型と、前記枠体の内側面を成形するための第2金型と、前記枠体の前記蓋体と対向する面を成形するための第3金型と、を用いて射出成形により前記枠体を形成し、
前記第2金型と前記第3金型とは、分離しており、前記第1金型との間の距離を互いに独立して変えられるように構成されており、
前記第3金型は、前記蓋体が接合される面を成形するための枠状の第1領域と、前記第1領域よりも内側に位置し、前記第1領域よりも前記第1金型の側に突出する凸部を有する枠状の第2領域と、を有する
ことを特徴とする電子部品の製造方法。
(【請求項11】以降は省略されています)
発明の詳細な説明
【技術分野】
【0001】
本発明は、電子部品及びその製造方法に関する。
続きを表示(約 2,200 文字)
【背景技術】
【0002】
撮像デバイスなどの電子デバイスは、当該電子デバイスが実装された回路基板と樹脂枠とが一体となったパッケージに収容された形態の電子部品として構成されることがある。特許文献1には、樹脂枠の表面に突起を設けることで樹脂枠と蓋体との間の接着強度を向上するように構成した撮像装置が記載されている。特許文献2には、パッケージの枠部品の表面に凹部を設けることでセンサチップの保護部材が枠部品を這い上がるのを防止するように構成した半導体圧力センサ装置が記載されている。
【先行技術文献】
【特許文献】
【0003】
特開2015-038920号公報
特開2014-228295号公報
【発明の概要】
【発明が解決しようとする課題】
【0004】
撮像デバイスなどの電子デバイスがパッケージに収容された電子部品では、画素の縮小などに伴いパッケージ内への異物の混入の更なる低減が求められている。しかしながら、特許文献1及び特許文献2では、パッケージから発生する異物について特段の考慮はなされておらず、電子デバイスの特性劣化や信頼性低下が生じる可能性があった。
【0005】
本発明の目的は、基板と樹脂枠とが一体となったパッケージに半導体素子が収容された電子部品において、パッケージから発生する異物の混入を抑制するための技術を提供することにある。
【課題を解決するための手段】
【0006】
本明細書の一開示によれば、半導体素子が設けられた基板と、前記半導体素子の周囲を囲むように前記基板に設けられた枠体と、前記枠体に固定された蓋体と、を有する電子部品であって、前記枠体は、前記基板に接する第1面と、前記蓋体と対向する第2面と、を有し、前記枠体の前記第2面は、前記蓋体が接合される枠状の第1領域と、前記第1領域よりも内側に位置し、前記基板の側に窪む凹部が設けられた枠状の第2領域と、前記第2領域よりも内側に位置し、前記蓋体の側に突出する凸部が設けられた枠状の第3領域と、を有し、前記基板に対する前記凸部の先端部の高さは、前記基板に対する前記枠体と前記蓋体との接合面の高さよりも低く、前記基板に対する前記凹部の底の高さよりも高い電子部品が提供される。
【0007】
また、本明細書の他の一開示によれば、半導体素子が設けられた基板の上に、前記半導体素子の周囲を囲むように枠体を形成する工程と、前記半導体素子が設けられた空間を塞ぐように前記枠体に蓋体を固定する工程と、を有する電子部品の製造方法であって、前記枠体を形成する工程では、前記基板を設置する第1金型と、前記枠体の内側面を成形するための第2金型と、前記枠体の前記蓋体と対向する面を成形するための第3金型と、を用いて射出成形により前記枠体を形成し、前記第2金型と前記第3金型とは、分離しており、前記第1金型との間の距離を互いに独立して変えられるように構成されており、前記第3金型は、前記蓋体が接合される面を成形するための枠状の第1領域と、前記第1領域よりも内側に位置し、前記第1領域よりも前記第1金型の側に突出する凸部を有する枠状の第2領域と、を有する電子部品の製造方法が提供される。
【発明の効果】
【0008】
本発明によれば、回路基板と樹脂枠とが一体となったパッケージに半導体素子が収容された電子部品において、パッケージから発生する異物の混入を防止し、半導体素子の特性劣化や信頼性低下を抑制することができる。
【図面の簡単な説明】
【0009】
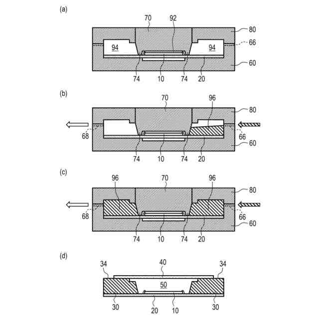
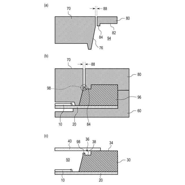
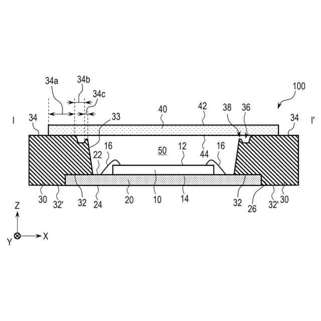
第1実施形態による電子部品の構成例を示す平面模式図である。
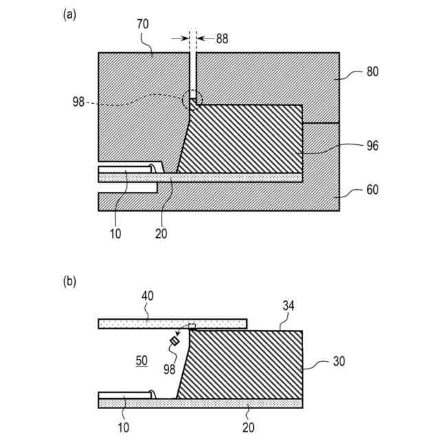
第1実施形態による電子部品の構成例を示す断面模式図である。
第1実施形態による電子部品における基板の構成例を示す平面模式図である。
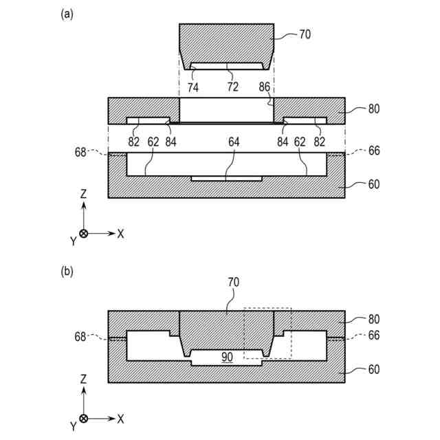
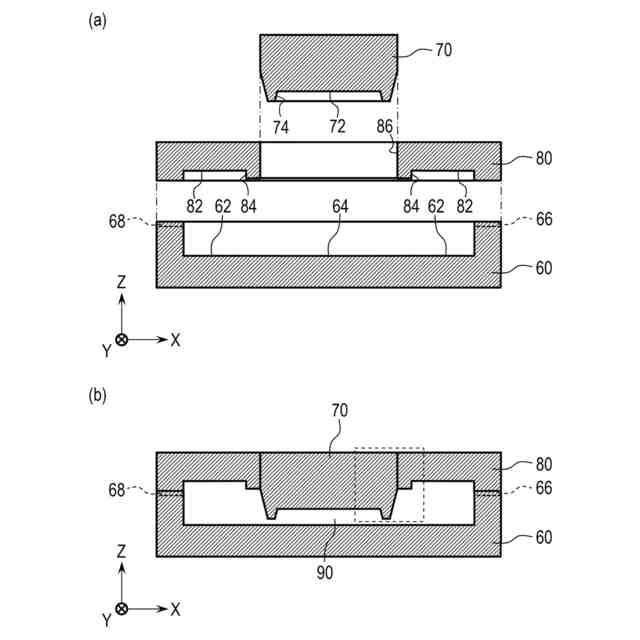
第1実施形態による電子部品の製造方法に用いられる金型を示す断面模式図(その1)である。
第1実施形態による電子部品の製造方法に用いられる金型を示す断面模式図(その2)である。
第1実施形態による電子部品の製造方法を示す工程断面図である。
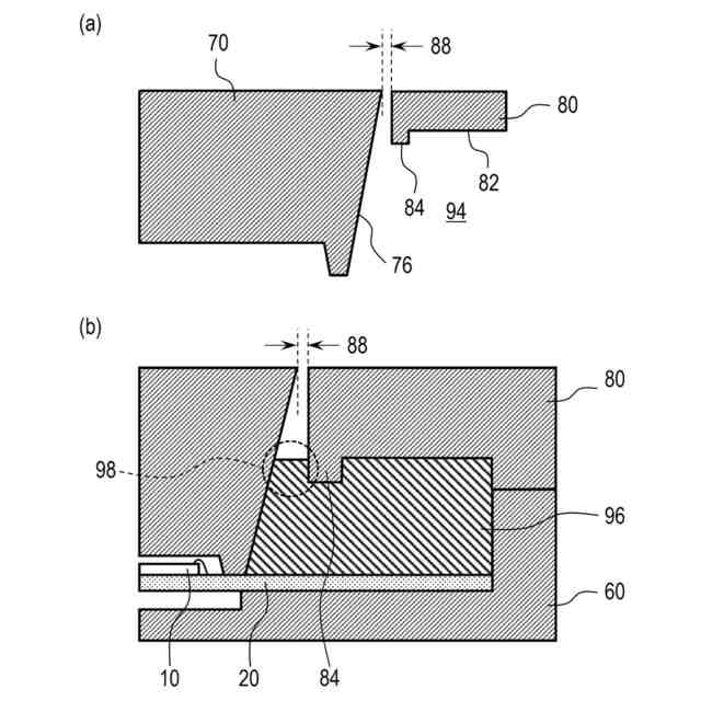
第1実施形態による電子部品の製造方法に用いられる金型及びそれを用いて製造される枠体の構造を示す拡大断面図である。
第3金型に凸部が設けられていない場合の課題を説明する図である。
第1実施形態による電子部品の製造方法に用いられる金型の他の例及びそれを用いて製造される枠体の構造を示す拡大断面図(その1)である。
第1実施形態による電子部品の製造方法に用いられる金型の他の例及びそれを用いて製造される枠体の構造を示す拡大断面図(その2)である。
第1実施形態による電子部品の製造方法に用いられる金型の他の例及びそれを用いて製造される枠体の構造を示す拡大断面図(その3)である。
本発明の第2実施形態による機器の概略構成を示すブロック図である。
【発明を実施するための形態】
【0010】
以下に示す形態は、本発明の技術思想を具体化するためのものであって、本発明を限定するものではない。各図面が示す部材の大きさや位置関係は、説明を明確にするために誇張していることがある。
(【0011】以降は省略されています)
この特許をJ-PlatPat(特許庁公式サイト)で参照する
関連特許
キヤノン株式会社
トナー
29日前
キヤノン株式会社
電子機器
21日前
キヤノン株式会社
現像装置
29日前
キヤノン株式会社
光学装置
26日前
キヤノン株式会社
電子機器
26日前
キヤノン株式会社
撮像装置
26日前
キヤノン株式会社
電子機器
23日前
キヤノン株式会社
撮像装置
23日前
キヤノン株式会社
電子機器
2日前
キヤノン株式会社
定着装置
21日前
キヤノン株式会社
定着装置
21日前
キヤノン株式会社
定着装置
21日前
キヤノン株式会社
発光装置
5日前
キヤノン株式会社
表示装置
5日前
キヤノン株式会社
撮像装置
14日前
キヤノン株式会社
電子機器
14日前
キヤノン株式会社
記録装置
14日前
キヤノン株式会社
収容装置
6日前
キヤノン株式会社
定着装置
6日前
キヤノン株式会社
電子機器
6日前
キヤノン株式会社
電子機器
6日前
キヤノン株式会社
撮像装置
6日前
キヤノン株式会社
撮像装置
13日前
キヤノン株式会社
記録装置
13日前
キヤノン株式会社
撮像装置
12日前
キヤノン株式会社
電子機器
29日前
キヤノン株式会社
定着装置
12日前
キヤノン株式会社
電子機器
今日
キヤノン株式会社
撮像装置
1か月前
キヤノン株式会社
撮像装置
1か月前
キヤノン株式会社
容器構造体
1か月前
キヤノン株式会社
半導体装置
今日
キヤノン株式会社
容器構造体
1か月前
キヤノン株式会社
画像形成装置
21日前
キヤノン株式会社
光学測定装置
21日前
キヤノン株式会社
光学測定装置
21日前
続きを見る
他の特許を見る