TOP
|
特許
|
意匠
|
商標
特許ウォッチ
Twitter
他の特許を見る
公開番号
2025132866
公報種別
公開特許公報(A)
公開日
2025-09-10
出願番号
2024030718
出願日
2024-02-29
発明の名称
画像形成装置
出願人
キヤノン株式会社
代理人
弁理士法人近島国際特許事務所
主分類
G03G
21/16 20060101AFI20250903BHJP(写真;映画;光波以外の波を使用する類似技術;電子写真;ホログラフイ)
要約
【課題】分割可能な複数の枠体を含む画像形成装置の提供。
【解決手段】画像形成装置は、分割可能な供給ブロック、作像ブロック、排出ブロックの3つの構造体を備えている。これら供給ブロック、作像ブロック、排出ブロックはそれぞれ、供給枠体100e、作像枠体100f、排出枠体100gを有し、各枠体内には各種ユニットや部品等が組み付けられている。画像形成装置の装置本体は、これら供給ブロック、作像ブロック、排出ブロックを積み重ねて組み立てられるが、作像ブロックは作像枠体100fを介し供給ブロックに対して3点で支持される。また、排出ブロックは排出枠体100gを介し作像ブロックに対して3点で支持される。
【選択図】図3
特許請求の範囲
【請求項1】
記録材に画像を形成する画像形成装置であって、
第一枠体と、記録材にトナー像を転写するための転写部材と、記録材が搬送される第一搬送経路と、を有する第一ブロックと、
前記第一枠体と分割可能に前記第一枠体の上方に配置された第二枠体と、前記第一搬送経路から記録材が搬送される第二搬送経路と、前記第二搬送経路を搬送される記録材を外部に排出する排出部と、を有する第二ブロックと、を備え、
前記第一ブロックは3点で支持され、
前記第二ブロックは、前記第一ブロックに対して3点で支持される、
ことを特徴とする画像形成装置。
続きを表示(約 1,800 文字)
【請求項2】
前記第一枠体と分割可能に前記第一枠体の下方に配置された第三枠体と、記録材を収容する収容体と、前記収容体から前記第一枠体内に向けて記録材を供給する供給部と、前記収容体から前記第一搬送経路に向けて記録材が搬送される第三搬送経路と、を有する第三ブロックを備え、
前記第一ブロックは、前記第三ブロックに対して3点で支持される、
ことを特徴とする請求項1に記載の画像形成装置。
【請求項3】
前記第一ブロックは、第1支持点、第2支持点、及び第3支持点を含む3点で支持され、
前記第1支持点、前記第2支持点、及び前記第3支持点のうち、前記第1支持点及び前記第2支持点は、前記第一ブロックを上方から見た場合に、前記第一ブロックの中央よりも前記第一搬送経路側に位置している、
ことを特徴とする請求項1に記載の画像形成装置。
【請求項4】
前記第3支持点は、前記第一ブロックを上方から見た場合に、前記第一ブロックの中央よりも前記第一搬送経路と反対側に位置している、
ことを特徴とする請求項3に記載の画像形成装置。
【請求項5】
前記第三ブロックは、設置面に対して第4支持点、第5支持点及び第6支持点の3点で支持され、
前記第4支持点、前記第5支持点、及び前記第6支持点のうち、前記第4支持点及び前記第5支持点は、前記第三ブロックを上方から見た場合に、前記第三ブロックの中央よりも前記第三搬送経路側に位置している、
ことを特徴とする請求項2に記載の画像形成装置。
【請求項6】
前記第6支持点は、前記第三ブロックを上方から見た場合に、前記第三ブロックの中央よりも前記第三搬送経路と反対側に位置している、
ことを特徴とする請求項5に記載の画像形成装置。
【請求項7】
前記第一ブロックは、第1支持点、第2支持点、及び第3支持点を含む3点で支持され、
前記第1支持点、前記第2支持点、及び前記第3支持点のうち、前記第1支持点及び前記第2支持点は、前記第一ブロックを上方から見た場合に、前記第一ブロックの中央よりも前記第一搬送経路側に位置しており、
前記第三ブロックは、設置面に対して第4支持点、第5支持点及び第6支持点の3点で支持され、
前記第4支持点、前記第5支持点、及び前記第6支持点のうち、前記第4支持点及び前記第5支持点は、前記第三ブロックを上方から見た場合に、前記第三ブロックの中央よりも前記第三搬送経路側に位置しており、
前記第三枠体は、側板と、上下方向に延設された支柱と、前記側板から上下方向に交差する方向に延設されて前記側板と前記支柱を連結する第1のステイと、前記第1のステイの上方に並べて設けられ前記側板と前記支柱を連結する第2のステイと、前記第1のステイから前記第2のステイに向かって延設されて前記第1のステイと前記第2のステイを連結する連結支柱と、を有し、
前記画像形成装置を上方から見た場合に、前記第3支持点と前記第6支持点が前記連結支柱に重なっている、
ことを特徴とする請求項2に記載の画像形成装置。
【請求項8】
前記第二ブロックは前記第一枠体に対して第7支持点、第8支持点及び第9支持点の3点で支持され、
前記第7支持点、前記第8支持点及び前記第9支持点のうち、前記第7支持点及び前記第8支持点は、前記第二ブロックを上方から見た場合に、前記第二ブロックの中央よりも前記第二搬送経路側に位置している、
ことを特徴とする請求項3に記載の画像形成装置。
【請求項9】
前記第9支持点は、前記第二ブロックを上方から見た場合に、前記第二ブロックの中央よりも前記第二搬送経路と反対側に位置している、
ことを特徴とする請求項8に記載の画像形成装置。
【請求項10】
前記画像形成装置を上方から見た場合に、前記第1支持点及び前記第7支持点が互いに重なっており、
前記画像形成装置を上方から見た場合に、前記第2支持点及び前記第8支持点が互いに重なっている、
ことを特徴とする請求項8に記載の画像形成装置。
(【請求項11】以降は省略されています)
発明の詳細な説明
【技術分野】
【0001】
本発明は、プリンタ、複写機、ファクシミリあるいは複合機などの画像形成装置に関する。
続きを表示(約 1,800 文字)
【背景技術】
【0002】
従来の画像形成装置では、多数の板金を組み合わせてビス締結や溶接で一体化させることで、1つの本体枠体が形成されている(特許文献1)。そして、1つの本体枠体に各種ユニットが支持される。
【先行技術文献】
【特許文献】
【0003】
特開2021-39153号公報
【発明の概要】
【発明が解決しようとする課題】
【0004】
本願発明者らは、1つの本体枠体に各種ユニットなどを組み付ける従来技術には、課題があることを発見した。例えば、画像形成装置の機能を拡張することが困難である。画像形成装置の一部のユニットを、別の機能を持つユニットに交換したいことがある。しかし、従来のような1つの本体枠体は、特定のユニットを支持することを前提として設計されている。そのため、一部のユニットを別のユニットで置換することができない場合がほとんどである。また別の例として、ユーザの様々なニーズに応じて、互いに異なる仕様の複数の画像形成装置を提供したいことがある。1つの本体枠体を有する画像形成装置の場合、それぞれの仕様に合わせて本体枠体がゼロベースで設計される。これは、開発、設計、あるいは製造上の負担となっている。
【0005】
本発明は上記課題に鑑みてなされたもので、分割可能な複数の枠体を含む画像形成装置の提供を目的とする。
【課題を解決するための手段】
【0006】
本発明の一実施形態に係る画像形成装置は、記録材に画像を形成する画像形成装置であって、第一枠体と、記録材にトナー像を転写するための転写部材と、記録材が搬送される第一搬送経路と、を有する第一ブロックと、前記第一枠体と分割可能に前記第一枠体の上方に配置された第二枠体と、前記第一搬送経路から記録材が搬送される第二搬送経路と、前記第二搬送経路を搬送される記録材を外部に排出する排出部と、を有する第二ブロックと、を備え、前記第一ブロックは3点で支持され、前記第二ブロックは、前記第一ブロックに対して3点で支持される、ことを特徴とする。
【発明の効果】
【0007】
本発明によれば、分割可能な複数の枠体を含む画像形成装置を提供できる。
【図面の簡単な説明】
【0008】
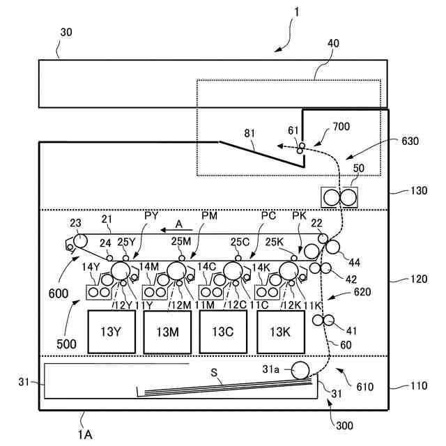
画像形成装置の構成を示す概略図。
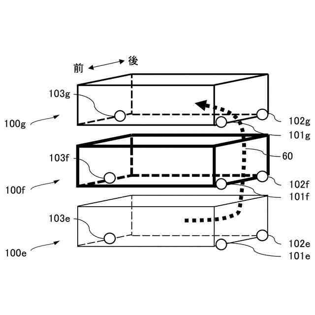
(a)排出枠体を示す模式図、(b)作像枠体を示す模式図、(c)供給枠体を示す模式図。
各ブロックの支持点を示す模式図。
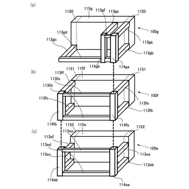
作像枠体の第3支持点の位置と連結支柱を示す模式図。
(a)排出ブロックにおける支持点の位置関係を示す模式図、(b)作像ブロックにおける支持点の位置関係を示す模式図、(c)供給ブロックにおける支持点の位置関係を示す模式図。
【発明を実施するための形態】
【0009】
[第一実施形態]
<画像形成装置>
以下、本実施形態について説明する。まず、本実施形態の画像形成装置の概略構成について、図1を用いて説明する。なお、以下の説明で使用する「前」、「後」は、画像形成装置の手前側を前、装置の奥側を後とし、「右」、「左」は、装置を手前側から見た場合に対応する。装置の手前側とは、ユーザが装置を操作する側で、例えば操作パネルが配置される側、あるいは記録材を収容するカセットが引き出される側である。「上下方向」は、画像形成装置を床などの設置面に設置した状態での上下方向である。図1では、手前側から見た画像形成装置1を示している。
【0010】
図1に示す画像形成装置1は、中間転写方式のフルカラープリンタである。イエロー(Y)、マゼンタ(M)、シアン(C)、ブラック(K)のトナー像を形成する4色の画像形成部PY、PM、PC、PKは、中間転写ベルト21に対向されて配置される。画像形成装置1は、画像形成ユニット500を備える。画像形成ユニット500は、原稿読取ユニット30あるいはパーソナルコンピュータ等の外部端末等(不図示)から受信した画像信号に基づきトナー像を記録材Sに形成する。画像形成ユニット500は、画像形成部PY、PM、PC、PK及び中間転写体ユニット600を有している。
(【0011】以降は省略されています)
この特許をJ-PlatPat(特許庁公式サイト)で参照する
関連特許
株式会社シグマ
絞りユニット
14日前
キヤノン株式会社
撮像装置
27日前
キヤノン株式会社
撮像装置
7日前
平和精機工業株式会社
雲台
1か月前
キヤノン株式会社
撮像装置
13日前
株式会社リコー
画像形成装置
2か月前
株式会社リコー
画像形成装置
3日前
株式会社リコー
画像形成装置
1か月前
株式会社リコー
画像形成装置
1か月前
株式会社リコー
画像形成装置
2か月前
株式会社リコー
画像形成装置
3か月前
株式会社リコー
画像形成装置
21日前
株式会社リコー
画像形成装置
1か月前
株式会社リコー
画像形成装置
1か月前
キヤノン株式会社
トナー
1か月前
キヤノン株式会社
トナー
3か月前
シャープ株式会社
画像形成装置
1か月前
トヨタ自動車株式会社
撮像方法
3か月前
キヤノン株式会社
画像形成装置
2か月前
キヤノン株式会社
画像形成装置
2か月前
キヤノン株式会社
トナー
2か月前
キヤノン株式会社
画像形成装置
1か月前
キヤノン株式会社
画像形成装置
1か月前
キヤノン株式会社
トナー
2か月前
ブラザー工業株式会社
再生方法
1か月前
キヤノン株式会社
画像形成装置
1か月前
株式会社オプトル
プロジェクタ
1か月前
株式会社オプトル
プロジェクタ
6日前
キヤノン株式会社
画像形成装置
2か月前
キヤノン株式会社
画像形成装置
2か月前
キヤノン株式会社
トナー
3か月前
キヤノン株式会社
画像形成装置
2か月前
アイホン株式会社
機器の設置構造
1か月前
沖電気工業株式会社
画像形成装置
1か月前
沖電気工業株式会社
画像形成装置
3か月前
アイホン株式会社
機器の設置構造
1か月前
続きを見る
他の特許を見る