TOP
|
特許
|
意匠
|
商標
特許ウォッチ
Twitter
他の特許を見る
公開番号
2025132702
公報種別
公開特許公報(A)
公開日
2025-09-10
出願番号
2024030443
出願日
2024-02-29
発明の名称
光学測定装置
出願人
キヤノン株式会社
代理人
個人
,
個人
,
個人
,
個人
主分類
G01N
35/04 20060101AFI20250903BHJP(測定;試験)
要約
【課題】測定光が測定室外に出ると待機中のプレートが劣化する恐れがあること、および測定室外で反射して測定室に再帰する測定光は光学測定の誤差に繋がる恐れがある。
【解決手段】反応室と測定室を有する光学測定装置。前記反応室は、アレイプレートが載置される反応室載置部と、アレイプレートに液体検体または所定の薬液を供給する給液部を備え、アレイプレート上に反応生成物を生成させる。前記測定室は、反応生成物を保持したアレイプレートが載置される測定室載置部と、アレイプレート上の反応生成物を光学的に測定する光学測定部を備える。光学測定装置はさらに、前記反応室と前記測定室の間でアレイプレートを搬送する室間搬送部と、前記室間搬送部により搬送されるアレイプレートが通過できる通過口を有し前記反応室と前記測定室との間を仕切る仕切り部材を有する。
【選択図】図1
特許請求の範囲
【請求項1】
一方の面に複数の物質がアレイ状に固定されるとともに液体検体または所定の薬液が貯留される貯留部が設けられたアレイプレートが載置される反応室載置部と、前記貯留部に前記液体検体または所定の薬液を供給する給液部と、を備え、前記液体検体または所定の薬液と前記複数の物質との反応により前記アレイプレート上に反応生成物を生成させる反応室と、
前記反応生成物を保持した前記アレイプレートが載置される測定室載置部と、前記測定室載置部に載置された前記アレイプレート上の前記反応生成物を該アレイプレートの前記一方の面とは反対側の面である他方の面の側から該アレイプレートを通して光学的に測定する光学測定部と、を備え、前記反応生成物を光学的に測定する測定室と、
前記反応室と前記測定室との間で前記アレイプレートを搬送する室間搬送部と、
前記室間搬送部に保持された前記アレイプレートが通過できる通過口を有し前記反応室と前記測定室との間を仕切る仕切り部材と、を有することを特徴とする光学測定装置。
続きを表示(約 820 文字)
【請求項2】
前記室間搬送部は、前記通過口を通過する部分を有する、請求項1に記載の光学測定装置。
【請求項3】
前記光学測定部は、所定の波長の一次光を照射して前記アレイプレートに入射させ、照射により該アレイプレートから出射する前記一次光とは異なる波長の二次光を測定するように構成されており、前記仕切り部材の前記測定室側の面の前記一次光に対する分光反射率は10%以下である、請求項1または2に記載の光学測定装置。
【請求項4】
前記室間搬送部は、前記反応室載置部と前記測定室載置部との間で前記アレイプレートを搬送するように構成されている、請求項1または2に記載の光学測定装置。
【請求項5】
前記反応室は、前記反応室載置部と前記室間搬送部との間で前記アレイプレートを受け渡す中継領域を有する、請求項1または2に記載の光学測定装置。
【請求項6】
前記反応室は、前記反応室載置部を介して前記アレイプレートを移動する反応室搬送部をさらに有する、請求項5に記載の光学測定装置。
【請求項7】
前記反応室は、前記中継領域とは異なる位置に、前記アレイプレートが前記給液部により給液される給液領域を有する、請求項6に記載の光学測定装置。
【請求項8】
前記中継領域と前記通過口との距離は、前記給液領域と前記通過口との距離より短い、請求項7に記載の光学測定装置。
【請求項9】
前記通過口は、前記中継領域と前記光学測定部との間に位置し、前記給液領域と前記光学測定部との間は前記仕切り部材により遮られている部分を有する、請求項7に記載の光学測定装置。
【請求項10】
前記反応室搬送部は、前記給液領域と前記中継領域との間において前記アレイプレートを搬送する、請求項7に記載の光学測定装置。
(【請求項11】以降は省略されています)
発明の詳細な説明
【技術分野】
【0001】
本発明はアレイプレートに対して反応工程と測定工程を行う光学測定装置に関する。
続きを表示(約 2,200 文字)
【背景技術】
【0002】
基板上にタンパク質、ペプチド、核酸等の物質のスポットがアレイ状に多数固定されたスポット領域を有する、プロテインアレイ、ペプチドアレイ、DNAアレイ等の、アレイプレートが知られている。こうしたアレイプレートを用いることで、固定された多数の物質と検体中の物質との相互作用を一度に観察することができる。これにより、血液、細胞抽出液、唾液、組織間液等の生体由来の液体検体と多数の物質との相互作用を網羅的に解析することができる。
【0003】
アレイプレートを用いた測定方法として、興味対象となる相互作用が起こったスポットを選択的に蛍光標識して、光学的情報を得る方法が知られている。蛍光標識されたスポットを観察する装置として、共焦点レーザー顕微鏡が知られている。共焦点レーザー顕微鏡は、照射光学系、蛍光検出光学系、及び2次元走査系を有している。蛍光検出光学系は、蛍光プローブによって標識されたスポットからの蛍光の光量を検出する機能を有する。2次元走査系は、アレイプレートまたは光学系を2次元走査することにより、アレイプレート上のスポット領域の蛍光画像を取得する機能を有する。
【0004】
特許文献1には、液体試薬とプレートとを保持するフローセルと呼ばれる密閉系のセルに対する標識化を含む反応工程と、標識されたパターンを光学的に取得する測定工程とを行う検査技術が開示されている。特許文献1は、フローセルに対する反応工程を並列化し、反応工程を終えたフローセルを順次、測定工程を行う光学測定領域に搬送するローディング技術をさらに開示している。
【先行技術文献】
【特許文献】
【0005】
特表2011-501965号公報
【発明の概要】
【発明が解決しようとする課題】
【0006】
特許文献1に記載される検査技術では、測定工程においてプレートに照射される測定光の一部は測定室から出て測定室外の部材に反射して再び測定室に戻り、光学測定の測定誤差に繋がる恐れがある。また複数のプレートの反応工程を並列化して行い、反応工程と測定工程とを直列に行う場合、反応室で待機中の測定工程前のプレートに測定室から出た測定光の一部が当たると、待機中のプレートが劣化する恐れがある。
【課題を解決するための手段】
【0007】
本発明の光学測定装置は、
一方の面に複数の物質がアレイ状に固定されるとともに液体検体または所定の薬液が貯留される貯留部が設けられたアレイプレートが載置される反応室載置部と、前記貯留部に前記液体検体または所定の薬液を供給する給液部と、を備え、前記液体検体または所定の薬液と前記複数の物質との反応により前記アレイプレート上に反応生成物を生成させる反応室と、
前記反応生成物を保持した前記アレイプレートが載置される測定室載置部と、前記測定室載置部に載置された前記アレイプレート上の前記反応生成物を該アレイプレートの前記一方の面とは反対側の面である他方の面の側から該アレイプレートを通して光学的に測定する光学測定部と、を備え、前記反応生成物を光学的に測定する測定室と、
前記反応室と前記測定室との間で前記アレイプレートを搬送する室間搬送部と、
前記室間搬送部に保持された前記アレイプレートが通過できる通過口を有し前記反応室と前記測定室との間を仕切る仕切り部材と、を有することを特徴とする。
【発明の効果】
【0008】
本発明によれば、測定室から外部に漏れ出たのち再び測定室に戻る測定光を低減することで、光学測定の誤差を低減することができる。また、測定室から外部に漏れ出る光を低減することで、待機中のアレイプレートの劣化を低減することができる。
【図面の簡単な説明】
【0009】
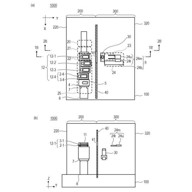
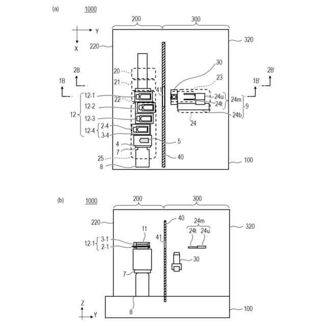
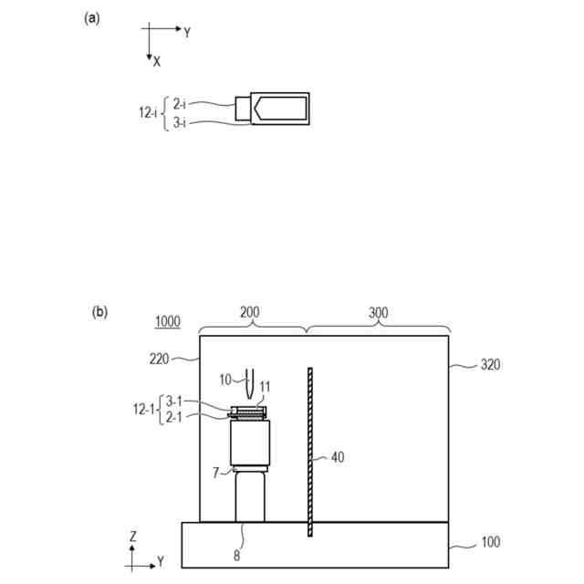
本発明の光学測定装置の構造の一例を模式的に示す2面図(a)(b)である。
図1に示す光学測定装置に好適に用いられる枠付きアレイプレートの構造を示す模式図(a)と、反応室載置部に載置されたアレイプレートとピペットチップとの位置関係を示す模式図(b)である。
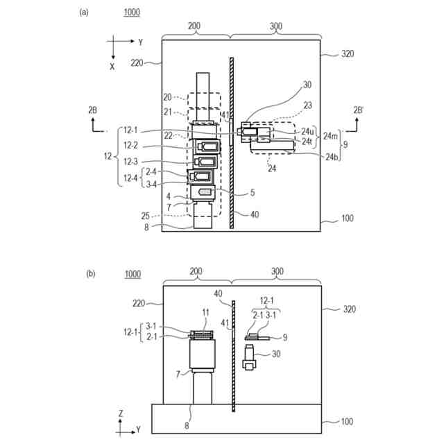
図1に示す光学測定装置の光学測定時(アレイプレート搬送後)における搬送アームの位置と仕切り部材に設けられた通過口の位置との関係を模式的に示す2面図(a)(b)である。
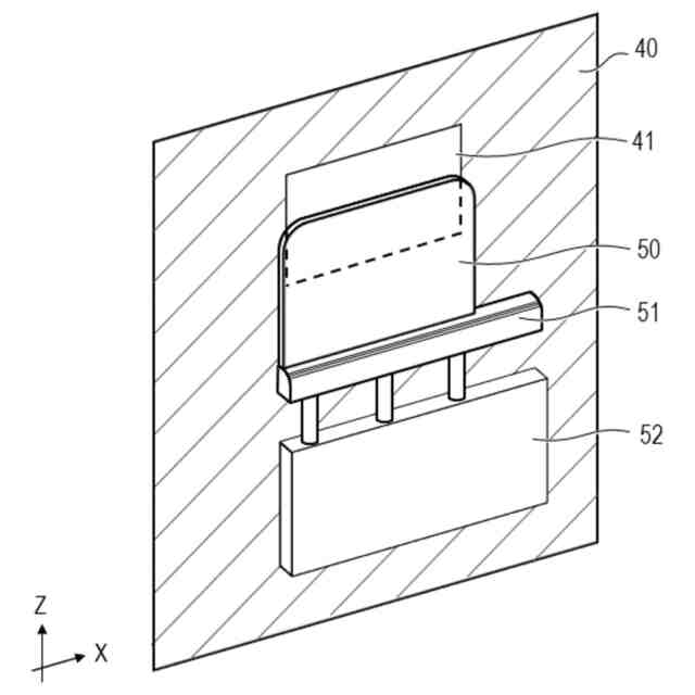
図1に示す光学測定装置の仕切り部材に備えられた開口塞ぎ部材を模式的に示す斜視図である。
【発明を実施するための形態】
【0010】
本発明に係る光学測定装置の実施形態について図1、図2、図3、図4を用いて説明する。図1(a)は、本実施形態の光学測定装置1000の筐体(外囲器)内部を上方から鉛直方向下向きに見た様子を模式的に示す平面図である。図1(b)は、図1(a)に示す光学測定装置1000を1B-1B’線に沿って切断した断面を(矢印が示す向きに)見た様子を模式的に示す垂直断面図である。ただし、反応室搬送部7とリニア駆動機構については、断面ではなく視線手前側の外観を示している。
(【0011】以降は省略されています)
この特許をJ-PlatPat(特許庁公式サイト)で参照する
関連特許
キヤノン株式会社
トナー
9日前
キヤノン株式会社
トナー
4日前
キヤノン株式会社
トナー
4日前
キヤノン株式会社
トナー
4日前
キヤノン株式会社
電子機器
11日前
キヤノン株式会社
電子機器
17日前
キヤノン株式会社
撮像装置
5日前
キヤノン株式会社
定着装置
17日前
キヤノン株式会社
表示装置
16日前
キヤノン株式会社
撮像装置
17日前
キヤノン株式会社
撮像装置
9日前
キヤノン株式会社
発光装置
16日前
キヤノン株式会社
電子機器
13日前
キヤノン株式会社
定着装置
3日前
キヤノン株式会社
記録装置
9日前
キヤノン株式会社
記録装置
2日前
キヤノン株式会社
撮影装置
2日前
キヤノン株式会社
電子機器
17日前
キヤノン株式会社
収容装置
17日前
キヤノン株式会社
現像容器
2日前
キヤノン株式会社
記録装置
25日前
キヤノン株式会社
撮像装置
24日前
キヤノン株式会社
現像装置
2日前
キヤノン株式会社
記録装置
24日前
キヤノン株式会社
定着装置
23日前
キヤノン株式会社
現像容器
2日前
キヤノン株式会社
撮像装置
23日前
キヤノン株式会社
電子機器
25日前
キヤノン株式会社
現像装置
2日前
キヤノン株式会社
モジュール
4日前
キヤノン株式会社
半導体装置
11日前
キヤノン株式会社
光学センサ
4日前
キヤノン株式会社
現像剤容器
10日前
キヤノン株式会社
画像形成装置
10日前
キヤノン株式会社
画像形成装置
10日前
キヤノン株式会社
画像形成装置
3日前
続きを見る
他の特許を見る