TOP
|
特許
|
意匠
|
商標
特許ウォッチ
Twitter
他の特許を見る
公開番号
2025132696
公報種別
公開特許公報(A)
公開日
2025-09-10
出願番号
2024030436
出願日
2024-02-29
発明の名称
光学測定装置
出願人
キヤノン株式会社
代理人
個人
,
個人
,
個人
,
個人
主分類
G01N
35/04 20060101AFI20250903BHJP(測定;試験)
要約
【課題】プレートを用いて反応を行わせる反応室と所定の反応が生じたか否かを判定する測定室との間でプレートを搬送する光学測定装置において、プレートの上記反応を行わせる側と反対側の面(他方の面)に付着した付着物の付着量を低減することで、光学測定の信頼度を高めた光学測定装置を提供する。
【解決手段】光学測定装置が、液体検体または所定の薬液によりアレイプレート上に反応生成物を生成させる反応室と、前記反応生成物を光学的に測定する測定室と、前記反応室と前記測定室との間で前記アレイプレートを搬送する室間搬送部と、前記室間搬送部により搬送される前記アレイプレートの前記他方の面に対して作用し該他方の面に付着した付着物の付着量を低減する付着物低減手段と、を有する。
【選択図】図1A
特許請求の範囲
【請求項1】
一方の面に複数の物質がアレイ状に固定されるとともに液体検体または所定の薬液が貯留される貯留部が設けられたアレイプレートが載置される反応室載置部と、前記貯留部に前記液体検体または所定の薬液を供給する給液部と、を備え、前記液体検体または所定の薬液と前記複数の物質との反応により前記アレイプレート上に反応生成物を生成させる反応室と、
前記反応生成物を保持した前記アレイプレートが載置される測定室載置部と、前記測定室載置部に載置された前記アレイプレート上の前記反応生成物を該アレイプレートの前記一方の面とは反対側の面である他方の面の側から該アレイプレートを通して光学的に測定する光学測定部と、を備え、前記反応生成物を光学的に測定する測定室と、
前記反応室と前記測定室との間で前記アレイプレートを搬送する室間搬送部と、
前記室間搬送部により搬送される前記アレイプレートの前記他方の面に対して作用し該他方の面に付着した付着物の付着量を低減する付着物低減手段と、を有することを特徴とする光学測定装置。
続きを表示(約 740 文字)
【請求項2】
前記付着物低減手段は、前記反応室と前記測定室との間に位置する、請求項1に記載の光学測定装置。
【請求項3】
前記付着物低減手段は、前記反応室と前記測定室との間に位置する支持部材に支持されている、請求項1または2に記載の光学測定装置。
【請求項4】
前記支持部材は、前記反応室と前記測定室とを分けるように構成されている、請求項3に記載の光学測定装置。
【請求項5】
前記室間搬送部は、前記反応室載置部と前記測定室載置部との間で前記アレイプレートを搬送するように構成されている、請求項1または2に記載の光学測定装置。
【請求項6】
前記反応室は、前記反応室載置部と前記室間搬送部との間で前記アレイプレートを受け渡す中継領域を有する、請求項1または2に記載の光学測定装置。
【請求項7】
前記反応室は、前記反応室載置部を介して前記アレイプレートを移動する反応室搬送部をさらに有する、請求項6に記載の光学測定装置。
【請求項8】
前記反応室は、前記中継領域とは異なる位置に、前記アレイプレートが前記給液部により給液される給液領域を有する、請求項7に記載の光学測定装置。
【請求項9】
前記反応室搬送部は、前記給液領域と前記中継領域との間において、前記アレイプレートを搬送する、請求項8に記載の光学測定装置。
【請求項10】
前記反応室は、前記アレイプレートに対して熱的または機械的なエネルギーを作用させ前記アレイプレート上の反応を調整する反応調整部を有する、請求項7に記載の光学測定装置。
(【請求項11】以降は省略されています)
発明の詳細な説明
【技術分野】
【0001】
本発明は、光学測定装置、特に、アレイプレートやプレート搬送部に付着する付着物を低減する構造を具備する光学測定装置に関する。
続きを表示(約 2,600 文字)
【背景技術】
【0002】
基板上にたんぱく質、ペプチド、核酸等の物質のスポットがアレイ状に多数固定されたスポット領域を有する、プロテインアレイ、ペプチドアレイ、DNAアレイ等の、アレイプレートが知られている。こうしたアレイプレートを用いることで、固定された多数の物質と検体中の物質との相互作用を一度に観察することができる。したがって、血液、細胞抽出液、唾液、組織間液等の生体由来の液体検体と多数の物質との相互作用を網羅的に解析することができる。
【0003】
アレイプレートを用いた測定方法として、興味対象となる相互作用が起こったスポットを選択的に蛍光標識して、光学的情報を得る方法が知られている。蛍光標識されたスポットを観察する装置として、共焦点レーザー顕微鏡が知られている。共焦点レーザー顕微鏡は、照射光学系、蛍光検出光学系、及び2次元走査系を有している。蛍光検出光学系は、蛍光プローブによって標識されたスポットからの蛍光の光量を検出する機能を有する。2次元走査系は、アレイプレートあるいは光学系を2次元走査することで、アレイプレート上のスポット領域の蛍光画像を取得する機能を有する。
【0004】
特許文献1に記載された検体評価装置では、反応室において、液体を保持したアレイプレート上で加熱を含む処理を行い、アレイプレート上での薬液供給や薬液を低減させる吸引処理をピペット等を用いて行っている。その薬液供給や吸引処理を行うピペット等は、作業の際にアレイプレートの上方を移動する。そして、反応室に隣接する測定室(光学測定部)において、液体保持状態を維持したまま光学走査測定を行うことで、固液界面における反応の証跡を評価している。
【0005】
特許文献2に記載された撮像装置では、インキュベータで培養された観察対象が収納された液保持容器を撮像装置本体に搬送する搬送機構が設けられている。撮像装置本体に搬送された液保持容器は、観察対象を撮像する撮像部を下部に備えているステージに載せられる。その撮像装置は、撮像部によって、固液界面を含む液保持容器の液保持側の反対側(裏面側)に付着する液滴を光学的に検知し、それに応じて裏面側の液滴を除去し、それにより光学測定時の焦点ずれを低減することで、培養した多能性幹細胞を液保持容器越しでも綺麗に撮像することができる。
【先行技術文献】
【特許文献】
【0006】
特開2023-12426号公報
特開2018-77337号公報
【発明の概要】
【発明が解決しようとする課題】
【0007】
特許文献1の装置構成では、反応室においてアレイプレートの上方を移動するピペット等で複数の液体試薬の供給と排出を行う際に、ピペット等からの液漏れや、意図しないピペット等の脱落によりアレイプレート外面に付着物が付着する恐れがあった。また、特許文献1や特許文献2の装置構成では、アレイプレートや培養容器など観察対象を収納している物を低温状態から室温状態へ取り出した場合に、結露が発生したり、薬液の残渣が液体から固形化したりして、アレイプレートや培養容器の外面(液保持側の反対側の面)に付着物が付着する恐れがあった。また、一般に光学測定装置では、反応室においてアレイプレートを振とうさせる処理を行うため、振とうの揺れによりアレイプレート内部の薬液が外部に漏れだしてアレイプレート外面に付着する恐れがあった。アレイプレートや培養容器の外面に付着した付着物は、外部からの光学的観察により反応の有無を検出する際の障害となりうるため、こうした付着物を除去ないし低減する必要がある。
本発明は、結露、振とう、分注/吸引などでアレイプレートや培養容器の外面に付着した付着物が測定室に搬送される過程で低減され、安定した光学測定が行える光学測定装置を提供することを目的とする。
【課題を解決するための手段】
【0008】
本発明の光学測定装置は、
一方の面に複数の物質がアレイ状に固定されるとともに液体検体または所定の薬液が貯留される貯留部が設けられたアレイプレートが載置される反応室載置部と、前記貯留部に前記液体検体または所定の薬液を供給する給液部と、を備え、前記液体検体または所定の薬液と前記複数の物質との反応により前記アレイプレート上に反応生成物を生成させる反応室と、
前記反応生成物を保持した前記アレイプレートが載置される測定室載置部と、前記測定室載置部に載置された前記アレイプレート上の前記反応生成物を該アレイプレートの前記一方の面とは反対側の面である他方の面の側から該アレイプレートを通して光学的に測定する光学測定部と、を備え、前記反応生成物を光学的に測定する測定室と、
前記反応室と前記測定室との間で前記アレイプレートを搬送する室間搬送部と、
前記室間搬送部により搬送される前記アレイプレートの前記他方の面に対して作用し、該他方の面に付着した付着物の付着量を低減する付着物低減手段と、を有することを特徴とする。
【発明の効果】
【0009】
本発明によれば、結露、振とう、分注/吸引などでアレイプレートの外面に付着した付着物が測定室に搬送される過程で低減され、安定した光学測定が行える光学測定装置を提供することができる。
【図面の簡単な説明】
【0010】
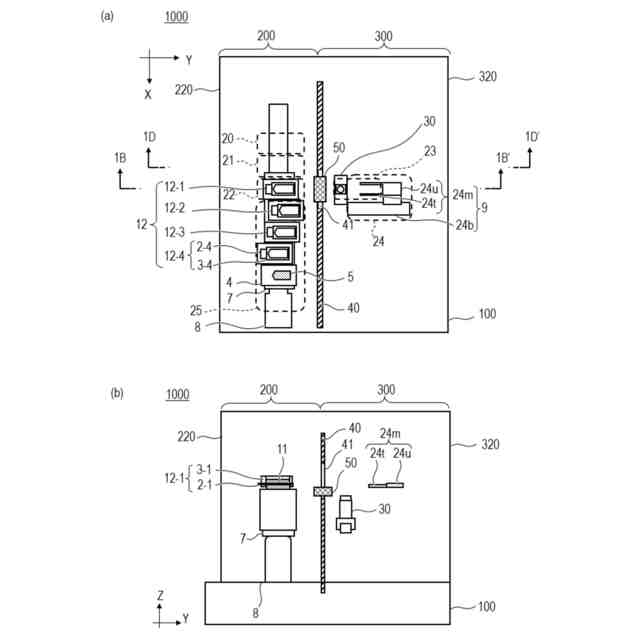
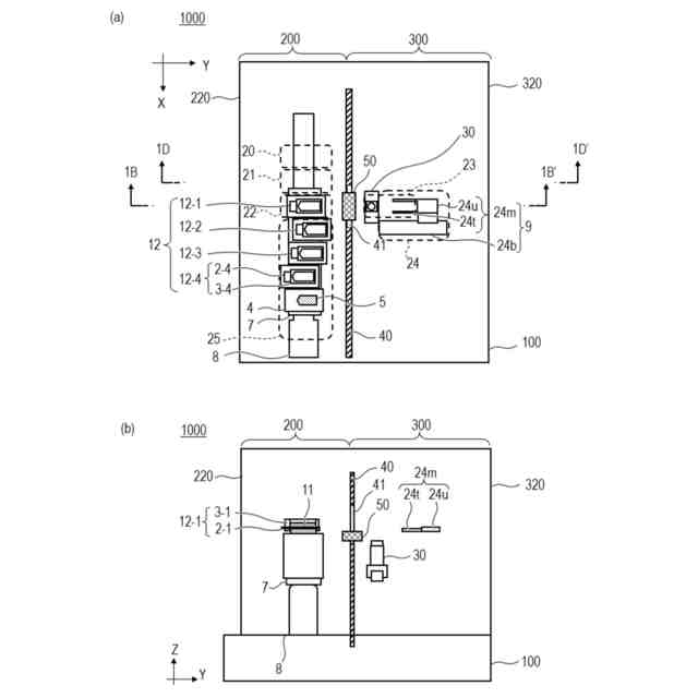
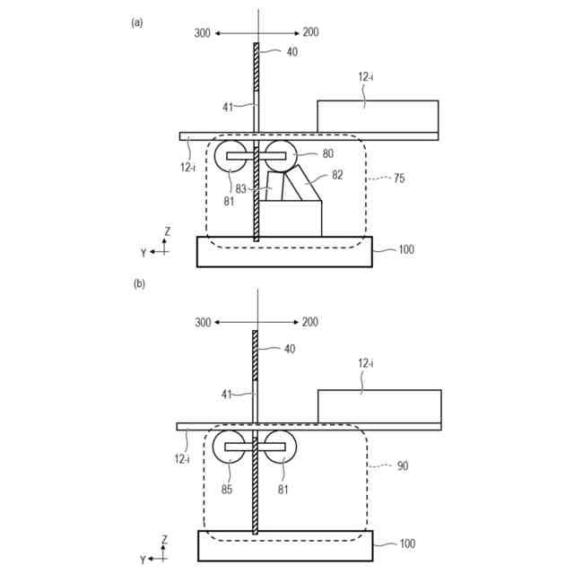
本発明の光学測定装置の構造の一例を模式的に示す2面図(a)(b)である。
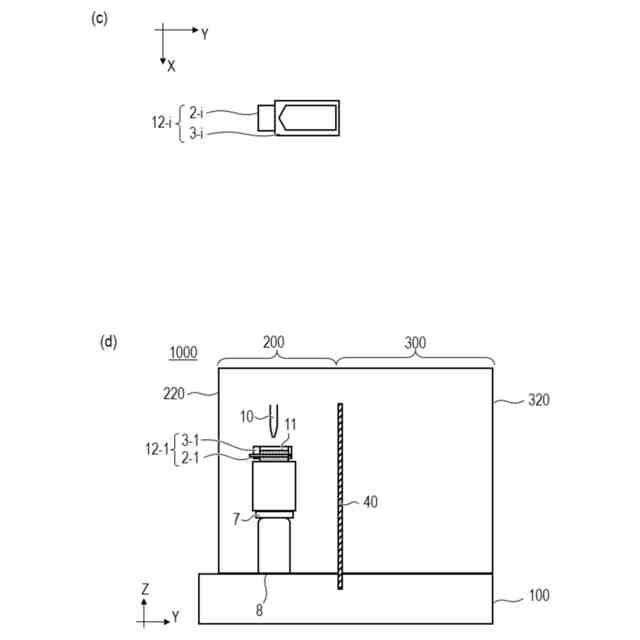
図1Aに示す光学測定装置に好適に用いられる枠付きアレイプレートの構造を示す模式図(c)と、反応室載置部に載置されたアレイプレートとピペットチップとの位置関係を示す模式図(d)である。
図1Aに示す光学測定装置の光学測定時(アレイプレート搬送後)における搬送アームの位置と連通口の位置関係を模式的に示す2面図(a)(b)である。
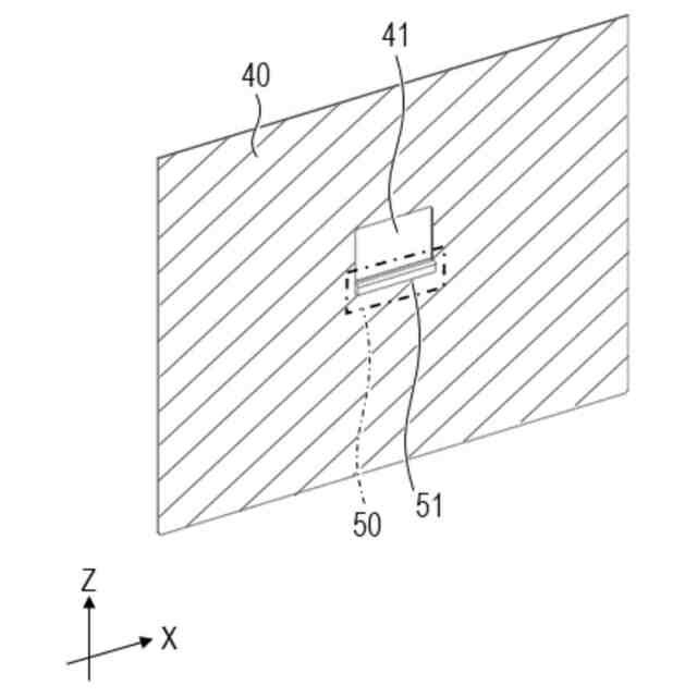
第1の実施形態に係る付着物低減手段を示す模式図である。
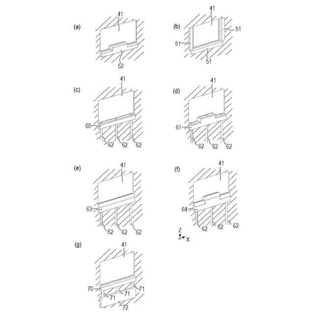
第1の実施形態に係る付着物低減手段の各種変形例(a)~(g)を示す模式図である。
第2の実施形態(a)および第3の実施形態(b)に係る付着物低減手段を示す模式図である。
【発明を実施するための形態】
(【0011】以降は省略されています)
この特許をJ-PlatPat(特許庁公式サイト)で参照する
関連特許
キヤノン株式会社
トナー
2日前
キヤノン株式会社
電子機器
10日前
キヤノン株式会社
記録装置
2日前
キヤノン株式会社
定着装置
10日前
キヤノン株式会社
撮像装置
2日前
キヤノン株式会社
発光装置
9日前
キヤノン株式会社
収容装置
10日前
キヤノン株式会社
表示装置
9日前
キヤノン株式会社
撮像装置
10日前
キヤノン株式会社
電子機器
10日前
キヤノン株式会社
電子機器
4日前
キヤノン株式会社
電子機器
6日前
キヤノン株式会社
現像剤容器
3日前
キヤノン株式会社
半導体装置
4日前
キヤノン株式会社
画像形成装置
6日前
キヤノン株式会社
画像形成装置
9日前
キヤノン株式会社
画像表示装置
2日前
キヤノン株式会社
画像形成装置
10日前
キヤノン株式会社
画像形成装置
6日前
キヤノン株式会社
画像形成装置
10日前
キヤノン株式会社
画像形成装置
4日前
キヤノン株式会社
画像形成装置
3日前
キヤノン株式会社
画像形成装置
3日前
キヤノン株式会社
画像形成装置
10日前
キヤノン株式会社
画像形成装置
3日前
キヤノン株式会社
吐出素子基板
2日前
キヤノン株式会社
画像形成装置
6日前
キヤノン株式会社
画像形成装置
3日前
キヤノン株式会社
表示システム
3日前
キヤノン株式会社
画像形成装置
6日前
キヤノン株式会社
画像形成装置
6日前
キヤノン株式会社
映像表示装置
6日前
キヤノン株式会社
画像形成装置
6日前
キヤノン株式会社
画像形成装置
6日前
キヤノン株式会社
画像処理装置
3日前
キヤノン株式会社
画像形成装置
6日前
続きを見る
他の特許を見る