TOP
|
特許
|
意匠
|
商標
特許ウォッチ
Twitter
他の特許を見る
公開番号
2025141514
公報種別
公開特許公報(A)
公開日
2025-09-29
出願番号
2024041488
出願日
2024-03-15
発明の名称
画像形成システム
出願人
キヤノン株式会社
代理人
個人
主分類
B41J
29/393 20060101AFI20250919BHJP(印刷;線画機;タイプライター;スタンプ)
要約
【課題】検査結果が異常となった原因をユーザに対して適切に提示することを可能とする。
【解決手段】画像形成システムは、画像データに基づいて用紙に画像を形成するプリンタと、用紙に形成された画像を読み取る読取部を有し、読取部により読み取られた画像を検査するための検査条件を設定可能である操作部と、検査装置と、検査結果を表示するディスプレイとを有する。検査装置は、設定された検査条件に従って前記読取手段による前記画像の読取結果の検査を実行する。検査手段による1枚目の用紙に対する検査結果が異常である場合、検査設定の確認を促すメッセージがディスプレイに表示される。
【選択図】図9
特許請求の範囲
【請求項1】
画像データに基づいて用紙に画像を形成する画像形成手段と、
前記用紙に形成された前記画像を読み取る読取手段と、
前記読取手段により読み取られた前記画像を検査するための検査条件を設定する設定手段と、
前記設定手段により設定された前記検査条件に従って前記読取手段による前記画像の読取結果の検査を実行する検査手段と、
前記検査手段の検査結果を表示する表示手段と、
前記検査手段による1枚目の前記用紙に対する前記検査結果が異常であることを示す場合に、前記表示手段に検査設定の確認を促すメッセージを表示させる制御手段と、を有することを特徴とする、
画像形成システム。
続きを表示(約 1,000 文字)
【請求項2】
前記設定手段は、前記用紙上に形成される前記画像に前記用紙毎に変更される領域を前記検査手段に検査させるバリアブル検査を設定可能であり、
前記制御手段は、前記検査手段による1枚目の前記用紙に対する前記検査結果が前記バリアブル検査に係る異常を示す場合に、前記表示手段に検査設定の確認を促すメッセージを表示させることを特徴とする、
請求項1に記載の画像形成システム。
【請求項3】
前記設定手段は、前記用紙上に形成される前記画像に前記用紙毎に変更される領域を前記検査手段に検査させるバリアブル検査を設定可能であり、
前記制御手段は、前記検査手段による1枚目の前記用紙に対する前記検査結果が異常を示し且つ前記設定手段により前記バリアブル検査が設定されている場合に、前記表示手段に検査設定の確認を促すメッセージを表示させることを特徴とする、
請求項1に記載の画像形成システム。
【請求項4】
試し刷りの指示を受け付ける受付手段をさらに有し、
前記制御手段は、前記指示に応じて実行される試し刷りで1枚目の前記用紙に対する前記検査結果が異常を示す場合に、前記表示手段に検査設定の確認を促すメッセージを表示させることを特徴とする、
請求項1に記載の画像形成システム。
【請求項5】
前記検査手段による1枚目の前記用紙に対する前記検査結果が異常を示す場合に、前記画像形成手段による画像形成が停止される、
請求項1に記載の画像形成システム。
【請求項6】
前記制御手段は、前記試し刷りを実行する場合に、2枚目以降の前記用紙で前記検査結果が異常であると判定された場合に、前記表示手段に装置異常の確認を促すメッセージを表示させることを特徴とする、
請求項4に記載の画像形成システム。
【請求項7】
前記検査条件には、それぞれ前記検査結果が異常であるか否かの判定に影響を与える複数の設定項目が含まれることを特徴とする、
請求項1に記載の画像形成システム。
【請求項8】
前記試し刷りでは、印刷対象となるページのうちの一部が印刷されることを特徴とする、
請求項4に記載の画像形成システム。
【請求項9】
前記制御手段は、前記表示手段に、前記試し刷りによる印刷と、前記試し刷りではない印刷とのどちらが実行されているかを提示させることを特徴とする、
請求項4に記載の画像形成システム。
発明の詳細な説明
【技術分野】
【0001】
本発明は、用紙に印刷した画像の品質検査を行う印刷検査機能を有する画像形成システムに関する。
続きを表示(約 1,700 文字)
【背景技術】
【0002】
画像形成装置は、印刷する画像を表す画像データに基づいて、用紙に画像を印刷して印刷物を生成する。特に、商業印刷の現場で使用される画像形成装置では、一度に多くの部数またはページ数を印刷することがある。特許文献1には、本印刷の前に特定のページのみを印刷する試し刷りを実行する技術が開示されている。
【0003】
印刷検査装置は、画像形成装置で用紙に印刷された画像が画像データで指示された通りに形成されているか否かを検査する。この検査では、画像データを基準データとし、用紙に印刷された画像をスキャナ等のセンサで読み取ったスキャンデータを検査画像データとして両データの比較を行う。印刷検査装置は、基準データと検査画像データとの一致度合いにより、印刷物の印刷品質を判定する。
【0004】
印刷検査装置では、あらかじめユーザにより設定された検査領域や検査強度などの検査設定に従って印刷検査が実行される。しかし、ユーザによる検査設定の内容が間違っている(ユーザが本来意図したものとは異なっている)ことにより検査結果が異常(検査NG)と判断されることもある。その場合、リカバリ印刷で再印刷しても再度検査NGとなるため、用紙を無駄に消費してしまうという課題がある。特許文献2では、ユーザが設定する検査設定領域に対して、印刷時に読み取るデータがブランクかどうかを判別する。なお、データがブランクであるとは、検査領域に画像が形成されていないことをいう。データがブランクの場合には、検査設定の間違いがユーザに通知される。また、読み取ったデータがブランクでなく、かつ、検査領域にバーコード画像が形成されていても読み取ったバーコードがデコードできない場合には、印刷不良の可能性が高いとしてリカバリ印刷を行う。
【先行技術文献】
【特許文献】
【0005】
特開2021-184155
特開2021-053819
【発明の概要】
【発明が解決しようとする課題】
【0006】
しかしながら、この場合にはリカバリ印刷しても再度検査NGとなり得る。従って、ユーザは検査設定に間違いがあったのか、または印刷不良があったのかと原因を切り分ける必要があり、ユーザ作業の工数増大を招く。
【0007】
本発明は、上述の問題に鑑み、検査結果が異常となった原因をユーザに対して適切に提示することを可能とすることを主たる目的とする。
【課題を解決するための手段】
【0008】
本発明の画像形成装置は、画像データに基づいて用紙に画像を形成する画像形成手段と、前記用紙に形成された前記画像を読み取る読取手段と、前記読取手段により読み取られた前記画像を検査するための検査条件を設定する設定手段と、前記設定手段により設定された前記検査条件に従って前記読取手段による前記画像の読取結果の検査を実行する検査手段と、前記検査手段の検査結果を表示する表示手段と、前記検査手段による1枚目の用紙に対する検査結果が異常であることを示す場合に、前記表示手段に検査設定の確認を促すメッセージを表示させる制御手段と、を有することを特徴とする。
【発明の効果】
【0009】
本発明によれば、検査結果が異常となった原因をユーザに対して適切に提示することを可能とすることができる。
【図面の簡単な説明】
【0010】
画像形成システムの構成図。
コントローラの構成図。
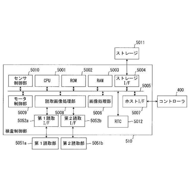
検査制御部の構成図。
操作画面の説明図。
検査設定画面の説明図。
(a)~(c)はそれぞれ検査設定間違い例の説明図。
(a)、(b)はそれぞれ検査実行時の操作画面の説明図。
本印刷検査処理のフロー図。
試し刷り検査処理のフロー図。
第2実施形態における検査実行時の操作画面の説明図。
第2実施形態における試し刷り検査処理のフロー図。
第3実施形態における試し刷り検査処理のフロー図。
【発明を実施するための形態】
(【0011】以降は省略されています)
この特許をJ-PlatPat(特許庁公式サイト)で参照する
関連特許
キヤノン株式会社
トナー
今日
キヤノン株式会社
トナー
1か月前
キヤノン株式会社
電子機器
4日前
キヤノン株式会社
電子機器
16日前
キヤノン株式会社
記録装置
15日前
キヤノン株式会社
収容装置
8日前
キヤノン株式会社
撮像装置
28日前
キヤノン株式会社
定着装置
14日前
キヤノン株式会社
定着装置
23日前
キヤノン株式会社
定着装置
8日前
キヤノン株式会社
撮像装置
25日前
キヤノン株式会社
定着装置
23日前
キヤノン株式会社
現像装置
1か月前
キヤノン株式会社
電子機器
28日前
キヤノン株式会社
光学装置
28日前
キヤノン株式会社
記録装置
今日
キヤノン株式会社
撮像装置
1か月前
キヤノン株式会社
電子機器
8日前
キヤノン株式会社
電子機器
8日前
キヤノン株式会社
撮像装置
15日前
キヤノン株式会社
定着装置
23日前
キヤノン株式会社
撮像装置
14日前
キヤノン株式会社
電子機器
1か月前
キヤノン株式会社
電子機器
23日前
キヤノン株式会社
電子機器
25日前
キヤノン株式会社
記録装置
16日前
キヤノン株式会社
撮像装置
1か月前
キヤノン株式会社
発光装置
7日前
キヤノン株式会社
撮像装置
16日前
キヤノン株式会社
撮像装置
今日
キヤノン株式会社
表示装置
7日前
キヤノン株式会社
電子機器
2日前
キヤノン株式会社
撮像装置
8日前
キヤノン株式会社
半導体装置
2日前
キヤノン株式会社
容器構造体
1か月前
キヤノン株式会社
容器構造体
1か月前
続きを見る
他の特許を見る