TOP
|
特許
|
意匠
|
商標
特許ウォッチ
Twitter
他の特許を見る
公開番号
2025143172
公報種別
公開特許公報(A)
公開日
2025-10-01
出願番号
2024149688
出願日
2024-08-30
発明の名称
細胞画像解析方法
出願人
キヤノン株式会社
,
キヤノンメディカルシステムズ株式会社
代理人
個人
,
個人
,
個人
,
個人
主分類
G06T
7/00 20170101AFI20250924BHJP(計算;計数)
要約
【課題】精度の高い細胞解析方法の提供を課題とする。
【解決手段】細胞を連続した異なる複数のタイミングで撮影した複数の細胞画像を前記タイミングと関連付けて収集した時系列細胞画像群を取得する画像取得工程、前記細胞画像から細胞候補領域を抽出する領域抽出工程、前記時系列細胞画像群に含まれる、それぞれ異なるタイミングに関連付けられた、複数の前記細胞画像の前記細胞候補領域について、同一の対象に対応すると判定された前記細胞候補領域を前記タイミングと関連付けて収集し、時系列細胞候補領域群として取得する領域追跡工程、および前記時系列細胞候補領域群に関する情報に基づいて、細胞の状態に関する情報について解析する解析工程を備え、前記解析工程は、学習済みモデルを用いることを特徴とする細胞画像解析方法を提供する。
【選択図】図1
特許請求の範囲
【請求項1】
細胞を連続した異なる複数のタイミングで明視野観察法又は位相差観察法のいずれかにより撮影した複数の細胞画像を前記タイミングと関連付けて収集した時系列細胞画像群を取得する画像取得工程、
前記時系列細胞画像群に含まれる前記細胞画像から細胞候補領域を抽出する領域抽出工程、
前記時系列細胞画像群に含まれる、それぞれ異なるタイミングに関連付けられた、複数の前記細胞画像の前記細胞候補領域について、同一の対象に対応するか否かを判定し、同一の対象に対応すると判定された前記細胞候補領域を前記タイミングと関連付けて収集し、時系列細胞候補領域群として取得する領域追跡工程、および
前記時系列細胞候補領域群に関する情報に基づいて、細胞の状態に関する情報について解析する解析工程を備え、
前記解析工程は、学習済みモデルを用いることを特徴とし、
該学習済みモデルは、学習用細胞より取得した時系列細胞候補領域群に関する情報および細胞の状態に関する情報に基づいて、
前記時系列細胞候補領域群に関する情報を入力とし、前記細胞の状態に関する情報を出力として訓練された機械学習モデルであること、を特徴とする細胞画像解析方法。
続きを表示(約 1,900 文字)
【請求項2】
前記学習済みモデルにおいて、前記細胞の状態に関する情報は、少なくとも蛍光輝度の時間的な変化に関する情報を含む蛍光輝度特徴量データに基づいて取得されること、を特徴とする請求項1に記載の細胞画像解析方法。
【請求項3】
前記学習済みモデルは、前記学習用細胞について、
前記時系列細胞画像群に含まれる前記細胞画像に対応した蛍光画像を前記タイミングと関連付けて収集した時系列蛍光画像群を取得する蛍光画像取得工程、
前記時系列蛍光画像群に基づいて前記時系列細胞候補領域群の蛍光輝度特徴量データを取得する蛍光輝度特徴量算出工程、
前記蛍光輝度特徴量データに基づいて、前記細胞候補領域に対して細胞の状態に関するラベルを付与するラベリング処理工程、および
前記細胞の状態に関するラベルに基づく細胞の状態に関する情報を出力とし、前記時系列細胞候補領域群に関する情報を入力として訓練することにより前記学習済みモデルを生成する学習済みモデル生成工程
を実施することにより取得されることを特徴とし、
さらに、
前記蛍光輝度特徴量データは、少なくとも蛍光輝度の時間的な変化に関する情報を含むこと、を特徴とする請求項2に記載の細胞画像解析方法。
【請求項4】
前記細胞の状態に関する情報は、前記細胞候補領域が生細胞領域であるか否か示す真偽値あるいは可能性を示すスカラ値の情報を少なくとも含むこと、を特徴とする請求項1に記載の細胞画像解析方法。
【請求項5】
前記細胞の状態に関する情報は、前記細胞候補領域が分化領域であるか否か示す真偽値あるいは可能性を示すスカラ値の情報を少なくとも含むこと、を特徴とする請求項1に記載の細胞画像解析方法。
【請求項6】
前記時系列細胞候補領域群に関する情報は、前記時系列細胞画像群に含まれる特徴量データであり、
前記特徴量データは、前記細胞画像の前記細胞候補領域における輝度特徴量、前記細胞候補領域の形態特徴量、前記輝度特徴量の時間的な変化に関する情報、および前記形態特徴量の時間的な変化に関する情報からなる群より選ばれる1つ以上を含み、前記特徴量データは、スカラ値あるいはベクトルであること、を特徴とする請求項1乃至5のいずれか1項に記載の細胞画像解析方法。
【請求項7】
前記時系列細胞候補領域群に関する情報は、前記時系列細胞画像群に含まれる前記細胞候補領域の特徴量データを前記タイミングと関連付けて収集した時系列特徴量データであり、前記特徴量データは、前記細胞画像の該細胞候補領域における輝度特徴量、および前記細胞候補領域の形態特徴量からなる群より選ばれる1つ以上を含むこと、を特徴とする請求項1乃至5のいずれか1項に記載の細胞画像解析方法。
【請求項8】
前記時系列細胞候補領域群に関する情報は、前記時系列細胞画像群に含まれる前記細胞画像の前記細胞候補領域に対応する部分細胞画像を前記タイミングと関連付けて収集した時系列画像データであること、を特徴とする請求項1乃至5のいずれか1項に記載の細胞画像解析方法。
【請求項9】
細胞を連続した異なる複数のタイミングで明視野観察法又は位相差観察法のいずれかにより撮影した複数の細胞画像を前記タイミングと関連付けて収集した時系列細胞画像群を取得する画像取得部、
前記時系列細胞画像群に含まれる前記細胞画像から細胞候補領域を抽出する領域抽出部、
前記時系列細胞画像群に含まれる、それぞれ異なるタイミングに関連付けられた、複数の前記細胞画像の前記細胞候補領域について、同一の対象に対応するか否かを判定し、同一の対象に対応すると判定された前記細胞候補領域を前記タイミングと関連付けて収集し、時系列細胞候補領域群として取得する領域追跡部、および
前記時系列細胞候補領域群に関する情報に基づいて、細胞の状態に関する情報について解析する解析部を備え、
前記解析部は、学習済みモデルを用いることを特徴とし、
該学習済みモデルは、学習用細胞より取得した時系列細胞候補領域群に関する情報および細胞の状態に関する情報に基づいて、
前記時系列細胞候補領域群に関する情報を入力とし、前記細胞の状態に関する情報を出力として訓練された機械学習モデルであること、を特徴とする細胞画像解析装置。
【請求項10】
請求項1から5のいずれか1項に記載の方法をコンピュータに実行させるためのプログラム。
(【請求項11】以降は省略されています)
発明の詳細な説明
【技術分野】
【0001】
本発明は、細胞画像解析方法、プログラム、細胞画像解析装置、及び細胞画像解析システムに関する。
続きを表示(約 3,700 文字)
【背景技術】
【0002】
細胞培養の分野において、細胞画像を解析し、細胞の生死といった細胞の状態を分析することがしばしば行われている。特に機械学習を用いて細胞画像を解析する技術が注目されている。
【0003】
特許文献1には、明視野画像から非侵襲に生細胞および死細胞特定する技術が開示されている。当該技術では、機械学習の教師データを得るために生細胞および死細胞を蛍光画像で特定している。
特許文献2には、時系列細胞画像の形態特徴から細胞の生死を判別する技術が開示されている。当該技術においても、機械学習の教師データとするために、染色した試料を用いることが述べられている。
【先行技術文献】
【特許文献】
【0004】
特開2017-85966号公報
特開2015-210212号公報
【発明の概要】
【発明が解決しようとする課題】
【0005】
しかしながら、細胞の生死といった状態は、時間とともに変化するため、特許文献1や2のように、特定の時間の蛍光画像のみに基づいて教師データを作成すると、不正確な正解ラベルが付与されたデータを用いて機械学習モデルを訓練することとなる。そういった機械学習モデルによる解析は精度を欠く可能性がある。本開示は、信頼度の高い教師データを作成する細胞解析方法の提供を課題とする。
【課題を解決するための手段】
【0006】
上記課題を解決するため、本開示は、一態様として、細胞を連続した異なる複数のタイミングで明視野観察法又は位相差観察法のいずれかにより撮影した複数の細胞画像を前記タイミングと関連付けて収集した時系列細胞画像群を取得する画像取得工程、前記時系列細胞画像群に含まれる前記細胞画像から細胞候補領域を抽出する領域抽出工程、前記時系列細胞画像群に含まれる、それぞれ異なるタイミングに関連付けられた、複数の前記細胞画像の前記細胞候補領域について、同一の対象に対応するか否かを判定し、同一の対象に対応すると判定された前記細胞候補領域を前記タイミングと関連付けて収集し、時系列細胞候補領域群として取得する領域追跡工程、および前記時系列細胞候補領域群に関する情報に基づいて、細胞の状態に関する情報について解析する解析工程を備え、前記解析工程は、学習済みモデルを用いることを特徴とし、該学習済みモデルは、学習用細胞より取得した時系列細胞候補領域群に関する情報および細胞の状態に関する情報に基づいて、前記時系列細胞候補領域群に関する情報を入力とし、前記細胞の状態に関する情報を出力として訓練された機械学習モデルであること、を特徴とする細胞画像解析方法を提供する。
【発明の効果】
【0007】
本開示によれば、より信頼度の高い教師データを作成することが可能である。本開示により作成した教師データを用いて、細胞の状態を判別する機械学習モデルの性能を向上させることができる。
【図面の簡単な説明】
【0008】
第一の実施形態に係る細胞画像解析方法の処理フロー図である。
ステップS101において取得した時系列位相差画像群の一例を示す。
ステップS102において取得したマスク画像の一例を示す。
ステップS103において取得した領域追跡結果の一例を示す。
ステップS104およびステップS105において算出した特徴量データ群の一例を示す。
第一の実施形態に係る学習済みモデル生成方法の処理フロー図である。
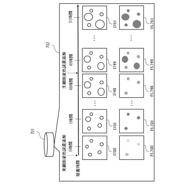
ステップS601において取得した時系列位相差画像群および蛍光画像の一例を示す。
ステップS604~S606において算出した特徴量データ群の一例を示す。
各時系列細胞候補領域群の蛍光輝度の時間推移グラフの一例を示す。
ステップS606において算出した各時系列細胞候補領域群の蛍光輝度特徴量データ群の一例を示す。
ラベリング処理後の各時系列細胞候補領域群の蛍光輝度特徴量データ群の一例を示す。
ラベリング処理後の各細胞候補領域の特徴量データ群の一例を示す。
ラベル毎の各時系列細胞候補領域群の蛍光輝度の時間推移グラフの一例を示す。
ステップS106において、学習済みモデルにより各ラベルに対する真偽値を取得した一例を示す。
ステップS106において、学習済みモデルにより各ラベルに対する尤度を取得した一例を示す。
第一の実施形態の変形例2において取得した時系列位相差画像群および蛍光画像の一例を示す。
第一の実施形態の変形例3に係る段階的ラベリング処理のデータフロー図である。
第一の実施形態の変形例5において生死の変化ある細胞とラベル付けされたデータから生細胞および死細胞データを抽出する一例を示す。
第一の実施形態の変形例4において非細胞とラベル付けされたデータのクレンジング処理を実施した結果の一例を示す。
第二の実施形態に係る細胞画像解析方法の処理フロー図である。
第二の実施形態に係る学習済みモデルへの入力と出力を説明する図の一部であり、特徴量データ群の一例を示す。
第二の実施形態に係る学習済みモデルへの入力と出力を説明する図の一部であり、時系列特徴量データを抽出した結果の例を示す。
第二の実施形態に係る学習済みモデルへの入力と出力を説明する図の一部であり、真偽値の結果が出力された例を示す。
第二の実施形態に係る学習済みモデル生成方法の処理フロー図である。
第三の実施形態に係る細胞画像解析方法の処理フロー図である。
第三の実施形態に係る学習済みモデルへの入力データの一例を示す図の一部であり、領域追跡番号および細胞候補領域に基づいて、各細胞画像から切り出された部分細胞画像群の一例を示す。
第三の実施形態に係る学習済みモデルへの入力と出力を説明する図の一部であり、真偽値の結果が出力された例を示す。
第三の実施形態に係る学習済みモデル生成方法の処理フロー図である。
本開示に係るプログラムを実行可能な情報処理装置のハードウェア構成例を示すブロック図である。
第一の実施形態の変形例3において取得した時系列位相差画像群および蛍光画像の一例を示す。
細胞画像解析装置の一例を示す。
細胞画像解析システムの一例を示す。
生細胞判定モデルの精度を評価した結果の一例を示す。
培養時間ごとに正解率(生細胞)を評価した結果を示す。
培養時間ごとに正解率(非生細胞)を評価した結果を示す。
培養時間帯(0~11時間)と培養時間帯(12時間以上)の、それぞれの精度評価指標を計算した結果を示す。
培養時間ごとに正解率(生細胞)を評価した結果を示す。
培養時間ごとに正解率(非生細胞)を評価した結果を示す。
【発明を実施するための形態】
【0009】
以下、添付図面を参照して実施形態を詳しく説明する。なお、以下の実施形態は特許請求の範囲に係る発明を限定するものではない。実施形態には複数の特徴が記載されているが、これらの複数の特徴の全てが発明に必須のものとは限らず、また、複数の特徴は任意に組み合わせられてもよい。さらに、添付図面においては、同一若しくは同様の構成に同一の参照番号を付し、重複した説明は省略する。
【0010】
本開示は、細胞を連続した異なる複数のタイミングで明視野観察法又は位相差観察法のいずれかにより撮影した複数の細胞画像を前記タイミングと関連付けて収集した時系列細胞画像群を取得する画像取得工程、前記時系列細胞画像群に含まれる前記細胞画像から細胞候補領域を抽出する領域抽出工程、前記時系列細胞画像群に含まれる、それぞれ異なるタイミングに関連付けられた、複数の前記細胞画像の前記細胞候補領域について、同一の対象に対応するか否かを判定し、同一の対象に対応すると判定された前記細胞候補領域を前記タイミングと関連付けて収集し、時系列細胞候補領域群として取得する領域追跡工程、および前記時系列細胞候補領域群に関する情報に基づいて、細胞の状態に関する情報について解析する解析工程を備え、前記解析工程は、学習済みモデルを用いることを特徴とし、
該学習済みモデルは、学習用細胞より取得した時系列細胞候補領域群に関する情報および細胞の状態に関する情報に基づいて、前記時系列細胞候補領域群に関する情報を入力とし、前記細胞の状態に関する情報を出力として訓練された機械学習モデルであること、を特徴とする細胞画像解析方法を提供する。
(【0011】以降は省略されています)
この特許をJ-PlatPat(特許庁公式サイト)で参照する
関連特許
キヤノン株式会社
トナー
2日前
キヤノン株式会社
トナー
1か月前
キヤノン株式会社
光学装置
1か月前
キヤノン株式会社
記録装置
2日前
キヤノン株式会社
電子機器
6日前
キヤノン株式会社
定着装置
25日前
キヤノン株式会社
定着装置
25日前
キヤノン株式会社
定着装置
25日前
キヤノン株式会社
表示装置
9日前
キヤノン株式会社
定着装置
16日前
キヤノン株式会社
収容装置
10日前
キヤノン株式会社
電子機器
10日前
キヤノン株式会社
電子機器
25日前
キヤノン株式会社
現像装置
1か月前
キヤノン株式会社
電子機器
1か月前
キヤノン株式会社
撮像装置
10日前
キヤノン株式会社
電子機器
1か月前
キヤノン株式会社
定着装置
10日前
キヤノン株式会社
電子機器
4日前
キヤノン株式会社
撮像装置
18日前
キヤノン株式会社
記録装置
18日前
キヤノン株式会社
電子機器
27日前
キヤノン株式会社
発光装置
9日前
キヤノン株式会社
撮像装置
1か月前
キヤノン株式会社
電子機器
18日前
キヤノン株式会社
撮像装置
27日前
キヤノン株式会社
電子機器
10日前
キヤノン株式会社
撮像装置
2日前
キヤノン株式会社
撮像装置
17日前
キヤノン株式会社
記録装置
17日前
キヤノン株式会社
撮像装置
16日前
キヤノン株式会社
現像剤容器
3日前
キヤノン株式会社
半導体装置
4日前
キヤノン株式会社
画像形成装置
6日前
キヤノン株式会社
画像形成装置
6日前
キヤノン株式会社
画像形成装置
6日前
続きを見る
他の特許を見る