TOP
|
特許
|
意匠
|
商標
特許ウォッチ
Twitter
他の特許を見る
公開番号
2025146939
公報種別
公開特許公報(A)
公開日
2025-10-03
出願番号
2025125539,2021135856
出願日
2025-07-28,2021-08-23
発明の名称
定着装置及び画像形成装置
出願人
キヤノン株式会社
代理人
個人
,
個人
主分類
G03G
15/20 20060101AFI20250926BHJP(写真;映画;光波以外の波を使用する類似技術;電子写真;ホログラフイ)
要約
【課題】定着装置の状態に応じた検知温度に基づいて、ヒータへの電力供給を1つの発熱体への電力供給から複数の発熱体に交互に電力供給する制御に切り替えること。
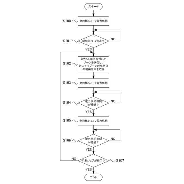
【解決手段】基板54a上に発熱体54b1、54b3を有し、定着フィルム51を加熱するヒータ54と、ヒータ54の温度を検知する定着温度センサ59と、交流電源55から発熱体54b1又は発熱体54b3への電力供給路を切り替えるトライアック56a、56b、発熱体切替器57を制御し、発熱体54b1又は発熱体54b3に電力を供給させるCPU94を備え、CPU94は、発熱体54b1に電力を供給させる第1の制御を行い(S100)、定着温度センサ59により検知した温度が閾値温度に到達した場合(S101)、発熱体54b1又は発熱体54b3に交互に電力を供給させる第2の制御に切り替える(S102~S107)。
【選択図】図7
特許請求の範囲
【請求項1】
記録材上の未定着のトナー像を記録材に定着させる定着装置であって、
加熱回転体と、
基板上に第1の発熱体と、長手方向の長さが前記第1の発熱体よりも短い第2の発熱体と、を有し、前記加熱回転体を加熱するヒータと、
前記ヒータの温度を検知する第1の温度検知手段と、
前記加熱回転体とニップ部を形成する加圧回転体と、
交流電源から前記第1の発熱体又は前記第2の発熱体への電力供給路を切り替える切替手段と、
前記切替手段を制御し、前記第1の発熱体又は前記第2の発熱体に電力を供給させる制御手段と、
を備え、
前記制御手段は、前記第1の発熱体に電力を供給させる第1の制御を行い、前記第1の温度検知手段により検知した温度が閾値温度に到達した場合、前記第1の発熱体又は前記第2の発熱体に交互に電力を供給させる第2の制御に切り替えることを特徴とする定着装置。
続きを表示(約 1,400 文字)
【請求項2】
前記ニップ部を記録材が通過すると増加し、記録材が前記ニップ部を通過しない時間経過に伴って減少するカウント値に基づいて前記定着装置の温度を予測する温度予測手段を備え、
前記閾値温度は、前記温度予測手段の前記カウント値に基づいて決定されることを特徴とする請求項1に記載の定着装置。
【請求項3】
前記閾値温度は、前記温度予測手段の前記カウント値が大きくなるほど、低くなることを特徴とする請求項2に記載の定着装置。
【請求項4】
前記交流電源から前記第1の発熱体、及び前記第2の発熱体に電力を供給する時間比率は、前記カウント値に基づいて決定されることを特徴とする請求項3に記載の定着装置。
【請求項5】
前記制御手段は、前記第1の温度検知手段により検知した温度が前記閾値温度に到達し、かつ、記録材が前記ニップ部に到達したことを検知すると、前記第2の制御を開始することを特徴とする請求項1から請求項4のいずれか1項に記載の定着装置。
【請求項6】
前記ヒータは、前記長手方向の長さが前記第2の発熱体よりも短い第3の発熱体と、
前記第1の発熱体と前記長手方向の長さが略同じ長さの第4の発熱体と、を有し、
前記基板の短手方向において、前記第1の発熱体、前記第2の発熱体、前記第3の発熱体、前記第4の発熱体の順に配置されていることを特徴とする請求項1から請求項5のいずれか1項に記載の定着装置。
【請求項7】
前記ヒータは、
前記第1の発熱体、前記第2の発熱体、及び前記第4の発熱体の一端が電気的に接続される第1の接点と、
前記第3の発熱体の一端が電気的に接続される第2の接点と、
前記第2の発熱体、及び前記第3の発熱体の他端が電気的に接続される第3の接点と、
前記第1の発熱体、及び前記第4の発熱体の他端が電気的に接続される第4の接点と、
を有することを特徴とする請求項6に記載の定着装置。
【請求項8】
前記切替手段は、第1のスイッチ、第2のスイッチ、及び第1のリレーを有し、
前記第1のスイッチは、前記交流電源と前記第4の接点との接続又は切断を行い、
前記第2のスイッチは、前記交流電源と前記第1のリレー、及び前記交流電源と前記第2の接点との接続又は切断を行い、
前記第1のリレーは、前記第2のスイッチと前記第3の接点との接続、又は前記交流電源と前記第3の接点との接続を切替可能であることを特徴とする請求項7に記載の定着装置。
【請求項9】
前記第1のスイッチ及び前記第2のスイッチの状態を検知する検知部と、
前記交流電源と前記第1の接点との間の電力供給路の接続又は切断を行う第2のリレーと、を備え、
前記検知部は、前記第1のスイッチが前記交流電源と前記第4の接点とを接続し、前記第2のスイッチが前記交流電源と前記第1のリレーとを接続した状態を検知した場合には、前記第2のリレーを駆動して前記電力供給路を切断することを特徴とする請求項8に記載の定着装置。
【請求項10】
前記第1のスイッチ及び前記第2のスイッチは、双方向サイリスタであることを特徴とする請求項9に記載の定着装置。
(【請求項11】以降は省略されています)
発明の詳細な説明
【技術分野】
【0001】
本発明は、定着装置、及び定着装置を備える画像形成装置に関する
続きを表示(約 1,900 文字)
【背景技術】
【0002】
記録材に画像形成を行う画像形成装置の定着装置では、記録材上のトナー像を加熱する定着フィルムと、トナー像を加圧する加圧ローラとが当接して形成される定着ニップ部を記録材が通過することにより、トナー像が記録材に定着される。定着フィルムを加熱するヒータ(加熱装置)の長手方向の幅より幅の狭い記録材の連続印刷を行うと、記録材が通過しない定着ニップ部の領域(非通紙部)において、温度が徐々に上昇する非通紙部昇温という現象が生じる。そして、非通紙部の温度上昇が顕著になると、定着フィルムや加圧ローラといった定着装置の定着部材が温度上昇によるダメージを受けることがある。そこで、例えば、特許文献1では、ヒータの長手方向の長さが異なる複数の発熱体を切り替えて使用することで、定着装置における非通紙部昇温を低減させる構成が提案されている。
【先行技術文献】
【特許文献】
【0003】
特開2001-100558号公報
【発明の概要】
【発明が解決しようとする課題】
【0004】
上述した方式では、定着装置のヒータの長手方向の中央部の温度が所定の温度に到達すると、複数の発熱体を切り替えて使用する制御が行われる。しかしながら、定着装置の状態により、その後、ヒータの長手方向の端部の温度が画像形成に適した温度まで上昇するまでに時間をかかったり、逆に非通紙部昇温が発生したりすることがあり、状態に応じたヒータの温度制御が求められている。
【0005】
本発明は、このような状況のもとでなされたもので、定着装置の状態に応じた検知温度に基づいて、ヒータへの電力供給を1つの発熱体への電力供給から複数の発熱体に交互に電力供給する制御に切り替えることを目的とする。
【課題を解決するための手段】
【0006】
上述した課題を解決するために、本発明では、以下の構成を備える。
【0007】
(1)記録材上の未定着のトナー像を記録材に定着させる定着装置であって、加熱回転体と、基板上に第1の発熱体と、長手方向の長さが前記第1の発熱体よりも短い第2の発熱体と、を有し、前記加熱回転体を加熱するヒータと、前記ヒータの温度を検知する第1の温度検知手段と、前記加熱回転体とニップ部を形成する加圧回転体と、交流電源から前記第1の発熱体又は前記第2の発熱体への電力供給路を切り替える切替手段と、前記切替手段を制御し、前記第1の発熱体又は前記第2の発熱体に電力を供給させる制御手段と、を備え、前記制御手段は、前記第1の発熱体に電力を供給させる第1の制御を行い、前記第1の温度検知手段により検知した温度が閾値温度に到達した場合、前記第1の発熱体又は前記第2の発熱体に交互に電力を供給させる第2の制御に切り替えることを特徴とする定着装置。
【0008】
(2)記録材に未定着のトナー像を形成する画像形成手段と、記録材上の未定着のトナー像を定着する前記(1)に記載の定着装置と、を備えることを特徴とする画像形成装置。
【発明の効果】
【0009】
本発明によれば、定着装置の状態に応じた検知温度に基づいて、ヒータへの電力供給を1つの発熱体への電力供給から複数の発熱体に交互に電力供給する制御に切り替えることができる。
【図面の簡単な説明】
【0010】
実施例1~4の画像形成装置の全体構成図
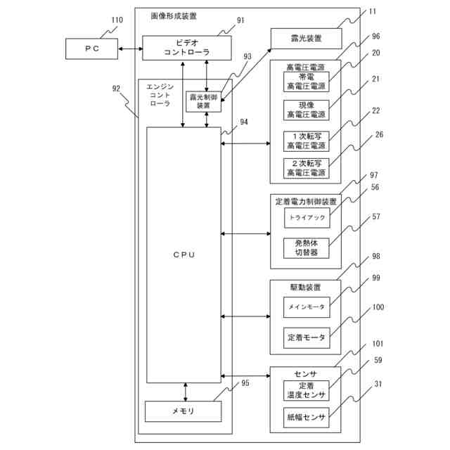
実施例1、2の画像形成装置の制御部の構成を示すブロック図
実施例1~4の定着装置の構成を説明する断面模式図
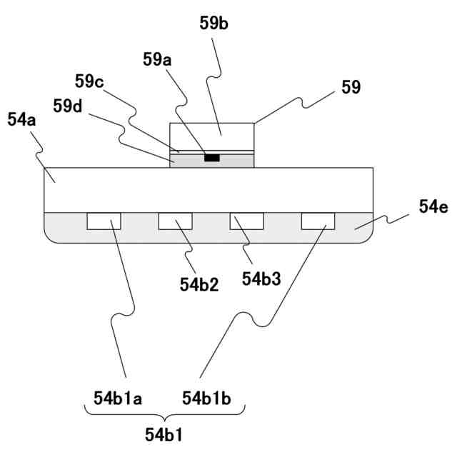
実施例1~4のヒータの構成を示す模式図
実施例1~4のヒータの断面を示す模式図
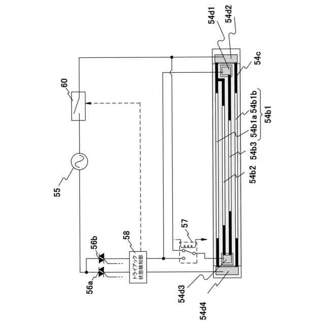
実施例1、2の定着装置の電力制御回路の構成を示す模式図
実施例1の発熱体への電力供給の制御シーケンスを示すフローチャート
実施例1の発熱体の切替開始タイミングを説明する図
実施例1の発熱体の切替開始タイミングを説明する図
実施例2の発熱体への電力供給の制御シーケンスを示すフローチャート
実施例2の発熱体の切替開始タイミングを説明する図
実施例3、4の画像形成装置の制御部の構成を示すブロック図
実施例3、4の定着装置の電力制御回路の構成を示す模式図
実施例3、4の電圧算出シーケンスを示すフローチャート
実施例4の発熱体への電力供給の制御シーケンスを示すフローチャート
【発明を実施するための形態】
(【0011】以降は省略されています)
この特許をJ-PlatPat(特許庁公式サイト)で参照する
関連特許
キヤノン株式会社
トナー
2日前
キヤノン株式会社
トナー
1か月前
キヤノン株式会社
撮像装置
17日前
キヤノン株式会社
記録装置
2日前
キヤノン株式会社
表示装置
9日前
キヤノン株式会社
撮像装置
16日前
キヤノン株式会社
定着装置
25日前
キヤノン株式会社
定着装置
25日前
キヤノン株式会社
定着装置
25日前
キヤノン株式会社
電子機器
4日前
キヤノン株式会社
現像装置
1か月前
キヤノン株式会社
電子機器
1か月前
キヤノン株式会社
撮像装置
18日前
キヤノン株式会社
収容装置
10日前
キヤノン株式会社
電子機器
6日前
キヤノン株式会社
定着装置
10日前
キヤノン株式会社
電子機器
10日前
キヤノン株式会社
電子機器
10日前
キヤノン株式会社
撮像装置
10日前
キヤノン株式会社
電子機器
18日前
キヤノン株式会社
記録装置
18日前
キヤノン株式会社
定着装置
16日前
キヤノン株式会社
発光装置
9日前
キヤノン株式会社
記録装置
17日前
キヤノン株式会社
撮像装置
1か月前
キヤノン株式会社
撮像装置
1か月前
キヤノン株式会社
電子機器
27日前
キヤノン株式会社
光学装置
1か月前
キヤノン株式会社
撮像装置
2日前
キヤノン株式会社
撮像装置
1か月前
キヤノン株式会社
電子機器
25日前
キヤノン株式会社
電子機器
1か月前
キヤノン株式会社
撮像装置
27日前
キヤノン株式会社
容器構造体
1か月前
キヤノン株式会社
現像剤容器
3日前
キヤノン株式会社
半導体装置
4日前
続きを見る
他の特許を見る