TOP
|
特許
|
意匠
|
商標
特許ウォッチ
Twitter
他の特許を見る
10個以上の画像は省略されています。
公開番号
2025146357
公報種別
公開特許公報(A)
公開日
2025-10-03
出願番号
2024047085
出願日
2024-03-22
発明の名称
信号処理装置、信号処理方法、及びコンピュータプログラム
出願人
キヤノン株式会社
代理人
個人
,
個人
,
個人
主分類
H04N
23/76 20230101AFI20250926BHJP(電気通信技術)
要約
【課題】ユーザーに入力信号のダイナミックレンジや出力信号レベルを考慮させることなく、ニー補正のパラメータを調整することが可能な信号処理装置を提供する。
【解決手段】信号処理装置において、入力画像に適用するトーンカーブのデータを保持する保持手段と、前記トーンカーブの高輝度側階調補正の補正量を調整するための高輝度側階調補正パラメータを取得する補正パラメータ取得手段と、前記トーンカーブの最大出力レベルと前記高輝度側階調補正パラメータに基づき、前記トーンカーブのダイナミックレンジを保つように前記高輝度側階調補正の前記補正量を計算する補正量算出手段と、前記トーンカーブに前記高輝度側階調補正を適用して補正カーブを生成する補正カーブ生成手段と、前記補正カーブを前記入力画像に適用する補正カーブ適用手段と、を有することを特徴とする。
【選択図】図2
特許請求の範囲
【請求項1】
入力画像に適用するトーンカーブのデータを保持する保持手段と、
前記トーンカーブの高輝度側階調補正の補正量を調整するための高輝度側階調補正パラメータを取得する補正パラメータ取得手段と、
前記トーンカーブの最大出力レベルと前記高輝度側階調補正パラメータに基づき、前記トーンカーブのダイナミックレンジを保つように前記高輝度側階調補正の前記補正量を計算する補正量算出手段と、
前記トーンカーブに前記高輝度側階調補正を適用して補正カーブを生成する補正カーブ生成手段と、
前記補正カーブを前記入力画像に適用する補正カーブ適用手段と、
を有することを特徴とする信号処理装置。
続きを表示(約 1,100 文字)
【請求項2】
前記補正量算出手段によって算出された前記補正量の前記高輝度側階調補正を適用するか否かを受け付けて判定する判定手段を有し、
前記判定手段により、前記高輝度側階調補正を適用すると判定された場合、前記補正カーブを前記入力画像に適用することを特徴とする請求項1に記載の信号処理装置。
【請求項3】
前記高輝度側階調補正パラメータは、前記トーンカーブに適用するニー補正のパラメータであって、前記ニー補正を開始するニーポイント又はニースロープのいずれか一方のパラメータであることを特徴とする請求項1に記載の信号処理装置。
【請求項4】
前記補正量算出手段は、前記最大出力レベルと前記ニー補正のパラメータに基づき、前記トーンカーブのダイナミックレンジを保つようにニー補正量を計算することを特徴とする請求項3に記載の信号処理装置。
【請求項5】
前記補正量算出手段は、前記補正量算出手段による前記ニー補正量の算出を適用しない場合、ユーザにより入力された前記ニースロープ及び前記ニーポイントのパラメータに応じて前記補正カーブを生成することを特徴とする請求項4に記載の信号処理装置。
【請求項6】
前記補正量算出手段は、前記補正量算出手段による前記ニー補正量の算出を適用する場合、前記ニースロープ又は前記ニーポイントのいずれかのパラメータのユーザによる入力を受け付けないことを特徴とする請求項4に記載の信号処理装置。
【請求項7】
前記補正量算出手段は、前記補正量算出手段による前記ニー補正量の算出を適用する場合に、前記ニースロープ又は前記ニーポイントのいずれかのパラメータが自動的に算出されることを示すメッセージを表示させることを特徴とする請求項6に記載の信号処理装置。
【請求項8】
入力画像に適用するトーンカーブの最大出力レベル及び前記トーンカーブの高輝度側階調補正レベルを調整するための高輝度側階調補正パラメータを取得する補正パラメータ取得ステップと、
前記最大出力レベルと前記高輝度側階調補正パラメータに基づき、前記トーンカーブのダイナミックレンジを保つように高輝度側階調補正の補正量を計算する補正量算出ステップと、
前記トーンカーブに前記高輝度側階調補正を適用して補正カーブを生成する補正カーブ生成ステップと、
前記補正カーブを前記入力画像に適用する補正カーブ適用ステップと、
を有することを特徴とする信号処理方法。
【請求項9】
請求項1~7のいずれか1項に記載の信号処理装置の各手段をコンピュータにより制御するためのコンピュータプログラム。
発明の詳細な説明
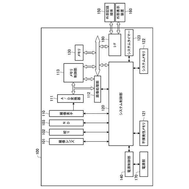
【技術分野】
【0001】
本発明は、信号処理装置、信号処理方法、及びコンピュータプログラム等に関する。
続きを表示(約 1,600 文字)
【背景技術】
【0002】
画像の高輝度側階調を補正する手段として一般的にニー(Knee)補正が用いられている。ニー補正とは所定の出力レベル(ニーポイント)以上の高輝度部分の傾き(ニースロープ)を変更して出力レベルを抑える処理である。ユーザーはニーポイントの位置とニースロープの程度を変更することにより、画像の調整を行うことができる。
【0003】
又、出力信号レベルを100%など所定のレベル以内に抑えたい場合などに、ニー補正を用いることがある。ニー補正を行うことで、中間輝度以下に影響を与えずに高輝度部分のみを圧縮して画像信号を所定のレベル以内に抑えることができる。
【0004】
しかしながら、ニーポイントの位置とニースロープの設定が適切ではないと、入力信号のダイナミックレンジを意図せず落としてしまうことや、目標の出力信号レベル未満になってしまうことがある。その場合には、入力信号のダイナミックレンジを活かしきれず、表示装置側で信号レベルが意図せずクリップされてしまい、高輝度側で色曲がりが発生してしまうことがある。
【0005】
階調補正の設定による意図しない出力信号の影響を抑えるために、例えば特許文献1では、ユーザーが設定した制御点とヒストグラムをもとに階調補正を行っている。特許文献2では、画像中に含まれる特定範囲の代表輝度値を算出し、それに対する目標代表値と目標ダイナミックレンジを設定する。それらの設定した値から、目標明輝度値及び目標暗輝度値を算出して輝度変換を行っている。
【先行技術文献】
【特許文献】
【0006】
特開2016-076908号公報
特開2006-254415号公報
【発明の概要】
【発明が解決しようとする課題】
【0007】
しかしながら、上述した従来技術では高輝度側の階調補正を行う場合に以下のような課題が存在する。特許文献1では、高輝度側だけではなく、カーブ全体に補正がかかってしまう。又、ヒストグラム生成が必要であり、ユーザーはヒストグラムをもとにしたパラメータを設定する必要があるため、入力信号によって補正の適用量が変化してしまう。特許文献2では、ユーザーが設定するのは、目標代表輝度値と目標ダイナミックレンジであり、ニーポイントを指定することはできない。又、代表輝度値を算出する算出手段が必要であり、入力信号によって代表輝度値が変化してしまう。
【0008】
本発明はこのような問題に鑑みてなされたものであり、ユーザーに入力信号のダイナミックレンジや出力信号レベルを考慮させることなく、ニー補正のパラメータを調整することが可能な信号処理装置を提供することを目的とする。
【課題を解決するための手段】
【0009】
本発明の1側面の信号処理装置は、
入力画像に適用するトーンカーブのデータを保持する保持手段と、
前記トーンカーブの高輝度側階調補正の補正量を調整するための高輝度側階調補正パラメータを取得する補正パラメータ取得手段と、
前記トーンカーブの最大出力レベルと前記高輝度側階調補正パラメータに基づき、前記トーンカーブのダイナミックレンジを保つように前記高輝度側階調補正の前記補正量を計算する補正量算出手段と、
前記トーンカーブに前記高輝度側階調補正を適用して補正カーブを生成する補正カーブ生成手段と、
前記補正カーブを前記入力画像に適用する補正カーブ適用手段と、
を有することを特徴とする。
【発明の効果】
【0010】
本発明によれば、ユーザーに入力信号のダイナミックレンジや出力信号レベルを考慮させることなく、ニー補正のパラメータを調整することが可能な信号処理装置を実現することができる。
【図面の簡単な説明】
(【0011】以降は省略されています)
この特許をJ-PlatPat(特許庁公式サイト)で参照する
関連特許
キヤノン株式会社
トナー
2日前
キヤノン株式会社
トナー
2日前
キヤノン株式会社
トナー
2日前
キヤノン株式会社
トナー
7日前
キヤノン株式会社
電子機器
1か月前
キヤノン株式会社
記録装置
22日前
キヤノン株式会社
撮像装置
22日前
キヤノン株式会社
定着装置
15日前
キヤノン株式会社
記録装置
23日前
キヤノン株式会社
収容装置
15日前
キヤノン株式会社
撮像装置
1か月前
キヤノン株式会社
定着装置
1日前
キヤノン株式会社
撮像装置
23日前
キヤノン株式会社
電子機器
23日前
キヤノン株式会社
撮像装置
3日前
キヤノン株式会社
撮像装置
7日前
キヤノン株式会社
定着装置
1か月前
キヤノン株式会社
定着装置
1か月前
キヤノン株式会社
定着装置
1か月前
キヤノン株式会社
表示装置
14日前
キヤノン株式会社
発光装置
14日前
キヤノン株式会社
撮影装置
今日
キヤノン株式会社
電子機器
11日前
キヤノン株式会社
記録装置
7日前
キヤノン株式会社
記録装置
今日
キヤノン株式会社
電子機器
1か月前
キヤノン株式会社
電子機器
15日前
キヤノン株式会社
電子機器
1か月前
キヤノン株式会社
撮像装置
21日前
キヤノン株式会社
現像容器
今日
キヤノン株式会社
撮像装置
15日前
キヤノン株式会社
撮像装置
1か月前
キヤノン株式会社
電子機器
15日前
キヤノン株式会社
定着装置
21日前
キヤノン株式会社
現像容器
今日
キヤノン株式会社
電子機器
9日前
続きを見る
他の特許を見る