TOP
|
特許
|
意匠
|
商標
特許ウォッチ
Twitter
他の特許を見る
10個以上の画像は省略されています。
公開番号
2025144230
公報種別
公開特許公報(A)
公開日
2025-10-02
出願番号
2024043907
出願日
2024-03-19
発明の名称
半導体装置およびその製造方法
出願人
住友電気工業株式会社
代理人
個人
主分類
H01L
25/07 20060101AFI20250925BHJP(基本的電気素子)
要約
【課題】ボイドの発生を防ぐことが可能な半導体装置およびその製造方法を提供する。
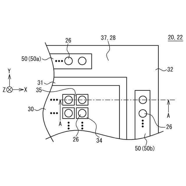
【解決手段】第1チップに第2チップ20をフリップチップ実装する工程と、前記第1チップと前記第2チップとの間に樹脂を充填する工程と、を有する半導体装置の製造方法において、前記第2チップの前記第1チップに対向する面22は、中央部30と外周部32とを有し、中央部および外周部に絶縁膜28が設けられ、絶縁膜28のうち外周部32に位置する部分に第1電極50(電極50a、50B)が設けられ、第1電極50の表面の樹脂に対する濡れ性は、絶縁膜28の前記樹脂に対する濡れ性よりも高く、電極50aのX軸方向の長さL5は、センサチップ20の長さL2より小さく、電極50bのY軸方向の長さL6は、センサチップ20の長さL4より小さい。
【選択図】図2A
特許請求の範囲
【請求項1】
第1チップに第2チップをフリップチップ実装する工程と、
前記第1チップと前記第2チップとの間に樹脂を充填する工程と、を有し、
前記第2チップの前記第1チップに対向する面は、中央部と外周部とを有し、
前記中央部および前記外周部に絶縁膜が設けられ、
前記絶縁膜のうち前記外周部に位置する部分に第1電極が設けられ、
前記第1電極の表面の前記樹脂に対する濡れ性は、前記絶縁膜の前記樹脂に対する濡れ性よりも高く、
前記第2チップの周方向における前記第1電極の長さは、前記外周部のうち前記絶縁膜が露出している部分の長さより小さい半導体装置の製造方法。
続きを表示(約 940 文字)
【請求項2】
前記第1電極の長さは、前記第2チップの外周の長さの1/3以下である請求項1に記載の半導体装置の製造方法。
【請求項3】
前記絶縁膜は窒化膜であり、
前記第1電極の表面は金または白金で形成されている請求項1または請求項2に記載の半導体装置の製造方法。
【請求項4】
前記外周部に複数の前記第1電極が設けられ、
前記複数の第1電極は前記中央部を囲む請求項1または請求項2に記載の半導体装置の製造方法。
【請求項5】
前記樹脂を充填する工程は、前記第1チップおよび前記第2チップを加熱する工程と、前記加熱された第2チップの端部に前記樹脂を供給する工程と、前記供給された樹脂が前記外周部および前記中央部を移動する工程と、前記樹脂を硬化する工程と、を含む請求項1または請求項2に記載の半導体装置の製造方法。
【請求項6】
前記第1チップの前記外周部のうち、前記樹脂が供給される位置に近い部分は複数の溝を有する請求項5に記載の半導体装置の製造方法。
【請求項7】
前記第2チップの前記中央部に複数のメサが設けられ、
前記複数のメサに第2電極が設けられ、
前記フリップチップ実装する工程は、
前記第1電極および前記第2電極を、前記第1チップにバンプによって接続する工程を含む請求項1または請求項2に記載の半導体装置の製造方法。
【請求項8】
第1チップと、
前記第1チップにフリップチップ実装された第2チップと、
前記第1チップと前記第2チップとの間に充填された樹脂と、を具備し、
前記第2チップの前記第1チップに対向する面は、中央部と外周部とを有し、
前記中央部および前記外周部に絶縁膜が設けられ、
前記絶縁膜のうち前記外周部に位置する部分に電極が設けられ、
前記電極の表面の前記樹脂に対する濡れ性は、前記絶縁膜の前記樹脂に対する濡れ性よりも高く、
前記第2チップの周方向における前記電極の長さは、前記外周部のうち前記絶縁膜が露出している部分の長さより小さい半導体装置。
発明の詳細な説明
【技術分野】
【0001】
本開示は半導体装置およびその製造方法に関するものである。
続きを表示(約 3,400 文字)
【背景技術】
【0002】
バンプを用いて、IC(集積回路)などを有するチップに、フォトダイオードなどを有するチップをフリップチップ実装することで、半導体受光素子を形成する技術が知られている(例えば特許文献1および特許文献2)。
【先行技術文献】
【特許文献】
【0003】
特開2021-163808号公報
特開2022-147340号公報
【発明の概要】
【発明が解決しようとする課題】
【0004】
フリップチップ実装の後、チップ間に樹脂を充填する。樹脂の中に空隙(ボイド)が発生し、機械的な耐久性が低下する恐れがある。そこで、ボイドの発生を防ぐことが可能な半導体装置およびその製造方法を提供することを目的とする。
【課題を解決するための手段】
【0005】
本開示に係る半導体装置の製造方法は、第1チップに第2チップをフリップチップ実装する工程と、前記第1チップと前記第2チップとの間に樹脂を充填する工程と、を有し、前記第2チップの前記第1チップに対向する面は、中央部と外周部とを有し、前記中央部および前記外周部に絶縁膜が設けられ、前記絶縁膜のうち前記外周部に位置する部分に第1電極が設けられ、前記第1電極の表面の前記樹脂に対する濡れ性は、前記絶縁膜の前記樹脂に対する濡れ性よりも高く、前記第2チップの周方向における前記第1電極の長さは、前記外周部のうち前記絶縁膜が露出している部分の長さより小さい。
【発明の効果】
【0006】
本開示によれば、ボイドの発生を防ぐことが可能な半導体装置およびその製造方法を提供することが可能である。
【図面の簡単な説明】
【0007】
図1Aは実施形態に係る半導体装置を例示する平面図である。
図1Bは半導体装置を例示する断面図である。
図2Aはセンサチップを例示する平面図である。
図2Bはセンサチップの拡大図である。
図2Cはセンサチップを例示する断面図である。
図3Aは半導体装置の製造方法を例示するフローチャートである。
図3Bは半導体装置の製造方法を例示するフローチャートである。
図4Aは半導体装置の製造方法を例示する断面図である。
図4Bは半導体装置の製造方法を例示する断面図である。
図4Cは半導体装置の製造方法を例示する断面図である。
図4Dは半導体装置の製造方法を例示する断面図である。
図5Aは半導体装置の製造方法を例示する平面図である。
図5Bは半導体装置の製造方法を例示する平面図である。
図5Cは半導体装置の製造方法を例示する平面図である。
図6Aは比較例に係る半導体装置のセンサチップを例示する平面図である。
図6Bは比較例における半導体装置の製造方法を例示する平面図である。
図7は濡れ性評価の結果を示す図である。
図8は第2実施形態に係るセンサチップを例示する平面図である。
図9は第3実施形態に係るセンサチップを例示する平面図である。
図10は第4実施形態に係るセンサチップを例示する平面図である。
図11は第5実施形態に係るセンサチップを例示する平面図である。
図12は第6実施形態に係るセンサチップを例示する平面図である。
図13は第7実施形態に係るセンサチップを例示する平面図である。
【発明を実施するための形態】
【0008】
[本開示の実施形態の説明]
最初に本開示の実施形態の内容を列記して説明する。
【0009】
本開示の一形態は、(1)第1チップに第2チップをフリップチップ実装する工程と、前記第1チップと前記第2チップとの間に樹脂を充填する工程と、を有し、前記第2チップの前記第1チップに対向する面は、中央部と外周部とを有し、前記中央部および前記外周部に絶縁膜が設けられ、前記絶縁膜のうち前記外周部に位置する部分に第1電極が設けられ、前記第1電極の表面の前記樹脂に対する濡れ性は、前記絶縁膜の前記樹脂に対する濡れ性よりも高く、前記第2チップの周方向における前記第1電極の長さは、前記外周部のうち前記絶縁膜が露出している部分の長さより小さい半導体装置の製造方法である。外周部の周長に対して、濡れ性の高い第1電極の占める割合が低く、濡れ性の低い絶縁膜が占める割合が高い。樹脂が外周部を流れる速さが低下する。樹脂が外周部を回り込む前に、樹脂は中央部にいきわたる。このため、ボイドの発生を防ぐことができる。
(2)上記(1)において、前記第1電極の長さは、前記第2チップの外周の長さの1/3以下でもよい。樹脂が外周部を流れる速さが低下するため、ボイドの発生を防ぐことができる。
(3)上記(1)または(2)において、前記絶縁膜は窒化膜であり、前記第1電極の表面は金または白金で形成されてもよい。外周部の周長に対して、濡れ性の高い第1電極の占める割合が低く、濡れ性の低い絶縁膜が占める割合が高い。樹脂が外周部を流れる速さが低下するため、ボイドの発生を防ぐことができる。
(4)上記(1)から(3)のいずれかにおいて、前記外周部に複数の前記第1電極が設けられ、前記複数の第1電極は前記中央部を囲んでもよい。樹脂が外周部を流れる速さが低下するため、ボイドの発生を防ぐことができる。複数の第1電極が第1チップに固定されるため、半導体装置の機械的な強度が高くなる。
(5)上記(1)から(4)のいずれかにおいて、前記樹脂を充填する工程は、前記第1チップおよび前記第2チップを加熱する工程と、前記加熱された第2チップの端部に前記樹脂を供給する工程と、前記供給された樹脂が前記外周部および前記中央部を移動する工程と、前記樹脂を硬化する工程と、を含んでもよい。樹脂が外周部の全体を移動する前に、樹脂は中央部を移動する。空気が混入しにくく、ボイドの発生を防ぐことができる。充填された樹脂が硬化することで、半導体装置の機械的強度が高くなる。
(6)上記(1)から(5)のいずれかにおいて、前記第1チップの前記外周部のうち、前記樹脂が供給される位置に近い部分は複数の溝を有してもよい。樹脂が溝を通り、中央部へと流れる。ボイドの発生を防ぐことができる。
(7)上記(1)から(6)のいずれかにおいて、前記第2チップの前記中央部に複数のメサが設けられ、前記複数のメサに第2電極が設けられ、前記フリップチップ実装する工程は、前記第1電極および前記第2電極を、前記第1チップにバンプによって接続する工程を含んでもよい。ボイドの発生を防ぐことで、第2電極と第1チップとの接続が安定する。半導体装置の機械的な強度が高くなる。
(8)第1チップと、前記第1チップにフリップチップ実装された第2チップと、前記第1チップと前記第2チップとの間に充填された樹脂と、を具備し、前記第2チップの前記第1チップに対向する面は、中央部と外周部とを有し、前記中央部および前記外周部に絶縁膜が設けられ、前記絶縁膜のうち前記外周部に位置する部分に電極が設けられ、前記電極の表面の前記樹脂に対する濡れ性は、前記絶縁膜の前記樹脂に対する濡れ性よりも高く、前記第2チップの周方向における前記電極の長さは、前記外周部のうち前記絶縁膜が露出している部分の長さより小さい半導体装置である。外周部の周長に対して、濡れ性の高い電極の占める割合が低く、濡れ性の低い絶縁膜が占める割合が高い。樹脂が外周部を流れる速さが低下する。樹脂が外周部を回り込む前に、樹脂は中央部にいきわたる。このため、ボイドの発生を防ぐことができる。
【0010】
[本開示の実施形態の詳細]
本開示の実施形態に係る半導体装置およびその製造方法の具体例を、以下に図面を参照しつつ説明する。なお、本開示はこれらの例示に限定されるものではなく、特許請求の範囲によって示され、特許請求の範囲と均等の意味および範囲内でのすべての変更が含まれることが意図される。
(【0011】以降は省略されています)
この特許をJ-PlatPat(特許庁公式サイト)で参照する
関連特許
個人
安全なNAS電池
1か月前
個人
フリー型プラグ安全カバー
1か月前
東レ株式会社
多孔質炭素シート
25日前
日本発條株式会社
積層体
6日前
ローム株式会社
半導体装置
25日前
ローム株式会社
半導体装置
4日前
ローム株式会社
半導体装置
4日前
ローム株式会社
半導体装置
4日前
エイブリック株式会社
半導体装置
27日前
キヤノン株式会社
電子機器
25日前
エイブリック株式会社
半導体装置
27日前
ローム株式会社
半導体装置
2日前
個人
防雪防塵カバー
6日前
株式会社GSユアサ
蓄電装置
1か月前
太陽誘電株式会社
全固体電池
2日前
ニチコン株式会社
コンデンサ
18日前
個人
半導体パッケージ用ガラス基板
5日前
株式会社GSユアサ
蓄電装置
2日前
沖電気工業株式会社
アンテナ
1か月前
オムロン株式会社
電磁継電器
1か月前
東レ株式会社
ガス拡散層の製造方法
25日前
株式会社ティラド
面接触型熱交換器
17日前
株式会社GSユアサ
蓄電装置
6日前
株式会社ホロン
冷陰極電子源
2日前
ニチコン株式会社
コンデンサ
18日前
日本特殊陶業株式会社
保持装置
1か月前
マクセル株式会社
配列用マスク
17日前
トヨタ自動車株式会社
二次電池
6日前
ローム株式会社
電子装置
6日前
日本特殊陶業株式会社
保持装置
4日前
日本特殊陶業株式会社
保持装置
2日前
株式会社ヨコオ
コネクタ
27日前
日本特殊陶業株式会社
保持装置
2日前
TDK株式会社
電子部品
2日前
日本特殊陶業株式会社
保持装置
6日前
住友電装株式会社
コネクタ
6日前
続きを見る
他の特許を見る