TOP
|
特許
|
意匠
|
商標
特許ウォッチ
Twitter
他の特許を見る
10個以上の画像は省略されています。
公開番号
2025140539
公報種別
公開特許公報(A)
公開日
2025-09-29
出願番号
2024040003
出願日
2024-03-14
発明の名称
コネクタ
出願人
住友電装株式会社
代理人
個人
,
個人
主分類
H01R
13/42 20060101AFI20250919BHJP(基本的電気素子)
要約
【課題】端子の位置ずれを抑制できるコネクタを提供する。
【解決手段】コネクタ10は、端子20と、端子20を保持するハウジング30とを備える。端子20は、第1軸線Xに沿って延びる雌端子部22と、第1軸線Xと交差する第2軸線Yに沿って延びる電線接続部21と、を有する。雌端子部22は、電線接続部21と接続される溝状の接続部23と、接続部23の端部から第1軸線Xに沿った一方向である前方向X1に向かって延びる筒状部24と、を有する。接続部23は、前方向X1の反対方向である後方向X2に開口している。ハウジング30は、端子20が収容される端子収容部37を有するハウジング本体31と、ハウジング本体31に取り付けられるカバー部材50と、を有する。カバー部材50は、接続部23の内部に挿入されるとともに接続部23と第2軸線Yにおいて係合可能に形成された突起部52を有する。
【選択図】図5
特許請求の範囲
【請求項1】
端子と、
前記端子を保持するハウジングと、
前記ハウジングの内部に収容されるとともに、第1軸線に沿って第1位置と第2位置とに移動可能に設けられたスライダと、
前記スライダを付勢するスプリングと、を備え、
前記端子は、前記第1軸線に沿って延びる雌端子部と、前記第1軸線と交差する第2軸線に沿って延びる電線接続部と、を有し、
前記雌端子部は、前記電線接続部と接続される溝状の接続部と、前記接続部の端部から前記第1軸線に沿った一方向である第1方向に向かって延びる筒状部と、を有し、
前記接続部は、前記第1方向の反対方向である第1反対方向に開口しており、
前記ハウジングは、
前記端子が収容される端子収容部を有するハウジング本体と、
前記ハウジング本体に取り付けられるカバー部材と、を有し、
前記カバー部材は、前記接続部の内部に挿入されるとともに前記接続部と前記第2軸線において係合可能に形成された突起部を有する、コネクタ。
続きを表示(約 1,000 文字)
【請求項2】
前記ハウジング本体は、前記第1反対方向に開口する箱状に形成されており、
前記カバー部材は、前記ハウジング本体の前記第1反対方向の開口を塞ぐ本体部と、前記本体部から前記第1方向に向かって突出する前記突起部と、を有する、請求項1に記載のコネクタ。
【請求項3】
前記接続部は、基部と、前記基部のうち前記第2軸線に沿った一方向である第2方向の端部に設けられた第1壁部と、前記基部のうち前記第2方向の反対方向である第2反対方向の端部に設けられた第2壁部とを有し、
前記第1壁部および前記第2壁部の各々は、前記第1方向および前記第2方向の双方と交差する第3方向に向かって突出しており、
前記突起部は、前記第2方向において前記第1壁部と係合可能に形成されるとともに、前記第2反対方向において前記第2壁部と係合可能に形成されている、請求項2に記載のコネクタ。
【請求項4】
前記カバー部材は、前記突起部から前記第2反対方向に向かって延びる回転規制部を有し、
前記回転規制部は、前記第1軸線を中心とする前記端子の回転方向において前記第2壁部と係合可能に形成されている、請求項3に記載のコネクタ。
【請求項5】
前記接続部は、前記第1壁部のうち前記第1反対方向の端部に設けられた切欠部を有し、
前記突起部は、前記本体部に接続された円柱状の基端部と、前記基端部から前記第1方向に向かって突出する円柱状の先端部と、を有し、
前記先端部の外径は、前記基端部の外径よりも小さく形成されており、
前記基端部の前記第1方向の端面は、前記切欠部により露出される前記第1壁部の前記第1反対方向の端面と前記第1軸線において係合可能に形成されている、請求項4に記載のコネクタ。
【請求項6】
前記第2壁部は、前記第3方向において前記回転規制部と対向しており、
前記突起部は、前記先端部から前記第3方向に向かって延びる係合面を有し、
前記第1壁部は、前記先端部の外周面に沿った湾曲形状に形成されており、
前記係合面は、前記回転方向において前記第1壁部の周方向の端面と係合可能に形成されている、請求項5に記載のコネクタ。
【請求項7】
前記カバー部材は、前記本体部から前記第1方向に向かって突出する位置規制部を有し、
前記位置規制部は、前記第1軸線において前記電線接続部と係合可能に形成されている、請求項2に記載のコネクタ。
発明の詳細な説明
【技術分野】
【0001】
本開示は、コネクタに関するものである。
続きを表示(約 2,200 文字)
【背景技術】
【0002】
従来、車両には、エアバッグインフレータ等の制御に用いられるコネクタ、所謂スクイブコネクタが搭載される(例えば、特許文献1参照)。この種のコネクタは、端子と、端子を保持するハウジングと、ハウジングの内部に収容されたスライダと、スライダを付勢するスプリングとを備えている。このコネクタでは、スプリングの付勢力によりスライダをスライドさせる方式によって、コネクタと相手コネクタとの嵌合保証を行っている。
【先行技術文献】
【特許文献】
【0003】
特開2016-21397号公報
【発明の概要】
【発明が解決しようとする課題】
【0004】
ところで、上記コネクタにおいては、ハウジングの内部における端子の位置ずれを抑制することが望まれている。
本開示の目的は、ハウジングの内部における端子の位置ずれを抑制できるコネクタを提供することにある。
【課題を解決するための手段】
【0005】
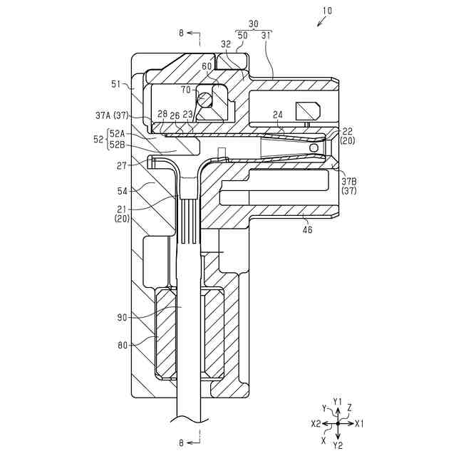
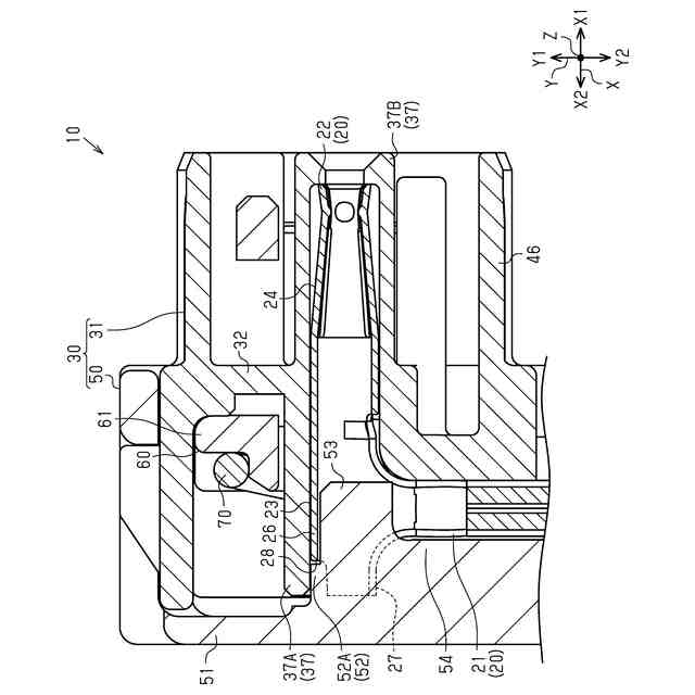
本開示のコネクタは、端子と、前記端子を保持するハウジングと、前記ハウジングの内部に収容されるとともに、第1軸線に沿って第1位置と第2位置とに移動可能に設けられたスライダと、前記スライダを付勢するスプリングと、を備え、前記端子は、前記第1軸線に沿って延びる雌端子部と、前記第1軸線と交差する第2軸線に沿って延びる電線接続部と、を有し、前記雌端子部は、前記電線接続部と接続される溝状の接続部と、前記接続部の端部から前記第1軸線に沿った一方向である第1方向に向かって延びる筒状部と、を有し、前記接続部は、前記第1方向の反対方向である第1反対方向に開口しており、前記ハウジングは、前記端子が収容される端子収容部を有するハウジング本体と、前記ハウジング本体に取り付けられるカバー部材と、を有し、前記カバー部材は、前記接続部の内部に挿入されるとともに前記接続部と前記第2軸線において係合可能に形成された突起部を有する。
【発明の効果】
【0006】
本開示のコネクタによれば、端子の位置ずれを抑制できるという効果を奏する。
【図面の簡単な説明】
【0007】
図1は、一実施形態のコネクタおよび相手コネクタを示す斜視図である。
図2は、一実施形態のコネクタを示す分解斜視図である。
図3は、一実施形態のコネクタの一部を示す断面斜視図である。
図4は、一実施形態のコネクタの一部を示す平面図である。
図5は、一実施形態のコネクタを示す断面図(図4における5-5線断面図)である。
図6は、一実施形態のカバー部材を示す斜視図である。
図7は、一実施形態のコネクタを示す断面図(図4における7-7線断面図)である。
図8は、一実施形態のコネクタを示す断面図(図5における8-8線断面図)である。
図9は、一実施形態のコネクタを示す断面図(図4における9-9線断面図)である。
図10は、一実施形態のコネクタを示す断面図である。
図11は、一実施形態のコネクタおよび相手コネクタを示す断面図(図4における11-11線断面図)である。
図12は、一実施形態のコネクタを示す断面図である。
【発明を実施するための形態】
【0008】
[本開示の実施形態の説明]
最初に本開示の実施形態を列挙して説明する。
[1]本開示のコネクタは、端子と、前記端子を保持するハウジングと、前記ハウジングの内部に収容されるとともに、第1軸線に沿って第1位置と第2位置とに移動可能に設けられたスライダと、前記スライダを付勢するスプリングと、を備え、前記端子は、前記第1軸線に沿って延びる雌端子部と、前記第1軸線と交差する第2軸線に沿って延びる電線接続部と、を有し、前記雌端子部は、前記電線接続部と接続される溝状の接続部と、前記接続部の端部から前記第1軸線に沿った一方向である第1方向に向かって延びる筒状部と、を有し、前記接続部は、前記第1方向の反対方向である第1反対方向に開口しており、前記ハウジングは、前記端子が収容される端子収容部を有するハウジング本体と、前記ハウジング本体に取り付けられるカバー部材と、を有し、前記カバー部材は、前記接続部の内部に挿入されるとともに前記接続部と前記第2軸線において係合可能に形成された突起部を有する。
【0009】
この構成によれば、端子収容部に端子が収容されたハウジング本体に対してカバー部材が取り付けられると、カバー部材の突起部が溝状の接続部に挿入される。このとき、突起部が、第2軸線において接続部と係合可能に設けられる。これら接続部と突起部との係合により、ハウジングの内部において端子が第2軸線に沿って移動することを好適に抑制できる。この結果、ハウジングの内部における端子の位置ずれを好適に抑制できる。
【0010】
[2]上記[1]において、前記ハウジング本体は、前記第1反対方向に開口する箱状に形成されており、前記カバー部材は、前記ハウジング本体の前記第1反対方向の開口を塞ぐ本体部と、前記本体部から前記第1方向に向かって突出する前記突起部と、を有してもよい。
(【0011】以降は省略されています)
この特許をJ-PlatPat(特許庁公式サイト)で参照する
関連特許
住友電装株式会社
コネクタ
25日前
住友電装株式会社
コネクタ
26日前
住友電装株式会社
コネクタ
17日前
住友電装株式会社
シールド端子
11日前
住友電装株式会社
シールドコネクタ
17日前
住友電装株式会社
外導体端子及びシールドコネクタ
17日前
住友電装株式会社
コネクタ及びコネクタアセンブリ
9日前
住友電装株式会社
プロテクタとホルダとの一体化ユニット
23日前
住友電装株式会社
プロテクタ及びプロテクタ付ワイヤハーネス
23日前
株式会社オートネットワーク技術研究所
電装品
9日前
株式会社オートネットワーク技術研究所
雌端子
18日前
株式会社オートネットワーク技術研究所
電装品
9日前
株式会社オートネットワーク技術研究所
コネクタ
19日前
株式会社オートネットワーク技術研究所
固定部材
10日前
株式会社オートネットワーク技術研究所
コネクタ
19日前
住友電装株式会社
接続構造体、リアクトル装置および接続構造体の製造方法
9日前
住友電装株式会社
電気接続箱
1か月前
住友電装株式会社
バスバユニット
17日前
株式会社オートネットワーク技術研究所
端子金具、及びコネクタ
18日前
株式会社オートネットワーク技術研究所
端子金具、及びコネクタ
18日前
住友電装株式会社
配線部材の配索構造
19日前
住友電装株式会社
配線部材の配索構造
17日前
株式会社オートネットワーク技術研究所
端子接続構造および端子付きアルミ電線
19日前
住友電装株式会社
配線システム及び多用途配線部材
25日前
株式会社オートネットワーク技術研究所
クランプ、ワイヤハーネス及びクランプセット
26日前
株式会社オートネットワーク技術研究所
クランプ、ワイヤハーネス及びクランプセット
1か月前
株式会社オートネットワーク技術研究所
コネクタ
23日前
株式会社オートネットワーク技術研究所
シールド端子
9日前
株式会社オートネットワーク技術研究所
ワイヤハーネス
23日前
株式会社オートネットワーク技術研究所
ワイヤハーネス
1か月前
株式会社オートネットワーク技術研究所
ワイヤハーネス
1か月前
株式会社オートネットワーク技術研究所
セキュリティシステム、セキュリティ装置、及びセキュリティ方法
20日前
住友電気工業株式会社
運転支援システム、車載器、運転支援サーバ、運転支援方法、コンピュータプログラム及び記憶媒体
24日前
株式会社オートネットワーク技術研究所
車載ソフトウェア管理装置、車載ソフトウェア管理方法および車載ソフトウェア管理プログラム
9日前
住友電気工業株式会社
管理装置、通信システム、車両、車両通信管理方法および車両通信管理プログラム
11日前
東ソー株式会社
絶縁電線
25日前
続きを見る
他の特許を見る