TOP
|
特許
|
意匠
|
商標
特許ウォッチ
Twitter
他の特許を見る
10個以上の画像は省略されています。
公開番号
2025161908
公報種別
公開特許公報(A)
公開日
2025-10-24
出願番号
2025136744,2022064438
出願日
2025-08-20,2022-04-08
発明の名称
ワイヤハーネス
出願人
株式会社オートネットワーク技術研究所
,
住友電装株式会社
,
住友電気工業株式会社
代理人
個人
,
個人
,
個人
主分類
H02G
3/04 20060101AFI20251017BHJP(電力の発電,変換,配電)
要約
【課題】ワイヤハーネスに簡易にノイズ対策を行うことができるようにすることを目的とする。
【解決手段】ワイヤハーネス30は、複数の配線50と、前記複数の配線50を扁平な形態に保つベース部材54と、前記ベース部材54に位置決めされ、前記複数の配線50のうち対象配線50Pを覆う磁性体コア70と、を備える。
【選択図】図5
特許請求の範囲
【請求項1】
複数の配線と、
前記複数の配線を扁平な形態に保つベース部材と、
前記ベース部材に位置決めされ、前記複数の配線のうち対象配線を覆う磁性体コアと、
を備え、
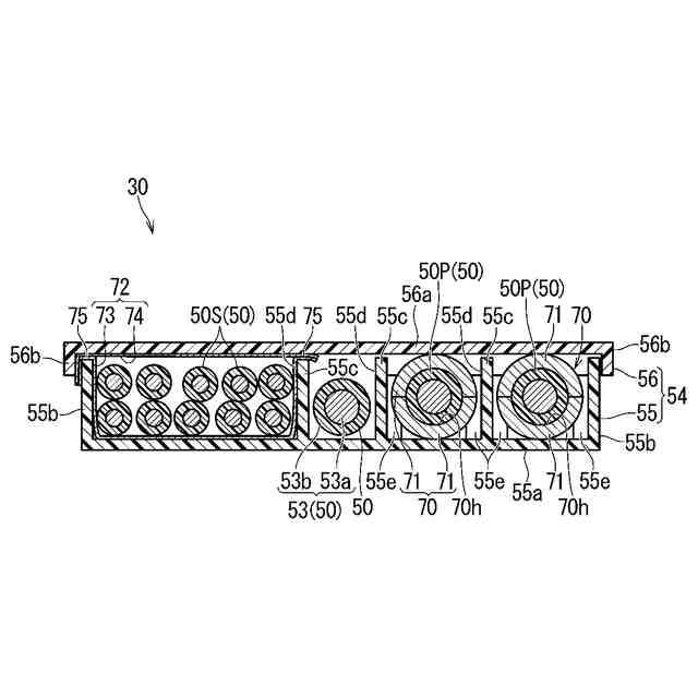
前記ベース部材は、前記対象配線が収まる溝が形成された本体と、前記本体とは反対側から前記対象配線を覆う蓋とを有するプロテクタであり、
前記溝に前記磁性体コアが収容されており、
前記プロテクタの前記本体には前記溝の壁面から突出して前記磁性体コアを位置決めする位置決め片が設けられており、
前記磁性体コアは、複数の分割体が合体したものであり、
前記本体の前記位置決め片が前記複数の分割体を位置決めする、ワイヤハーネス。
続きを表示(約 1,200 文字)
【請求項2】
請求項1に記載のワイヤハーネスであって、
電気機器のコネクタに接続される機器用コネクタと、それぞれ相手側ワイヤハーネスのコネクタが接続される第1ハーネス用コネクタ及び第2ハーネス用コネクタとが設けられ、
前記複数の配線は、前記機器用コネクタから分岐して前記第1ハーネス用コネクタ及び前記第2ハーネス用コネクタに接続される複数の機器用配線を含み、
前記対象配線は、前記複数の機器用配線のうちの電源線を含む、ワイヤハーネス。
【請求項3】
請求項2に記載のワイヤハーネスであって、
前記電気機器は車両の電源から供給された電力を分配し、
前記電源線のうち前記第1ハーネス用コネクタと前記機器用コネクタとを接続する第1電源線が、前記電源から前記電気機器に向けて前記電力を供給し、
前記磁性体コアは前記第1電源線を覆う第1磁性体コアを含む、ワイヤハーネス。
【請求項4】
請求項2又は請求項3に記載のワイヤハーネスであって、
前記電気機器は車両の電源から供給された電力を分配し、
前記電源線のうち前記第2ハーネス用コネクタと前記機器用コネクタとを接続する第2電源線が、前記電気機器から前記車両の負荷に向けて前記電力を供給し、
前記磁性体コアは前記第2電源線を覆う第2磁性体コアを含む、ワイヤハーネス。
【請求項5】
複数の配線と、
前記複数の配線を扁平な形態に保つベース部材と、
前記ベース部材に位置決めされ、前記複数の配線のうち対象配線を覆う磁性体コアと、
を備え、
電気機器のコネクタに接続される機器用コネクタと、それぞれ相手側ワイヤハーネスのコネクタが接続される第1ハーネス用コネクタ及び第2ハーネス用コネクタとが設けられ、
前記複数の配線は、前記機器用コネクタから分岐して前記第1ハーネス用コネクタ及び前記第2ハーネス用コネクタに接続される複数の機器用配線を含み、
前記対象配線は、前記複数の機器用配線のうちの電源線を含み、
前記電気機器は車両の電源から供給された電力を分配し、
前記電源線のうち前記第1ハーネス用コネクタと前記機器用コネクタとを接続する第1電源線が、前記電源から前記電気機器に向けて前記電力を供給し、
前記電源線のうち前記第2ハーネス用コネクタと前記機器用コネクタとを接続する第2電源線が、前記電気機器から前記車両の負荷に向けて前記電力を供給し、
前記磁性体コアは前記第1電源線を覆う第1磁性体コアと前記第2電源線を覆う第2磁性体コアとを含み、
前記第1電源線及び前記第2電源線が前記ベース部材上で並行する部分に前記第1磁性体コア及び前記第2磁性体コアが位置する、ワイヤハーネス。
発明の詳細な説明
【技術分野】
【0001】
本開示は、ワイヤハーネスに関する。
続きを表示(約 1,200 文字)
【背景技術】
【0002】
特許文献1は、インパネハーネス、エンジンルームハーネス、ドアハーネス及びフロアハーネスを相互に電気的に接続する相互接続箱を開示している。
【先行技術文献】
【特許文献】
【0003】
特開2007-202352号公報
【発明の概要】
【発明が解決しようとする課題】
【0004】
ところでワイヤハーネスにノイズ対策が求められることがある。
【0005】
そこで、ワイヤハーネスに簡易にノイズ対策を行うことができるようにすることを目的とする。
【課題を解決するための手段】
【0006】
本開示のワイヤハーネスは、複数の配線と、前記複数の配線を扁平な形態に保つベース部材と、前記ベース部材に位置決めされ、前記複数の配線のうち対象配線を覆う磁性体コアと、を備える、ワイヤハーネスである。
【発明の効果】
【0007】
本開示によれば、ワイヤハーネスに簡易にノイズ対策を行うことができる。
【図面の簡単な説明】
【0008】
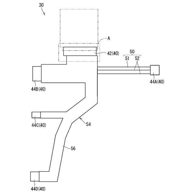
図1は車両におけるワイヤハーネスを含む配線システムを示す説明図である。
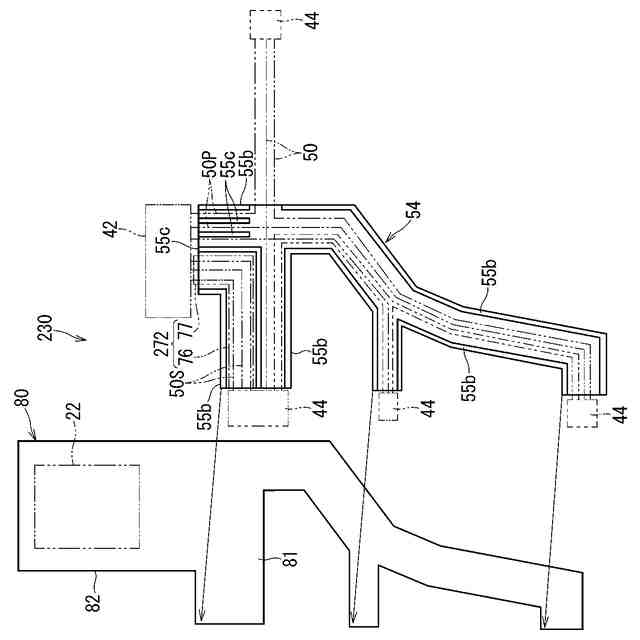
図2は実施形態にかかるワイヤハーネスが車両に配置された様子を示す斜視図である。
図3は実施形態にかかるワイヤハーネスを示す平面図である。
図4は図3の領域Aの拡大図である。
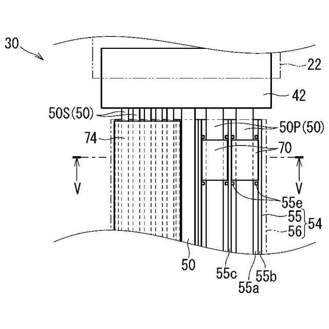
図5は図4のV-V線に沿った断面図である。
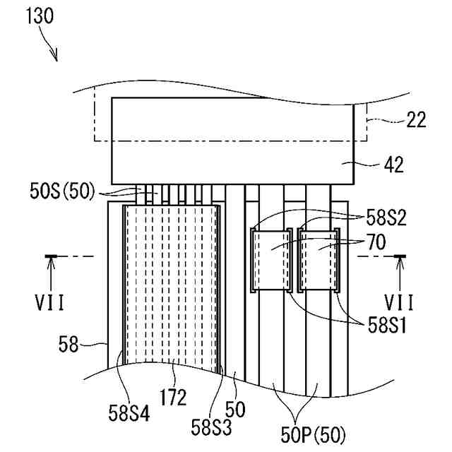
図6は第1変形例にかかるワイヤハーネスを示す平面図である。
図7は図6のVII-VII線に沿った断面図である。
図8は第2変形例にかかるワイヤハーネスを示す分解平面図である。
図9は第2変形例にかかるワイヤハーネスを示す側面図である。
図10は複数種のコネクタ及び複数の配線の接続関係を説明する図である。
図11は機器用コネクタ、第1ハーネス用コネクタ及び第2ハーネス用コネクタの接続関係を説明する図である。
図12は第3変形例にかかる配線及びベース部材を示す断面図である。
図13は複数の配線の分け方の一例を示す図である。
図14は複数の配線の分け方の別の例を示す図である。
図15は第4変形例にかかるワイヤハーネスを示す斜視図である。
図16は第4変形例にかかるワイヤハーネスを示す分解斜視図である。
図17は第5変形例にかかるワイヤハーネスを示す平面図である。
図18は第5変形例にかかるワイヤハーネスが車両に配置された様子を示す斜視図である。
【発明を実施するための形態】
【0009】
[本開示の実施形態の説明]
最初に本開示の実施態様を列記して説明する。
【0010】
本開示のワイヤハーネスは、次の通りである。
(【0011】以降は省略されています)
この特許をJ-PlatPat(特許庁公式サイト)で参照する
関連特許
個人
単極モータ
1か月前
個人
電気を重力で発電装置
12日前
キヤノン電子株式会社
モータ
19日前
キヤノン電子株式会社
モータ
11日前
株式会社アイシン
ロータ
1か月前
株式会社アイシン
ロータ
1か月前
コーセル株式会社
電源装置
20日前
日星電気株式会社
ケーブル組立体
27日前
トヨタ自動車株式会社
モータ
11日前
トヨタ自動車株式会社
固定子
1か月前
株式会社デンソー
回転機
1か月前
トヨタ自動車株式会社
製造装置
1か月前
株式会社ダイヘン
充電装置
1か月前
株式会社ダイヘン
充電装置
1か月前
株式会社ダイヘン
充電装置
1か月前
株式会社アイシン
ステータ
1か月前
株式会社アイシン
ステータ
1か月前
株式会社アイシン
ステータ
1か月前
株式会社ダイヘン
充電装置
1か月前
株式会社アイシン
ステータ
1か月前
個人
二次電池繰返パルス放電器用印刷基板
25日前
株式会社kaisei
発電システム
1か月前
株式会社ミツバ
回転電機
1か月前
株式会社デンソー
電力変換装置
26日前
株式会社デンソー
電力変換装置
1か月前
株式会社ミツバ
回転電機
1か月前
トヨタ自動車株式会社
固定子の加熱装置
22日前
株式会社ダイヘン
インバータ装置
1か月前
株式会社デンソー
非接触受電装置
28日前
キヤノン株式会社
無線電力伝送システム
1か月前
シャープ株式会社
表示装置
1か月前
株式会社アイシン
駆動装置
1か月前
日産自動車株式会社
ロータシャフト
6日前
矢崎総業株式会社
ワイヤーハーネス
1か月前
個人
非対称鏡像力を有する4層PWB電荷搬送体
6日前
ローム株式会社
モータドライバ回路
6日前
続きを見る
他の特許を見る