TOP
|
特許
|
意匠
|
商標
特許ウォッチ
Twitter
他の特許を見る
10個以上の画像は省略されています。
公開番号
2025159126
公報種別
公開特許公報(A)
公開日
2025-10-17
出願番号
2025134853,2022096065
出願日
2025-08-13,2022-06-14
発明の名称
電気接続箱
出願人
住友電装株式会社
代理人
個人
,
個人
主分類
H02G
3/16 20060101AFI20251009BHJP(電力の発電,変換,配電)
要約
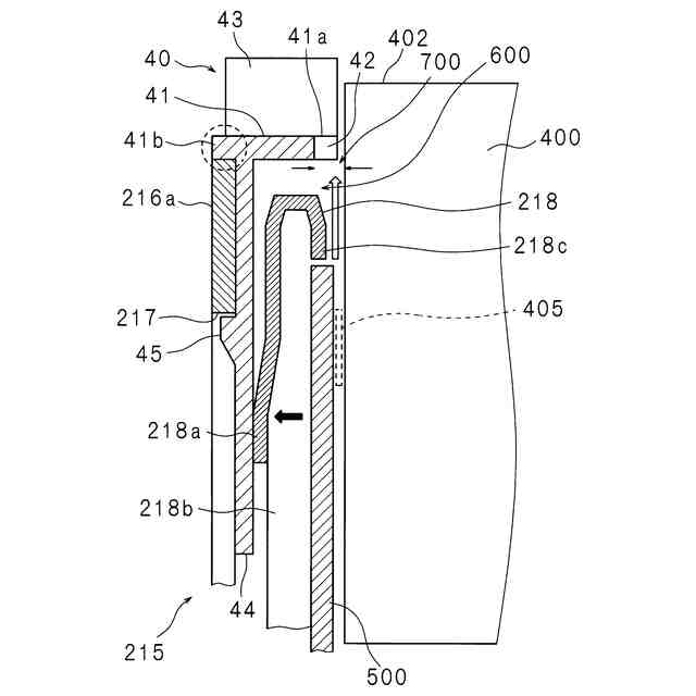
【課題】電子部品の接点部を覆って接点部の露出を防止しつつ、接点部からの熱がこもることを防止できる電気接続箱を提供する。
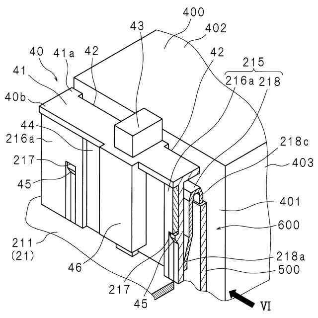
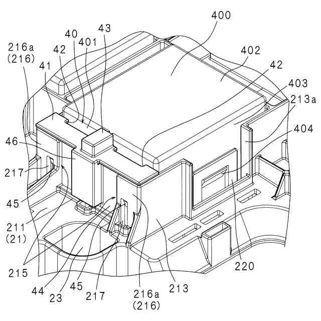
【解決手段】通電時に発熱するリレー400が設けられた筐体を備える電気接続箱であって、リレー400の一面401に設けられた端子405を含む端子405の周囲を覆うカバー部材40を備え、カバー部材40は内外を通気する第1通気口42を有する。
【選択図】図4
特許請求の範囲
【請求項1】
通電時に発熱する電子部品が設けられた筐体を備える電気接続箱であって、
前記電子部品の側面に設けられた端子を含む該端子の周囲を覆うカバー部材を備え、
前記カバー部材は内外を通気する通気口を有する電気接続箱。
続きを表示(約 590 文字)
【請求項2】
前記電子部品は前記筐体に設けられた台座に装着されており、
前記カバー部材は、
前記電子部品の前記側面と対向配置された対向板と、
前記筐体から離隔した前記対向板の縁に設けられ、前記対向板と前記側面との間隙を遮蔽して感電を防止する感電抑止板とを備え、
前記通気口は、前記感電抑止板に形成されている第1通気口を含む請求項1に記載の電気接続箱。
【請求項3】
前記第1通気口は、
前記感電抑止板において前記電子部品の前記側面寄りの一縁部に形成されている請求項2に記載の電気接続箱。
【請求項4】
前記通気口は、前記感電抑止板において前記一縁部から離れて形成された第2通気口を含む請求項3に記載の電気接続箱。
【請求項5】
前記第1通気口は、前記一縁部と対向する他縁部に向けて開放された櫛形状を成している請求項3又は4に記載の電気接続箱。
【請求項6】
前記通気口は、前記対向板に形成された第3通気口を含む請求項2から4のいずれか一項に記載の電気接続箱。
【請求項7】
前記台座は前記対向板を挟持する挟持機構を備えており、
前記対向板は、前記挟持機構に形成された係合部と係合する係合突起を有する請求項2から4のいずれか一項に記載の電気接続箱。
発明の詳細な説明
【技術分野】
【0001】
本開示は、電子部品を備える電気接続箱に関する。
続きを表示(約 1,000 文字)
【背景技術】
【0002】
従来、ヒューズ、リレー等の電子部品を備える電気接続箱が車両に搭載されている。
【0003】
電気接続箱は筐体を備えており、例えば、前記筐体は、一面側が開放されて前記電子部品が設けられた第1ケースと、第1ケースの開放された一面側を覆う第2ケースとからなる(特許文献1参照)。
【先行技術文献】
【特許文献】
【0004】
特開2016-208561号公報
【発明の概要】
【発明が解決しようとする課題】
【0005】
例えば、リレーのような電子部品は、電気接続箱の作動時に、大きな電流が流れる。よって、リレーの接点部に作業者の指が触れると感電のおそれがある。これに対しては、リレーの接点部をカバー部材で覆うことによって、感電等の不具合の発生を防止できる。
【0006】
一方、リレーには大きな電流が流れるので、リレー及びリレーの接点部には熱が発生するが、上述の如く、カバー部材でリレーの接点部を覆う場合、熱がカバー部材内にこもり易くなる。即ち、カバー部材内の空気は、リレー及びリレーの接点部から熱を奪って移動するが、カバー部材が原因で外側に放出されず、カバー部材内に熱い空気が滞留するようになる。カバー部材内に熱がこもった場合、カバー部材及び周囲の絶縁用の樹脂製部品が溶損して絶縁性が保てず、短絡等の不具合が発生するおそれがある。
【0007】
しかしながら、特許文献1の電気接続箱では、このような問題に対して考慮しておらず、解決できない。
【0008】
本発明は斯かる事情に鑑みてなされたものであり、その目的とするところは、電子部品の接点部を覆って接点部の露出を防止しつつ、接点部からの熱がこもることを防止できる電気接続箱を提供することにある。
【課題を解決するための手段】
【0009】
本開示の実施形態に係る電気接続箱は、通電時に発熱する電子部品が設けられた筐体を備える電気接続箱であって、前記電子部品の側面に設けられた端子を含む該端子の周囲を覆うカバー部材を備え、前記カバー部材は内外を通気する通気口を有する。
【発明の効果】
【0010】
本開示によれば、電子部品の接点部を覆って接点部の露出を防止しつつ、接点部からの熱がこもることを防止できる。
【図面の簡単な説明】
(【0011】以降は省略されています)
この特許をJ-PlatPat(特許庁公式サイト)で参照する
関連特許
住友電装株式会社
端子台
1か月前
住友電装株式会社
コネクタ
1か月前
住友電装株式会社
コネクタ
28日前
住友電装株式会社
コネクタ
20日前
住友電装株式会社
コネクタ
29日前
住友電装株式会社
シールド端子
14日前
住友電装株式会社
シールドコネクタ
20日前
住友電装株式会社
外導体端子及びシールドコネクタ
20日前
住友電装株式会社
コネクタ及びコネクタアセンブリ
12日前
住友電装株式会社
プロテクタとホルダとの一体化ユニット
26日前
住友電装株式会社
プロテクタ及びプロテクタ付ワイヤハーネス
26日前
株式会社オートネットワーク技術研究所
電装品
12日前
株式会社オートネットワーク技術研究所
電装品
12日前
株式会社オートネットワーク技術研究所
雌端子
21日前
株式会社オートネットワーク技術研究所
コネクタ
22日前
株式会社オートネットワーク技術研究所
コネクタ
22日前
株式会社オートネットワーク技術研究所
固定部材
13日前
株式会社オートネットワーク技術研究所
コネクタ装置
1か月前
株式会社オートネットワーク技術研究所
車載用制御装置
1か月前
住友電装株式会社
接続構造体、リアクトル装置および接続構造体の製造方法
12日前
住友電装株式会社
電気接続箱
1か月前
株式会社オートネットワーク技術研究所
電子部品モジュール
今日
住友電装株式会社
バスバユニット
20日前
住友電装株式会社
バスバユニット
1日前
株式会社オートネットワーク技術研究所
端子金具、及びコネクタ
21日前
株式会社オートネットワーク技術研究所
端子金具、及びコネクタ
21日前
住友電装株式会社
配線部材の配索構造
22日前
住友電装株式会社
配線部材の配索構造
20日前
株式会社オートネットワーク技術研究所
端子材料および電気接続端子
1か月前
株式会社オートネットワーク技術研究所
筐体、および車両用充電装置
1か月前
株式会社オートネットワーク技術研究所
端子材料および電気接続端子
1か月前
株式会社オートネットワーク技術研究所
端子材料および電気接続端子
1か月前
株式会社オートネットワーク技術研究所
端子金具、実装基板及び基板装置
1か月前
株式会社オートネットワーク技術研究所
金属部材および金属部材の製造方法
1か月前
株式会社オートネットワーク技術研究所
電気接続箱、及び電気接続箱の製造方法
1か月前
住友電装株式会社
配線システム及び多用途配線部材
28日前
続きを見る
他の特許を見る