TOP
|
特許
|
意匠
|
商標
特許ウォッチ
Twitter
他の特許を見る
10個以上の画像は省略されています。
公開番号
2025164394
公報種別
公開特許公報(A)
公開日
2025-10-30
出願番号
2024068348
出願日
2024-04-19
発明の名称
シールドコネクタ
出願人
住友電装株式会社
代理人
弁理士法人グランダム特許事務所
主分類
H01R
13/6581 20110101AFI20251023BHJP(基本的電気素子)
要約
【課題】蓋部を有する外導体端子を備えたシールドコネクタの組み付けの作業性を改善する。
【解決手段】シールドコネクタCは、内導体端子20、外導体端子40、及び誘電体30を備えている。外導体端子40は、前後方向に開口した本体部41と、本体部41の後面の開口を塞ぐ蓋部42と、本体部41と蓋部42とをつなぐ屈曲可能な連結部43とを有し、蓋部42は、本体部41の後面を塞ぐ閉塞位置において本体部41の左右方向外側に配置される左右の蓋側部58を有し、本体部41は、左右の蓋側部58の左右方向内側に配置される左右の本体側部46を有している。左右の蓋側部58は、蓋ロック部61を有し、左右の本体側部46は、閉塞位置で蓋ロック部61に係止可能なロック部55を有している。誘電体30の左右の側面は、左右の本体側部46と対応する位置に、本体側部46の左右方向内側への弾性変形を許容する凹面部(外側傾斜部37)を有している。
【選択図】図4
特許請求の範囲
【請求項1】
内導体端子と、前記内導体端子を装着する誘電体と、前記誘電体を収容する外導体端子と、前記外導体端子を収容するハウジングと、を備えたシールドコネクタであって、
前記外導体端子は、前後方向に開口した本体部と、前記本体部の後面の開口を塞ぐ蓋部と、前記本体部と前記蓋部とをつなぐ屈曲可能な連結部とを有し、
前記本体部は、左右方向で対向する左右の本体側部を有し、
前記蓋部は、前記本体部の後面を塞ぐ閉塞位置において前記左右の本体側部の左右方向外側に配置される左右の蓋側部を有し、
前記誘電体の左右の側面は、前記左右の本体側部と対応する位置に、前記本体側部の左右方向内側への弾性変形を許容する凹面部を有している、シールドコネクタ。
続きを表示(約 360 文字)
【請求項2】
前記左右の本体側部は、前記本体部を構成する本体上部の左右方向両端縁から下方へ延出しており、前記本体上部との連結部分を支点に左右方向内側へ弾性変形可能であり、
前記凹面部は上側から下側へ向かって左右方向の内側へ傾斜している、請求項1に記載のシールドコネクタ。
【請求項3】
前記蓋側部は、前記本体部の後面の開口を塞ぐ蓋本体部の左右両端縁から前方に延出しており、
前記左右の蓋側部は、蓋ロック部を有し、前記左右の本体側部は、前記閉塞位置で前記蓋ロック部に係止可能なロック部を有し、
前記ハウジングの内面のうち前記左右の蓋側部の前端部に対応する位置には、前記左右の蓋側部の開き変形を抑制する開き抑制突部が設けられている、請求項1または請求項2に記載のシールドコネクタ。
発明の詳細な説明
【技術分野】
【0001】
本開示は、シールドコネクタに関する。
続きを表示(約 3,500 文字)
【背景技術】
【0002】
特許文献1に記載されたシールドコネクタは、ハウジング、外導体端子、内導体端子及び誘電体を備えている。外導体端子は、外導体端子本体と蓋部材とを有している。シールドコネクタの組み付けに際し、まず誘電体に内導体端子が装着される。次いで、外導体端子本体に誘電体が収容される。続いて、外導体端子本体に蓋部材が取り付けられる。その後、ハウジングに外導体端子本体が収容される。
【先行技術文献】
【特許文献】
【0003】
特開2020-13748号公報
特開2018-6152号公報
【発明の概要】
【発明が解決しようとする課題】
【0004】
特許文献1の場合、外導体端子本体と蓋部材とが互いに別体である。ここで、外導体端子本体と蓋部材とが屈曲可能な連結部を介して一体化した構成をとることも可能である(特許文献2の符号44を参照)。この種の連結部を備えるシールドコネクタは、例えば、以下の組み付け方法で製造することが可能である。
まず、予め曲げ加工された内導体端子を誘電体に装着する。次いで、外導体端子本体に誘電体を収容した後、連結部を曲げながら蓋部材を閉塞位置へ向けて回動する。蓋部材が閉塞位置で外導体端子の背面を覆うように配置し、その後、外導体端子をハウジングに収容する。
上記の組み付け方法によれば、ハウジングに外導体端子を収容する前の段階で、外導体端子、内導体端子及び誘電体の位置関係を調整し、ハウジングに外導体端子を収容した後、ハウジング、外導体端子、内導体端子及び誘電体の位置関係を再調整(後工程のコプラナリティ調整等)する必要がある。この再調整の工程を省くことができれば、組み付け作業性を改善できるので、好ましいと言える。再調整の工程を省くには、ハウジングに外導体端子、誘電体および内導体端子を順次挿入し、その状態で内導体端子を曲げ加工し、最後に蓋部材を閉塞位置まで回動する作業を行うと良い。
ところで、蓋部材には左右一対の側部が設けられている。各側部は、外導体端子本体の左右の側板部に外側から被さるように配置される。また、各側部は組み付け時にハウジングの内面と対向して配置される。上記の連結部を備えるシールドコネクタの場合、外導体端子本体をハウジングに挿入した後、蓋部材を回動すると(特許文献2を参照)、側部が側板部の外面に乗り上がる際にハウジングと干渉し、蓋部材が回動できない可能性があり、何らかの対策が必要となる。
【0005】
そこで、本開示は、蓋部を有する外導体端子を備えたシールドコネクタの組み付けの作業性を改善することを目的とする。
【課題を解決するための手段】
【0006】
本開示のシールドコネクタは、内導体端子と、前記内導体端子を装着する誘電体と、前記誘電体を収容する外導体端子と、前記外導体端子を収容するハウジングと、を備えたシールドコネクタであって、前記外導体端子は、前後方向に開口した本体部と、前記本体部の後面の開口を塞ぐ蓋部と、前記本体部と前記蓋部とをつなぐ屈曲可能な連結部とを有し、前記本体部は、左右方向で対向する左右の本体側部を有し、前記蓋部は、前記本体部の後面を塞ぐ閉塞位置において前記左右の本体側部の左右方向外側に配置される左右の蓋側部を有し、前記誘電体の左右の側面は、前記左右の本体側部と対応する位置に、前記本体側部の左右方向内側への弾性変形を許容する凹面部を有している、シールドコネクタである。
【発明の効果】
【0007】
本開示によれば、組み付けの作業性を改善することが可能なシールドコネクタを提供することが可能となる。
【図面の簡単な説明】
【0008】
図1は、実施形態1にかかるシールドコネクタを示す斜視図である。
図2は、シールドコネクタを示す分解斜視図である。
図3は、シールドコネクタを示す断面図である。
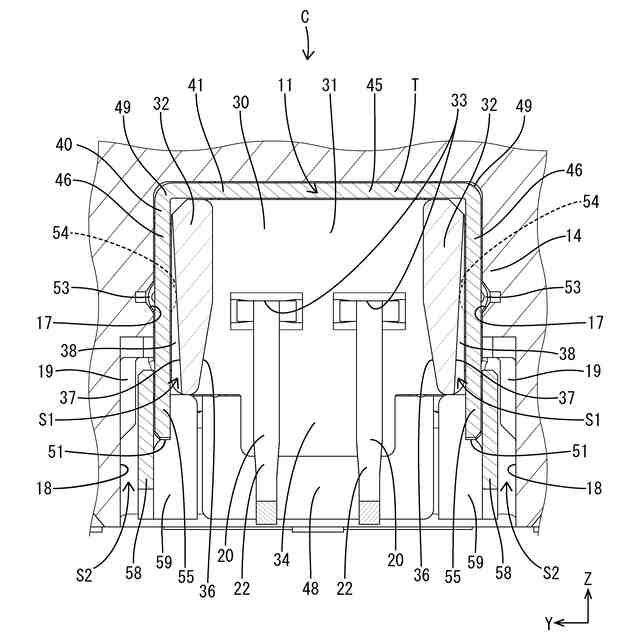
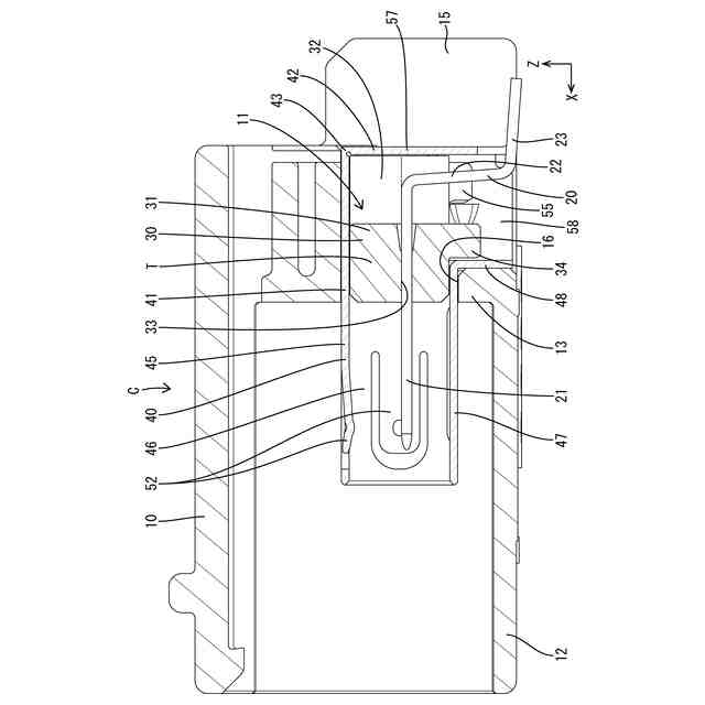
図4は、シールドコネクタのうち端子体保持部の近傍を示す一部拡大横断面図である。
図5は、シールドコネクタを示す底面図である。
図6は、ハウジングを示す断面図である。
図7は、シールドコネクタのうち端子体保持部の近傍を示す一部拡大平断面図である。
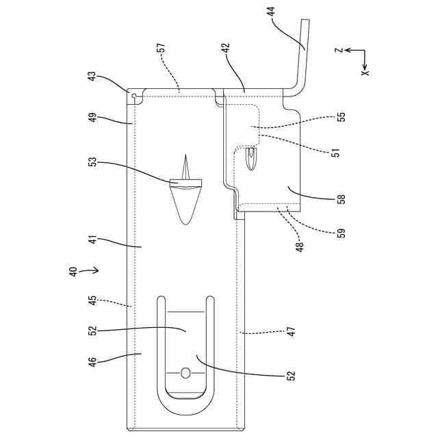
図8は、外導体端子を示す側面図である。
図9は、外導体端子、誘電体及び内導体端子をハウジングに収容する前の状態を示す底面図である。
図10は、曲げ加工を行う前の外導体端子を示す斜視図である。
図11は、外導体端子、誘電体及び内導体端子をハウジングに収容し、外導体端子及び内導体端子の曲げ加工を行う前の状態を示す底面図である。
【発明を実施するための形態】
【0009】
[本開示の実施形態の説明]
最初に本開示の実施態様を列記して説明する。
[1]本開示のシールドコネクタは、内導体端子と、前記内導体端子を装着する誘電体と、前記誘電体を収容する外導体端子と、前記外導体端子を収容するハウジングと、を備えたシールドコネクタであって、前記外導体端子は、前後方向に開口した本体部と、前記本体部の後面の開口を塞ぐ蓋部と、前記本体部と前記蓋部とをつなぐ屈曲可能な連結部とを有し、前記本体部は、左右方向で対向する左右の本体側部を有し、前記蓋部は、前記本体部の後面を塞ぐ閉塞位置において前記左右の本体側部の左右方向外側に配置される左右の蓋側部を有し、前記誘電体の左右の側面は、前記左右の本体側部と対応する位置に、前記本体側部の左右方向内側への弾性変形を許容する凹面部を有している。シールドコネクタを組み付ける場合、外導体端子、誘電体及び内導体端子をハウジングに収容してから、蓋部を閉塞位置まで回動すると、左右の本体側部が凹面部の位置する左右方向内側へ弾性変形できる。したがって、左右の蓋側部が左右の本体側部の左右方向外側に配置される際に左右方向外側に大きく弾性変形することを阻止でき、左右の蓋側部がハウジングとの干渉に起因し、蓋部が閉塞位置に至らない事態を回避できる。結果として、組み付けの作業性を改善することが可能となる。
上記[1]によれば、外導体端子、誘電体及び内導体端子をハウジングに収容してから、内導体端子を曲げたり、蓋部を閉塞位置まで回動する作業を行うことができるので、シールドコネクタの組み付けの作業性を改善できる。また、左右の本体側部が凹面部の位置する左右方向内側へ弾性変形できるので、蓋側部がハウジングと強く干渉するのを回避でき、外導体端子をハウジングに支障なく組み付けることができる。
[2]上記[1]に記載されたシールドコネクタにおいて、前記左右の本体側部は、前記本体部を構成する本体上部の左右方向両端縁から下方へ延出しており、前記本体上部との連結部分を支点に左右方向内側へ弾性変形可能であり、前記凹面部は上側から下側へ向かって左右方向の内側へ傾斜していることが好ましい。このような構成によれば、凹面部を、本体側部を弾性変形させるための最小限の凹みにとどめることができるから、誘電体の厚さ寸法を確保し、誘電体の成形時に樹脂流れが悪化するのを回避できる。
[3]上記[1]または[2]に記載されたシールドコネクタにおいて、前記蓋側部は、前記本体部の後面の開口を塞ぐ蓋本体部の左右両端縁から前方に延出しており、前記左右の蓋側部は、蓋ロック部を有し、前記左右の本体側部は、前記閉塞位置で前記蓋ロック部に係止可能なロック部を有し、前記ハウジングの内面のうち前記左右の蓋側部の前端部に対応する位置には、前記左右の蓋側部の開き変形を抑制する開き抑制突部が設けられているとよい。このような構成によれば、開き抑制突部によって、左右の蓋側部の開き変形は抑制されるから、シールド性能を安定させることができる。
【0010】
[本開示の実施形態の詳細]
本開示のシールドコネクタの具体例を、以下に図面を参照しつつ説明する。なお、本発明はこれらの例示に限定されるものではなく、特許請求の範囲によって示され、特許請求の範囲と均等の意味および範囲内でのすべての変更が含まれることが意図される。
(【0011】以降は省略されています)
この特許をJ-PlatPat(特許庁公式サイト)で参照する
関連特許
住友電装株式会社
端子台
2か月前
住友電装株式会社
端子台
1か月前
住友電装株式会社
コネクタ
1か月前
住友電装株式会社
コネクタ
2か月前
住友電装株式会社
コネクタ
2か月前
住友電装株式会社
コネクタ
2か月前
住友電装株式会社
コネクタ
2か月前
住友電装株式会社
コネクタ
2か月前
住友電装株式会社
コネクタ
9日前
住友電装株式会社
コネクタ
1か月前
住友電装株式会社
コネクタ
2か月前
住友電装株式会社
コネクタ
2か月前
住友電装株式会社
コネクタ
2か月前
住友電装株式会社
コネクタ
2か月前
住友電装株式会社
コネクタ
1か月前
住友電装株式会社
コネクタ
1か月前
住友電装株式会社
コネクタ
1か月前
住友電装株式会社
コネクタ
1か月前
住友電装株式会社
プロテクタ
1か月前
住友電装株式会社
シールド端子
24日前
住友電装株式会社
充電コネクタ
2か月前
住友電装株式会社
ワイヤハーネス
2か月前
住友電装株式会社
コネクタユニット
2か月前
住友電装株式会社
シールドコネクタ
1か月前
住友電装株式会社
コネクタアセンブリ
1か月前
住友電装株式会社
ダミー栓およびコネクタ
1か月前
住友電装株式会社
ブラケット付きコネクタ
1か月前
住友電装株式会社
電気接続箱および制御ユニット
1か月前
住友電装株式会社
圧着端子、および端子付き電線
2か月前
住友電装株式会社
端子台、及び端子台の製造方法
1か月前
住友電装株式会社
絶縁構造体、及びワイヤハーネス
1か月前
住友電装株式会社
ワイヤハーネス、及びグロメット
2か月前
住友電装株式会社
コネクタ及びコネクタアセンブリ
1か月前
住友電装株式会社
外導体端子及びシールドコネクタ
1か月前
住友電装株式会社
コネクタ及びコネクタアセンブリ
22日前
住友電装株式会社
プロテクタ、及びワイヤハーネス
1か月前
続きを見る
他の特許を見る