TOP
|
特許
|
意匠
|
商標
特許ウォッチ
Twitter
他の特許を見る
公開番号
2025163207
公報種別
公開特許公報(A)
公開日
2025-10-28
出願番号
2025131386,2024072822
出願日
2025-08-06,2020-07-13
発明の名称
配線部材の配索構造
出願人
住友電装株式会社
代理人
個人
,
個人
,
個人
主分類
B60K
7/00 20060101AFI20251021BHJP(車両一般)
要約
【課題】インホイールモータに接続される配線部材の経路の自由度を高めることを目的とする。
【解決手段】配線部材の配索構造40は、インホイールモータ42と前記インホイールモータ42を収容するケーシング44とを含むインホイールモータユニット41と、前記インホイールモータ42と車体側機器80とを接続する配線部材50と、を備える。前記配線部材50において前記インホイールモータ42に接続される端部が第1固定部位51とされ、前記端部の次に車両に固定される部分が第2固定部位52とされる。前記ケーシング44に前記第2固定部位52が固定される配線固定部45が設けられている。
【選択図】図1
特許請求の範囲
【請求項1】
インホイールモータと前記インホイールモータを収容するケーシングとを含むインホイールモータユニットと、
前記インホイールモータと車体側機器とを接続する配線部材と、
を備え、
前記配線部材において前記インホイールモータに接続される端部が第1固定部位とされ、前記端部の次に車両に固定される部分が第2固定部位とされ、
前記ケーシングに前記第2固定部位が固定される配線固定部が設けられている、配線部材の配索構造。
続きを表示(約 960 文字)
【請求項2】
請求項1に記載の配線部材の配索構造であって、
前記ケーシングに凹部が形成され、前記第1固定部位が前記凹部の底部の位置に固定され、前記第2固定部位が前記ケーシングのうち前記凹部の開口部を形成する部分に固定される、配線部材の配索構造。
【請求項3】
請求項2に記載の配線部材の配索構造であって、
前記ケーシングは放熱フィンを含み、
前記放熱フィンの少なくとも一部が前記配線固定部として用いられる、配線部材の配索構造。
【請求項4】
請求項2又は請求項3に記載の配線部材の配索構造であって、
前記第2固定部位において前記配線部材の周囲に設けられて前記開口部を覆う蓋部材をさらに備える、配線部材の配索構造。
【請求項5】
請求項4に記載の配線部材の配索構造であって、
前記蓋部材は本体と前記本体の周囲の外周部とを含み、
前記本体は弾性材料によって形成され、
前記配線部材は前記本体に形成された孔を通り、
前記外周部は前記弾性材料よりも高剛性の材料によってねじ形状に形成されたねじ形状部を有する、配線部材の配索構造。
【請求項6】
請求項5に記載の配線部材の配索構造であって、
前記本体は、前記外周部、前記配線部材及び前記ケーシングに密着する、配線部材の配索構造。
【請求項7】
請求項6に記載の配線部材の配索構造であって、
前記本体には第1リップ、第2リップ、及び第3リップが設けられており、
前記第1リップは、前記本体のうち前記ケーシングと接触する部分に設けられ、
前記第2リップは、前記本体のうち前記外周部と接触する部分に設けられ、
前記第3リップは、前記本体のうち前記配線部材と接触する部分に設けられている、配線部材の配索構造。
【請求項8】
請求項1から請求項7のいずれか1項に記載の配線部材の配索構造であって、
前記配線部材は複数の線状伝送部材と前記複数の線状伝送部材を覆うシースとを含み、
前記第1固定部位と前記第2固定部位との間に前記シースの端部が位置している、配線部材の配索構造。
発明の詳細な説明
【技術分野】
【0001】
本開示は、配線部材の配索構造に関する。
続きを表示(約 1,000 文字)
【背景技術】
【0002】
特許文献1は、車両本体からインホイールモータへ電気信号を供給する配線装置を開示している。特許文献1において、配線の端部はインホイールモータのコネクタ部分に固定される。配線の端部への負荷を低減するため、配線の端部の次の固定部位は、ハンドル回転に応じたタイヤ切れ角変更時の回転の中心であるキングピンの付近に固定されている。
【先行技術文献】
【特許文献】
【0003】
特開2005-371809号公報
【発明の概要】
【発明が解決しようとする課題】
【0004】
インホイールモータに接続される配線部材の経路の自由度を高めることが望まれている。
【0005】
そこで、インホイールモータに接続される配線部材の経路の自由度を高めることを目的とする。
【課題を解決するための手段】
【0006】
本開示の配線部材の配索構造は、インホイールモータと前記インホイールモータを収容するケーシングとを含むインホイールモータユニットと、前記インホイールモータと車体側機器とを接続する配線部材と、を備え、前記配線部材において前記インホイールモータに接続される端部が第1固定部位とされ、前記端部の次に車両に固定される部分が第2固定部位とされ、前記ケーシングに前記第2固定部位が固定される配線固定部が設けられている、配線部材の配索構造である。
【発明の効果】
【0007】
本開示によれば、インホイールモータに接続される配線部材の経路の自由度を高めることができる。
【図面の簡単な説明】
【0008】
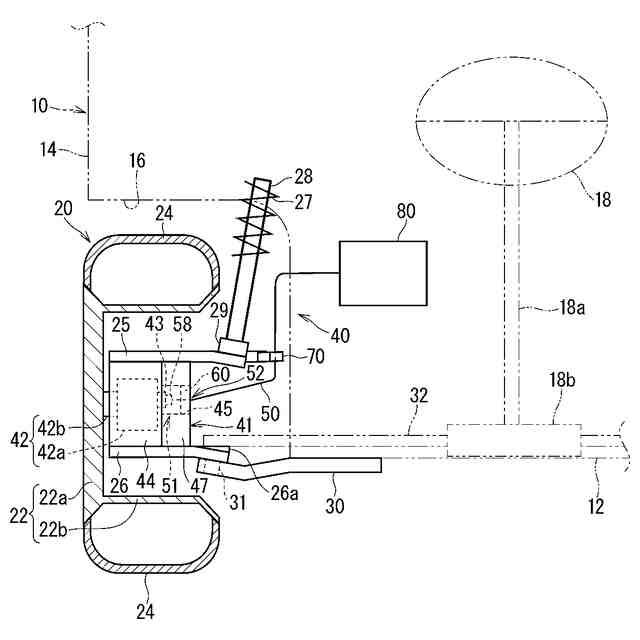
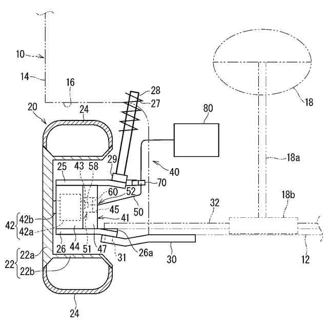
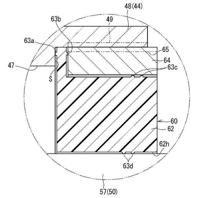
図1は実施形態1にかかる配線部材の配索構造を示す概略断面図である。
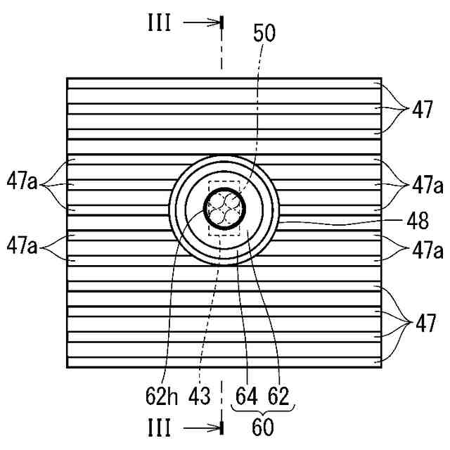
図2はインホイールモータユニットにおけるケーシングを示す正面図である。
図3は図2のIII-III線に沿って切断された断面図である。
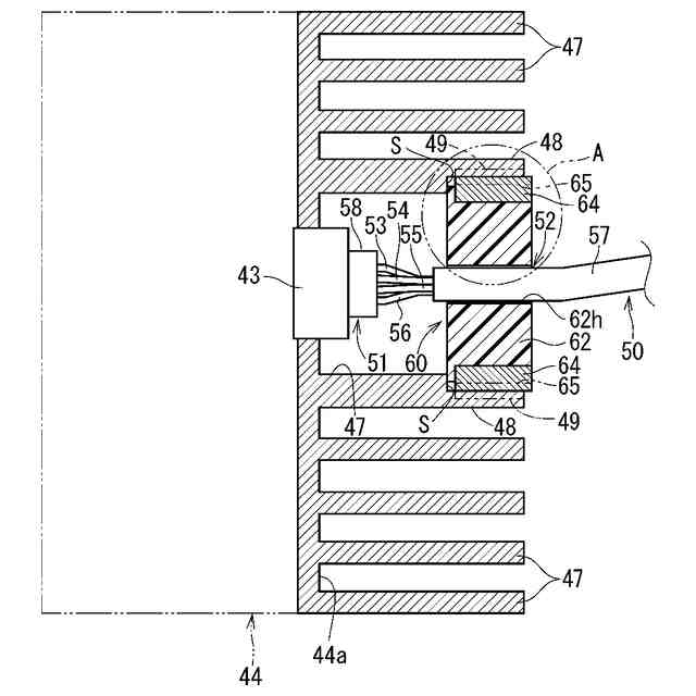
図4は、図3の領域Aの拡大図である。
【発明を実施するための形態】
【0009】
[本開示の実施形態の説明]
最初に本開示の実施態様を列記して説明する。
【0010】
本開示の配線部材の配索構造は、次の通りである。
(【0011】以降は省略されています)
この特許をJ-PlatPat(特許庁公式サイト)で参照する
関連特許
住友電装株式会社
端子台
1か月前
住友電装株式会社
コネクタ
29日前
住友電装株式会社
コネクタ
28日前
住友電装株式会社
コネクタ
20日前
住友電装株式会社
シールド端子
14日前
住友電装株式会社
シールドコネクタ
20日前
住友電装株式会社
外導体端子及びシールドコネクタ
20日前
住友電装株式会社
コネクタ及びコネクタアセンブリ
12日前
住友電装株式会社
プロテクタとホルダとの一体化ユニット
26日前
住友電装株式会社
プロテクタ及びプロテクタ付ワイヤハーネス
26日前
株式会社オートネットワーク技術研究所
電装品
12日前
株式会社オートネットワーク技術研究所
電装品
12日前
株式会社オートネットワーク技術研究所
雌端子
21日前
株式会社オートネットワーク技術研究所
コネクタ
22日前
株式会社オートネットワーク技術研究所
コネクタ
22日前
株式会社オートネットワーク技術研究所
固定部材
13日前
住友電装株式会社
接続構造体、リアクトル装置および接続構造体の製造方法
12日前
株式会社オートネットワーク技術研究所
車載用制御装置
1か月前
住友電装株式会社
電気接続箱
1か月前
株式会社オートネットワーク技術研究所
電子部品モジュール
今日
住友電装株式会社
バスバユニット
20日前
住友電装株式会社
バスバユニット
1日前
株式会社オートネットワーク技術研究所
端子金具、及びコネクタ
21日前
株式会社オートネットワーク技術研究所
端子金具、及びコネクタ
21日前
住友電装株式会社
配線部材の配索構造
20日前
住友電装株式会社
配線部材の配索構造
22日前
株式会社オートネットワーク技術研究所
端子材料および電気接続端子
1か月前
株式会社オートネットワーク技術研究所
端子材料および電気接続端子
1か月前
株式会社オートネットワーク技術研究所
端子金具、実装基板及び基板装置
1か月前
株式会社オートネットワーク技術研究所
電気接続箱、及び電気接続箱の製造方法
1か月前
株式会社オートネットワーク技術研究所
端子接続構造および端子付きアルミ電線
22日前
住友電装株式会社
配線システム及び多用途配線部材
28日前
株式会社オートネットワーク技術研究所
クランプ、ワイヤハーネス及びクランプセット
1か月前
株式会社オートネットワーク技術研究所
車載更新システム、車載装置、及び車載ECU
1か月前
株式会社オートネットワーク技術研究所
クランプ、ワイヤハーネス及びクランプセット
29日前
株式会社オートネットワーク技術研究所
コネクタ
26日前
続きを見る
他の特許を見る