TOP
|
特許
|
意匠
|
商標
特許ウォッチ
Twitter
他の特許を見る
公開番号
2025170385
公報種別
公開特許公報(A)
公開日
2025-11-18
出願番号
2025143594,2022088214
出願日
2025-08-29,2022-05-31
発明の名称
バスバユニット
出願人
住友電装株式会社
代理人
個人
,
個人
,
個人
主分類
H01M
50/296 20210101AFI20251111BHJP(基本的電気素子)
要約
【課題】バスバユニットと機器との着脱にかかる作業効率の向上を目的とする。
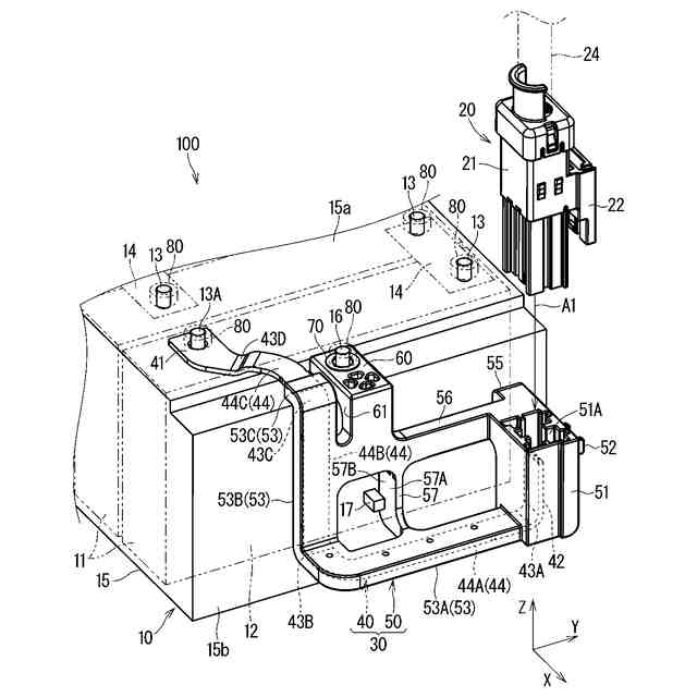
【解決手段】バスバユニットは、ボルト締結部とコネクタ端子部とを含むバスバと、前記バスバを覆うモールド樹脂部と、を備える。前記モールド樹脂部は、電池パックの側面と対向するように前記側面から第1方向に離れて設けられて前記コネクタ端子部を覆うコネクタハウジング部と、前記コネクタハウジング部から延び出る前記バスバの中間部を覆う中間覆い部と、前記コネクタハウジング部から前記電池パックの前記側面に向けて突出して前記電池パックの前記側面に接触する突起とを含む。前記ボルト締結部とは別に前記電池パックに固定される固定部が、前記モールド樹脂部のうち第2方向における前記バスバユニットの重心位置より前記ボルト締結部側に設けられている。
【選択図】図1
特許請求の範囲
【請求項1】
電池パックの端子と電気的に接続されるバスバユニットであって、
一端に設けられて前記電池パックの前記端子とボルト締結されて電気的に接続されるボルト締結部と、他端に設けられて相手コネクタのコネクタ端子と電気的に接続されるコネクタ端子部とを含むバスバと、
前記バスバを覆うモールド樹脂部と、
を備え、
前記バスバの前記ボルト締結部と前記コネクタ端子部とが、前記電池パックの側面に対する法線方向である第1方向と、前記電池パックの前記側面に沿う第2方向とのそれぞれにおいて離れて設けられており、
前記モールド樹脂部は、前記電池パックの前記側面と対向するように前記側面から前記第1方向に離れて設けられて前記コネクタ端子部を覆うコネクタハウジング部と、前記コネクタハウジング部から延び出る前記バスバの中間部を覆う中間覆い部と、前記コネクタハウジング部から前記電池パックの前記側面に向けて突出して前記電池パックの前記側面に接触する突起とを含み、
前記ボルト締結部とは別に前記電池パックに固定される固定部が、前記モールド樹脂部のうち前記第2方向における前記バスバユニットの重心位置より前記ボルト締結部側に設けられている、バスバユニット。
続きを表示(約 600 文字)
【請求項2】
請求項1に記載のバスバユニットであって、
前記中間覆い部は、前記コネクタハウジング部から延びる第1覆い部と、前記第1覆い部と交差する方向に延びる第2覆い部とを有し、
前記モールド樹脂部は、前記第2覆い部と前記コネクタハウジング部とを連結する第1連結部を含み、
前記固定部は、前記第1連結部から突出している、バスバユニット。
【請求項3】
請求項2に記載のバスバユニットであって、
前記モールド樹脂部は、前記第1連結部と前記第1覆い部とを連結する第2連結部を含み、かつ、繊維強化プラスチック製である、バスバユニット。
【請求項4】
請求項1から請求項3のいずれか1項に記載のバスバユニットであって、
前記モールド樹脂部は、前記固定部と、前記中間覆い部のうちの前記ボルト締結部側の端部との間に延びる切り欠きを含む、バスバユニット。
【請求項5】
請求項1から請求項3のいずれか1項に記載のバスバユニットであって、
前記モールド樹脂部には、前記ボルト締結部がボルト締結されず、かつ、前記固定部が固定されていない状態で、前記バスバユニットが前記コネクタハウジング部側に傾くことを前記電池パックの前記側面に設けられた受部に引っかかることによって抑制する回転抑制部が設けられている、バスバユニット。
発明の詳細な説明
【技術分野】
【0001】
本開示は、バスバユニットに関する。
続きを表示(約 1,500 文字)
【背景技術】
【0002】
特許文献1は、通電部材を介して複数の機器を電気的に接続する端子間接続構造を開示している。複数の機器の組み合わせは、例えば、2つの単電池同士、又は、単電池及びジャンクションブロックである。
【先行技術文献】
【特許文献】
【0003】
国際公開第2020/241412号
【発明の概要】
【発明が解決しようとする課題】
【0004】
機器の保守、点検又は交換などの際に、通電部材と機器との着脱作業が生じる場合がある。かかる着脱作業のうちの通電部材と機器との取付け作業には通電部材と機器とを接続する作業が含まれ、通電部材と機器との取外し作業には通電部材と機器との接続を解除する作業が含まれる。特許文献1の端子間接続構造において、通電部材の両端がボルト締結される構成であると、通電部材と機器との着脱作業時に、両端のボルトをそれぞれ操作する作業を行う必要が生じうる。このため、通電部材と機器との着脱にかかる作業効率の向上が求められている。
【0005】
そこで、バスバユニットと機器との着脱にかかる作業効率の向上を目的とする。
【課題を解決するための手段】
【0006】
本開示のバスバユニットは、電池パックの端子と電気的に接続されるバスバユニットであって、一端に設けられて前記電池パックの前記端子とボルト締結されて電気的に接続されるボルト締結部と、他端に設けられて相手コネクタのコネクタ端子と電気的に接続されるコネクタ端子部とを含むバスバと、前記バスバを覆うモールド樹脂部と、を備え、前記バスバの前記ボルト締結部と前記コネクタ端子部とが、前記電池パックの側面に対する法線方向である第1方向と、前記電池パックの前記側面に沿う第2方向とのそれぞれにおいて離れて設けられており、前記モールド樹脂部は、前記電池パックの前記側面と対向するように前記側面から前記第1方向に離れて設けられて前記コネクタ端子部を覆うコネクタハウジング部と、前記コネクタハウジング部から延び出る前記バスバの中間部を覆う中間覆い部と、前記コネクタハウジング部から前記電池パックの前記側面に向けて突出して前記電池パックの前記側面に接触する突起とを含み、前記ボルト締結部とは別に前記電池パックに固定される固定部が、前記モールド樹脂部のうち前記第2方向における前記バスバユニットの重心位置より前記ボルト締結部側に設けられている、バスバユニットである。
【発明の効果】
【0007】
本開示によれば、バスバユニットと機器との着脱にかかる作業効率が向上する。
【図面の簡単な説明】
【0008】
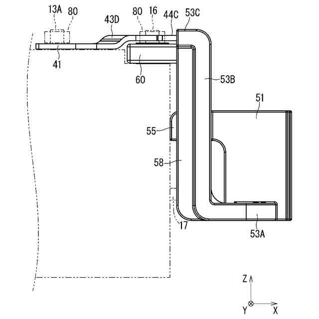
図1は実施形態1にかかるバスバユニット及びこれを備える接続モジュールを示す斜視図である。
図2は実施形態1にかかるバスバユニット及びこれを備える接続モジュールを示す側面図である。
図3はバスバユニットを示す斜視図である。
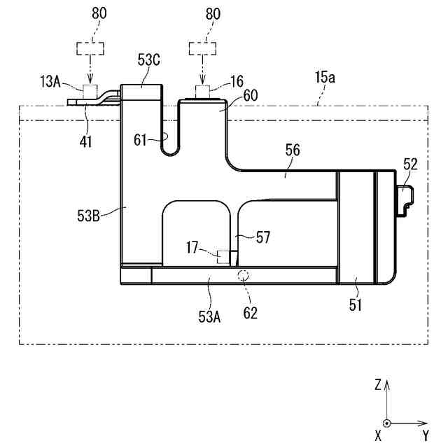
図4はバスバユニットを示す平面図である。
図5はバスバユニットを示す正面図である。
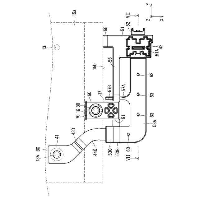
図6はバスバユニットを示す側面図である。
図7は図4のVII-VII線に沿った断面図である。
図8はバスバユニットが傾く様子を示す模式図である。
【発明を実施するための形態】
【0009】
[本開示の実施形態の説明]
最初に本開示の実施態様を列記して説明する。
【0010】
本開示のバスバユニットは、次の通りである。
(【0011】以降は省略されています)
この特許をJ-PlatPat(特許庁公式サイト)で参照する
関連特許
住友電装株式会社
端子台
1か月前
住友電装株式会社
端子台
1か月前
住友電装株式会社
コネクタ
1か月前
住友電装株式会社
コネクタ
1か月前
住友電装株式会社
コネクタ
1か月前
住友電装株式会社
コネクタ
1か月前
住友電装株式会社
コネクタ
1か月前
住友電装株式会社
コネクタ
1か月前
住友電装株式会社
コネクタ
1か月前
住友電装株式会社
コネクタ
1か月前
住友電装株式会社
コネクタ
2か月前
住友電装株式会社
コネクタ
28日前
住友電装株式会社
コネクタ
27日前
住友電装株式会社
コネクタ
1か月前
住友電装株式会社
コネクタ
1か月前
住友電装株式会社
コネクタ
19日前
住友電装株式会社
プロテクタ
1か月前
住友電装株式会社
シールド端子
13日前
住友電装株式会社
ワイヤハーネス
1か月前
住友電装株式会社
シールドコネクタ
19日前
住友電装株式会社
コネクタアセンブリ
1か月前
住友電装株式会社
ダミー栓およびコネクタ
1か月前
住友電装株式会社
ブラケット付きコネクタ
1か月前
住友電装株式会社
電気接続箱および制御ユニット
1か月前
住友電装株式会社
圧着端子、および端子付き電線
1か月前
住友電装株式会社
端子台、及び端子台の製造方法
1か月前
住友電装株式会社
コネクタ及びコネクタアセンブリ
11日前
住友電装株式会社
プロテクタ、及びワイヤハーネス
1か月前
住友電装株式会社
絶縁構造体、及びワイヤハーネス
1か月前
住友電装株式会社
ワイヤハーネス、及びグロメット
2か月前
住友電装株式会社
コネクタ及びコネクタアセンブリ
1か月前
住友電装株式会社
外導体端子及びシールドコネクタ
19日前
住友電装株式会社
電線固定部材、及びワイヤハーネス
2か月前
トヨタ自動車株式会社
車両の制御装置
1か月前
住友電装株式会社
プロテクタとホルダとの一体化ユニット
25日前
住友電装株式会社
プロテクタ及びプロテクタ付ワイヤハーネス
25日前
続きを見る
他の特許を見る