TOP
|
特許
|
意匠
|
商標
特許ウォッチ
Twitter
他の特許を見る
10個以上の画像は省略されています。
公開番号
2025145396
公報種別
公開特許公報(A)
公開日
2025-10-03
出願番号
2024045551
出願日
2024-03-21
発明の名称
プロテクタ、及びワイヤハーネス
出願人
住友電装株式会社
代理人
個人
,
個人
主分類
H02G
3/04 20060101AFI20250926BHJP(電力の発電,変換,配電)
要約
【課題】汎用性を高めることのできるプロテクタ、及びワイヤハーネスを提供する。
【解決手段】車体60に固定されるプロテクタ30は、少なくとも1つの電線20の長さ方向の一部を支持することで電線20を保護するプロテクタ本体40を有する。プロテクタ本体40は、電線20の長さ方向に沿って配置される第1プロテクタ本体41と第2プロテクタ本体42とを備える。プロテクタ30は、第1プロテクタ本体41と第2プロテクタ本体42とを連結する連結構造50をさらに有する。連結構造50は、第1プロテクタ本体41と第2プロテクタ本体42とが互いに重なり合う重なり部51と、重なり部51を結束する連結用結束部材52とを含む。プロテクタ30は、重なり部51の範囲を異なる範囲に変更することで、プロテクタ本体40の全長を複数の全長に設定可能に構成されている。
【選択図】図7
特許請求の範囲
【請求項1】
少なくとも1つの電線の長さ方向の一部を支持することで前記電線を保護するプロテクタ本体を有し、車体に固定されるプロテクタであって、
前記プロテクタ本体は、前記電線の長さ方向に沿って配置される第1プロテクタ本体と第2プロテクタ本体とを備え、
前記第1プロテクタ本体と前記第2プロテクタ本体とを連結する連結構造をさらに有し、
前記連結構造は、前記第1プロテクタ本体と前記第2プロテクタ本体とが互いに重なり合う重なり部と、
前記重なり部を結束する連結用結束部材と、を含み、
前記重なり部の範囲を異なる範囲に変更することで、前記プロテクタ本体の全長を複数の全長に設定可能に構成されている、
プロテクタ。
続きを表示(約 1,100 文字)
【請求項2】
前記重なり部は、前記第1プロテクタ本体を貫通する第1貫通孔と、
前記第1貫通孔に重なる位置に配置されるとともに前記第2プロテクタ本体を貫通する第2貫通孔と、を有し、
前記連結用結束部材は、互いに重ね合わせた状態の前記第1貫通孔と前記第2貫通孔とに挿通される、
請求項1に記載のプロテクタ。
【請求項3】
前記第1貫通孔と前記第2貫通孔とは、
互いに重ね合わせた状態において前記プロテクタ本体の全長を第1全長とする第1組と、
互いに重ね合わせた状態において前記プロテクタ本体の全長を前記第1全長よりも短い第2全長とする第2組と、を有する、
請求項2に記載のプロテクタ。
【請求項4】
前記第1貫通孔は、前記電線の長さ方向と交差する方向に沿って互いに離間して設けられた一対の第1貫通孔を含み、
前記第2貫通孔は、前記電線の長さ方向と交差する方向に沿って互いに離間して設けられた一対の第2貫通孔を含み、
前記連結用結束部材は、互いに重ね合わせた状態の前記一対の第1貫通孔と前記一対の第2貫通孔とに挿通される、
請求項2に記載のプロテクタ。
【請求項5】
前記第1プロテクタ本体は、前記電線の長さ方向の一部を支持する第1支持部と、前記第1支持部に設けられる一対の第1側壁部と、を備え、
前記第2プロテクタ本体は、前記電線の長さ方向の一部を支持する第2支持部と、前記第2支持部に設けられる一対の第2側壁部と、を備え、
前記重なり部は、前記一対の第1側壁部の外側面に前記一対の第2側壁部の内側面が重なるように配置された構成を有し、
前記電線の一部は、前記重なり部における前記一対の第1側壁部の間に配置される、
請求項1に記載のプロテクタ。
【請求項6】
前記連結用結束部材は、前記車体に固定される固定部を有する、
請求項1に記載のプロテクタ。
【請求項7】
前記連結構造は、前記連結用結束部材と前記プロテクタ本体との間に前記電線を配置する電線配置部を有するように構成される、
請求項1に記載のプロテクタ。
【請求項8】
前記第1プロテクタ本体及び前記第2プロテクタ本体の少なくとも一方のプロテクタ本体は、前記電線の曲線状部分を支持する屈曲部を有する、
請求項1に記載のプロテクタ。
【請求項9】
請求項1から請求項8のいずれか1項に記載のプロテクタと、前記電線と、を備える、
ワイヤハーネス。
発明の詳細な説明
【技術分野】
【0001】
本発明は、プロテクタ、及びワイヤハーネスに関する。
続きを表示(約 1,700 文字)
【背景技術】
【0002】
特許文献1に記載されるように、自動車等の車両に搭載されるワイヤハーネスには、電線と、電線を保護するプロテクタとを備えたものが知られている。
【先行技術文献】
【特許文献】
【0003】
特開2023-049458号公報
【発明の概要】
【発明が解決しようとする課題】
【0004】
上記のようなワイヤハーネスを保護するプロテクタには、例えば、保護が必要な電線の範囲等に応じて共用できる汎用性が求められる場合がある。
本開示の目的は、汎用性を高めることのできるプロテクタ、及びワイヤハーネスを提供することにある。
【課題を解決するための手段】
【0005】
本開示のプロテクタは、少なくとも1つの電線の長さ方向の一部を支持することで前記電線を保護するプロテクタ本体を有し、車体に固定されるプロテクタであって、前記プロテクタ本体は、前記電線の長さ方向に沿って配置される第1プロテクタ本体と第2プロテクタ本体とを備え、前記第1プロテクタ本体と前記第2プロテクタ本体とを連結する連結構造をさらに有し、前記連結構造は、前記第1プロテクタ本体と前記第2プロテクタ本体とが互いに重なり合う重なり部と、前記重なり部を結束する連結用結束部材と、を含み、前記重なり部の範囲を異なる範囲に変更することで、前記プロテクタ本体の全長を複数の全長に設定可能に構成されている。
【発明の効果】
【0006】
本開示のプロテクタ、及びワイヤハーネスは、汎用性を高めることができるという効果を奏する。
【図面の簡単な説明】
【0007】
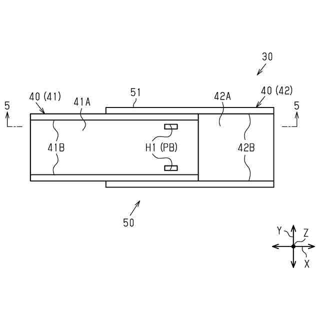
図1は、実施形態のワイヤハーネスを示す分解斜視図である。
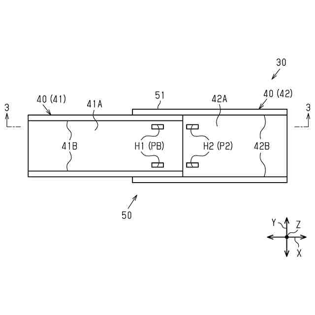
図2は、プロテクタ本体を示す平面図である。
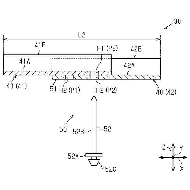
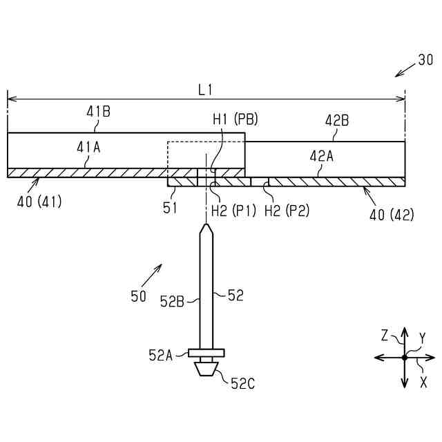
図3は、図2の3-3線に沿った断面図である。
図4は、プロテクタ本体を示す平面図である。
図5は、図4の5-5線に沿った断面図である。
図6は、ワイヤハーネスを示す平面図である。
図7は、図6の7-7線に沿った断面図である。
図8は、変更例のワイヤハーネスを示す分解斜視図である。
図9は、ワイヤハーネスを示す平面図である。
【発明を実施するための形態】
【0008】
[本開示の実施形態の説明]
最初に本開示の実施態様を列記して説明する。
[1]本開示のプロテクタは、少なくとも1つの電線の長さ方向の一部を支持することで前記電線を保護するプロテクタ本体を有し、車体に固定されるプロテクタであって、前記プロテクタ本体は、前記電線の長さ方向に沿って配置される第1プロテクタ本体と第2プロテクタ本体とを備え、前記第1プロテクタ本体と前記第2プロテクタ本体とを連結する連結構造をさらに有し、前記連結構造は、前記第1プロテクタ本体と前記第2プロテクタ本体とが互いに重なり合う重なり部と、前記重なり部を結束する連結用結束部材と、を含み、前記重なり部の範囲を異なる範囲に変更することで、前記プロテクタ本体の全長を複数の全長に設定可能に構成されている。
【0009】
この構成によれば、プロテクタは、第1プロテクタ本体と第2プロテクタ本体とを連結する上記連結構造を有するため、例えば、保護の必要な電線の範囲に応じてプロテクタ本体の全長を設定することが可能となる。したがって、プロテクタの汎用性を高めることができる。これにより、例えば、プロテクタ本体を成形する成形型の費用を削減したり、プロテクタ本体の設計の工数を削減したりすることができる。
【0010】
[2]上記[1]において、前記重なり部は、前記第1プロテクタ本体を貫通する第1貫通孔と、前記第1貫通孔に重なる位置に配置されるとともに前記第2プロテクタ本体を貫通する第2貫通孔と、を有し、前記連結用結束部材は、互いに重ね合わせた状態の前記第1貫通孔と前記第2貫通孔とに挿通されてもよい。
(【0011】以降は省略されています)
この特許をJ-PlatPat(特許庁公式サイト)で参照する
関連特許
住友電装株式会社
端子台
1か月前
住友電装株式会社
コネクタ
1か月前
住友電装株式会社
コネクタ
28日前
住友電装株式会社
コネクタ
29日前
住友電装株式会社
コネクタ
20日前
住友電装株式会社
シールド端子
14日前
住友電装株式会社
シールドコネクタ
20日前
住友電装株式会社
外導体端子及びシールドコネクタ
20日前
住友電装株式会社
コネクタ及びコネクタアセンブリ
12日前
住友電装株式会社
プロテクタとホルダとの一体化ユニット
26日前
住友電装株式会社
プロテクタ及びプロテクタ付ワイヤハーネス
26日前
株式会社オートネットワーク技術研究所
電装品
12日前
株式会社オートネットワーク技術研究所
電装品
12日前
株式会社オートネットワーク技術研究所
雌端子
21日前
株式会社オートネットワーク技術研究所
固定部材
13日前
株式会社オートネットワーク技術研究所
コネクタ
22日前
株式会社オートネットワーク技術研究所
コネクタ
22日前
株式会社オートネットワーク技術研究所
接続構造体
1か月前
株式会社オートネットワーク技術研究所
コネクタ装置
1か月前
株式会社オートネットワーク技術研究所
コネクタ装置
1か月前
株式会社オートネットワーク技術研究所
車載用制御装置
1か月前
住友電装株式会社
接続構造体、リアクトル装置および接続構造体の製造方法
12日前
住友電装株式会社
電気接続箱
1か月前
株式会社オートネットワーク技術研究所
電子部品モジュール
今日
株式会社オートネットワーク技術研究所
コネクタのガイド構造
1か月前
住友電装株式会社
バスバユニット
1日前
住友電装株式会社
バスバユニット
20日前
株式会社オートネットワーク技術研究所
端子金具、及びコネクタ
21日前
株式会社オートネットワーク技術研究所
端子金具、及びコネクタ
21日前
住友電装株式会社
配線部材の配索構造
22日前
住友電装株式会社
配線部材の配索構造
20日前
株式会社オートネットワーク技術研究所
筐体、および車両用充電装置
1か月前
株式会社オートネットワーク技術研究所
端子材料および電気接続端子
1か月前
株式会社オートネットワーク技術研究所
端子材料および電気接続端子
1か月前
株式会社オートネットワーク技術研究所
端子材料および電気接続端子
1か月前
株式会社オートネットワーク技術研究所
端子金具、実装基板及び基板装置
1か月前
続きを見る
他の特許を見る