TOP
|
特許
|
意匠
|
商標
特許ウォッチ
Twitter
他の特許を見る
公開番号
2025167156
公報種別
公開特許公報(A)
公開日
2025-11-07
出願番号
2024071516
出願日
2024-04-25
発明の名称
コネクタ及びコネクタアセンブリ
出願人
住友電装株式会社
代理人
個人
,
個人
主分類
H01R
13/631 20060101AFI20251030BHJP(基本的電気素子)
要約
【課題】相手コネクタに対する着脱の作業性を向上可能としたコネクタ及びコネクタアセンブリを提供する。
【解決手段】第1コネクタ11は、第2コネクタ12が設けられた固定部材13に対して固定されるシールドシェル31と、シールドシェル31に保持されるとともに第2コネクタ12に対して第1方向D1に嵌合されるコネクタ本体41とを備える。シールドシェル31は、内部においてコネクタ本体41を保持する筒状のシェル本体部32と、第1方向D1に直交する第2方向D2においてシェル本体部32からずれた位置に設けられ、ボルトによって固定部材13に締結固定される締結固定部33とを有する。コネクタ本体41は、シェル本体部32に対して、第1方向D1及び第2方向D2の各々に直交する第3方向に沿った回動軸L1を中心として回動可能に保持されている。
【選択図】図6
特許請求の範囲
【請求項1】
相手コネクタが設けられた固定部材に対して固定されるシールドシェルと、前記シールドシェルに保持されるとともに前記相手コネクタに対して第1方向に嵌合されるコネクタ本体と、を備え、
前記シールドシェルは、内部において前記コネクタ本体を保持する筒状のシェル本体部と、前記第1方向に直交する第2方向において前記シェル本体部からずれた位置に設けられ、ボルトによって前記固定部材に締結固定される締結固定部と、を有するコネクタであって、
前記コネクタ本体は、前記シェル本体部に対して、前記第1方向及び前記第2方向の各々に直交する第3方向に沿った回動軸を中心として回動可能に保持されている、
コネクタ。
続きを表示(約 1,100 文字)
【請求項2】
前記コネクタは、前記第1方向に沿った前記ボルトの軸力を前記コネクタ本体に伝達する第1伝達部を備え、
前記第1伝達部は、前記第1方向を向く前記コネクタ本体に対して前記シールドシェルが前記回動軸を中心に回動した状態において、前記ボルトの軸力を前記シールドシェルから前記コネクタ本体に伝達可能に構成されている、
請求項1に記載のコネクタ。
【請求項3】
前記第1伝達部は、
前記第1方向に対して反対向きの第4方向における前記シェル本体部の先端部に設けられるカバーと、
前記カバーと前記コネクタ本体との間に介在される転動体と、を備え、
前記ボルトの軸力は、前記シールドシェルから前記カバーと前記転動体とを介して前記コネクタ本体に伝達される、
請求項2に記載のコネクタ。
【請求項4】
前記転動体は、球状をなしている、
請求項3に記載のコネクタ。
【請求項5】
前記第1方向に対する反対方向を第4方向としたとき、
前記コネクタは、前記シールドシェルに付与される前記第4方向への力を前記コネクタ本体に伝達する第2伝達部を備え、
前記第2伝達部は、前記第1方向を向く前記コネクタ本体に対して前記シールドシェルが前記回動軸を中心に回動した状態において、前記第4方向への力を前記シールドシェルから前記コネクタ本体に伝達可能に構成されている、
請求項1に記載のコネクタ。
【請求項6】
前記コネクタ本体は、外周にフランジ部を有するハウジングを備え、
前記第2伝達部は、
前記第4方向における前記シェル本体部の先端部に連結される連結部材と、
前記連結部材に対して前記回動軸を中心として回動可能に連結されるとともに、前記第4方向に向かって前記フランジ部に係止される係止部材と、を備える、
請求項5に記載のコネクタ。
【請求項7】
前記係止部材は、前記コネクタ本体を囲む環状をなし、
前記第2伝達部は、一対の前記連結部材を備え、
前記一対の連結部材は、前記回動軸に沿った方向における前記係止部材の両端部にそれぞれ回動可能に連結されている、
請求項6に記載のコネクタ。
【請求項8】
請求項1から請求項7のいずれか1項に記載のコネクタと、
前記固定部材に設けられるとともに前記コネクタに接続される前記相手コネクタと、
を備える、
コネクタアセンブリ。
発明の詳細な説明
【技術分野】
【0001】
本開示は、コネクタ及びコネクタアセンブリに関するものである。
続きを表示(約 2,200 文字)
【背景技術】
【0002】
従来、コネクタとしては、シールドシェルと、シールドシェルに保持されたコネクタ本体とを備えたものがある(例えば、特許文献1参照)。コネクタ本体は、相手コネクタに対して第1方向に嵌合されることにより、相手コネクタと電気的に接続される。シールドシェルは、コネクタ本体を保持するシェル本体部と、シェル本体部の側面から延出する締結固定部とを有する。締結固定部は、相手コネクタに対する嵌合方向(第1方向)に直交する第2方向において、シェル本体部からずれた位置に設けられている。締結固定部は、相手コネクタが設けられた固定部材に対して、ボルトによって締結固定される。このようなコネクタでは、相手コネクタに対するコネクタ本体の嵌合がボルトの軸力によってアシストされることにより、コネクタ本体を適正位置まで嵌合させることが可能となっている。
【先行技術文献】
【特許文献】
【0003】
特開2012-238465号公報
【発明の概要】
【発明が解決しようとする課題】
【0004】
上記のようなコネクタでは、コネクタ本体が相手コネクタに嵌合される位置と、ボルトによって固定される締結固定部の位置とが、第2方向において互いにずれている。相手コネクタに対するコネクタ本体の嵌合時には、コネクタ本体が嵌合の抵抗力を受けることにより、シールドシェルの締結固定部が先んじて固定部材に近づく。これにより、シールドシェル及びシールドシェルに保持されるコネクタ本体が相手コネクタに対して傾くため、嵌合時の前記抵抗力が増加してしまう。また、コネクタ本体を相手コネクタから取り外す際においても同様に、シールドシェルの締結固定部が先んじて固定部材から離れるため、シールドシェル及びコネクタ本体が相手コネクタに対して傾く。これにより、コネクタ本体を相手コネクタから取り外す際の抵抗力が増加してしまう。このように、上記のようなコネクタでは、相手コネクタに対する着脱時の抵抗力の増加により、コネクタを相手コネクタに着脱する際の作業性が悪化する問題があった。
【0005】
本開示の目的は、相手コネクタに対する着脱の作業性を向上可能としたコネクタ及びコネクタアセンブリを提供することにある。
【課題を解決するための手段】
【0006】
本開示のコネクタは、相手コネクタが設けられた固定部材に対して固定されるシールドシェルと、前記シールドシェルに保持されるとともに前記相手コネクタに対して第1方向に嵌合されるコネクタ本体と、を備え、前記シールドシェルは、内部において前記コネクタ本体を保持する筒状のシェル本体部と、前記第1方向に直交する第2方向において前記シェル本体部からずれた位置に設けられ、ボルトによって前記固定部材に締結固定される締結固定部と、を有するコネクタであって、前記コネクタ本体は、前記シェル本体部に対して、前記第1方向及び前記第2方向の各々に直交する第3方向に沿った回動軸を中心として回動可能に保持されている。
【発明の効果】
【0007】
本開示のコネクタ及びコネクタアセンブリによれば、相手コネクタに対する着脱の作業性を向上可能となる。
【図面の簡単な説明】
【0008】
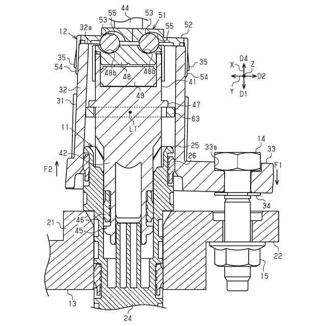
図1は、一実施形態のコネクタアセンブリにおける分解斜視図である。
図2は、同実施形態におけるコネクタアセンブリの平面図である。
図3は、図2における3-3線断面図である。
図4は、同実施形態における第2コネクタの斜視図である。
図5は、同実施形態における第2コネクタの分解斜視図である。
図6は、同実施形態のコネクタアセンブリにおける第2コネクタの取り付けの態様を説明するための説明図である。
図7は、同実施形態のコネクタアセンブリにおける第2コネクタの取り外しの態様を説明するための側面図である。
【発明を実施するための形態】
【0009】
[本開示の実施形態の説明]
最初に本開示の実施態様を列記して説明する。
本開示のコネクタは、
[1]相手コネクタが設けられた固定部材に対して固定されるシールドシェルと、前記シールドシェルに保持されるとともに前記相手コネクタに対して第1方向に嵌合されるコネクタ本体と、を備え、前記シールドシェルは、内部において前記コネクタ本体を保持する筒状のシェル本体部と、前記第1方向に直交する第2方向において前記シェル本体部からずれた位置に設けられ、ボルトによって前記固定部材に締結固定される締結固定部と、を有するコネクタであって、前記コネクタ本体は、前記シェル本体部に対して、前記第1方向及び前記第2方向の各々に直交する第3方向に沿った回動軸を中心として回動可能に保持されている。
【0010】
この構成によれば、ボルトの着脱時にシールドシェルが傾いたときに、コネクタ本体は、シェル本体部に対して第3方向に沿った回動軸を中心として回動する。これにより、コネクタ本体の着脱時において、コネクタ本体の姿勢が相手コネクタに対してまっすぐに保たれるため、着脱時の抵抗力の増加を抑えることができる。したがって、相手コネクタに対するコネクタの着脱の作業性を向上可能となる。
(【0011】以降は省略されています)
この特許をJ-PlatPat(特許庁公式サイト)で参照する
関連特許
住友電装株式会社
端子台
24日前
住友電装株式会社
コネクタ
17日前
住友電装株式会社
コネクタ
16日前
住友電装株式会社
コネクタ
8日前
住友電装株式会社
コネクタ
28日前
住友電装株式会社
プロテクタ
29日前
住友電装株式会社
シールド端子
2日前
住友電装株式会社
シールドコネクタ
8日前
住友電装株式会社
端子台、及び端子台の製造方法
1か月前
住友電装株式会社
電気接続箱および制御ユニット
1か月前
住友電装株式会社
コネクタ及びコネクタアセンブリ
今日
住友電装株式会社
外導体端子及びシールドコネクタ
8日前
住友電装株式会社
プロテクタとホルダとの一体化ユニット
14日前
住友電装株式会社
プロテクタ及びプロテクタ付ワイヤハーネス
14日前
株式会社オートネットワーク技術研究所
電装品
今日
株式会社オートネットワーク技術研究所
電装品
今日
株式会社オートネットワーク技術研究所
雌端子
9日前
株式会社オートネットワーク技術研究所
コネクタ
10日前
株式会社オートネットワーク技術研究所
コネクタ
1か月前
株式会社オートネットワーク技術研究所
コネクタ
10日前
株式会社オートネットワーク技術研究所
コネクタ
29日前
株式会社オートネットワーク技術研究所
固定部材
1日前
株式会社オートネットワーク技術研究所
車載装置
29日前
株式会社オートネットワーク技術研究所
接続構造体
29日前
株式会社オートネットワーク技術研究所
コネクタ装置
29日前
株式会社オートネットワーク技術研究所
コネクタ装置
29日前
株式会社オートネットワーク技術研究所
コネクタ装置
1か月前
株式会社オートネットワーク技術研究所
コネクタ装置
1か月前
住友電装株式会社
接続構造体、リアクトル装置および接続構造体の製造方法
今日
株式会社オートネットワーク技術研究所
車載用制御装置
22日前
住友電装株式会社
電気接続箱
21日前
住友電装株式会社
バスバユニット
8日前
株式会社オートネットワーク技術研究所
コネクタのガイド構造
29日前
株式会社オートネットワーク技術研究所
端子金具、及びコネクタ
9日前
株式会社オートネットワーク技術研究所
端子金具、及びコネクタ
9日前
住友電装株式会社
配線部材の配索構造
10日前
続きを見る
他の特許を見る