TOP
|
特許
|
意匠
|
商標
特許ウォッチ
Twitter
他の特許を見る
公開番号
2025150106
公報種別
公開特許公報(A)
公開日
2025-10-09
出願番号
2024050814
出願日
2024-03-27
発明の名称
車載装置
出願人
株式会社オートネットワーク技術研究所
,
住友電装株式会社
,
住友電気工業株式会社
代理人
弁理士法人グランダム特許事務所
主分類
H04L
43/0811 20220101AFI20251002BHJP(電気通信技術)
要約
【課題】ECUに接続対象が正常に接続されたことをECUが確認することが可能な技術を提供する。
【解決手段】車載システム1は、ECU20と、ECU20に接続対象12を接続する信号線40と、信号線40に接続される通信装置30と、を有する。ECU20は、照合用情報を信号線40に送信する。通信装置30は、信号線40から照合用情報を受信し、受信した照合用情報を返信情報として無線通信によってECU20に送信する返信処理を行う。ECU20は、通信装置30から受信した返信情報と信号線40に送信した照合用情報とが一致するか否かを判定する照合処理を行う。
【選択図】図1
特許請求の範囲
【請求項1】
ECUと、
前記ECUに接続対象を接続する信号線と、
前記信号線に接続される通信装置と、を有し、
前記ECUは、照合用情報を前記信号線に送信し、
前記通信装置は、前記信号線から前記照合用情報を受信し、受信した前記照合用情報を返信情報として前記信号線とは別の通信線又は無線通信によって前記ECUに送信する返信処理を行い、
前記ECUは、前記通信装置から受信した前記返信情報と前記信号線に送信した前記照合用情報とが一致するか否かを判定する照合処理を行う
車載装置。
続きを表示(約 700 文字)
【請求項2】
前記通信装置は、前記返信処理において、前記返信情報を無線通信によって前記ECUに送信する
請求項1に記載の車載装置。
【請求項3】
前記ECUは、前記照合用情報を暗号化して前記信号線に送信し、
前記通信装置は、前記返信処理において、暗号化された前記照合用情報を前記信号線から受信して複合化し、複合化した前記照合用情報を前記返信情報として前記ECUに送信する
請求項1又は請求項2に記載の車載装置。
【請求項4】
前記ECUから前記接続対象に電力を供給する電力線を有し、
前記ECUは、前記電力線に電力を供給する電力供給状態と、前記電力線に電力を供給しない電力遮断状態とに切り替わる構成であり、前記電力供給状態に切り替わったときに前記照合用情報を前記信号線に送信し、
前記通信装置は、前記電力線に接続されており、前記電力線に電力が供給されていない状態ではオフ状態で維持され、前記電力線に電力が供給された場合にオン状態に切り替わって前記返信処理を行う
請求項1又は請求項2に記載の車載装置。
【請求項5】
前記ECUは、前記照合処理の結果、一致すると判定した場合、前記信号線を介した前記接続対象との信号の送受信を許可し、一致しないと判定した場合、前記信号線を介した前記接続対象との信号の送受信を禁止する
請求項1又は請求項2に記載の車載装置。
【請求項6】
前記接続対象は、センサ又はアクチュエータである
請求項1又は請求項2に記載の車載装置。
発明の詳細な説明
【技術分野】
【0001】
本開示は、車載装置に関する。
続きを表示(約 1,200 文字)
【背景技術】
【0002】
特許文献1には、車両に搭載される車載電子システムが開示されている。特許文献1には、ジカ線を介してECUにスイッチなどの接続対象を接続することが記載されている。
【先行技術文献】
【特許文献】
【0003】
特開2022-154558号公報
【発明の概要】
【発明が解決しようとする課題】
【0004】
特許文献1のような構成では、接続対象がECUからの通知に対して応答する手段を有しない場合、接続対象が正常に接続されたか否かをECU側で確認することが難しかった。
【0005】
本開示は、ECUに接続対象が正常に接続されたことをECUが確認することが可能な技術を提供することを目的とする。
【課題を解決するための手段】
【0006】
本開示の車載装置は、
ECUと、
前記ECUに接続対象を接続する信号線と、
前記信号線に接続される通信装置と、を有し、
前記ECUは、照合用情報を前記信号線に送信し、
前記通信装置は、前記信号線から前記照合用情報を受信し、受信した前記照合用情報を返信情報として前記信号線とは別の通信線又は無線通信によって前記ECUに送信する返信処理を行い、
前記ECUは、前記通信装置から受信した前記返信情報と前記信号線に送信した前記照合用情報とが一致するか否かを判定する照合処理を行う。
【発明の効果】
【0007】
本開示の技術によれば、ECUに接続対象が正常に接続されたことをECUが確認することができる。
【図面の簡単な説明】
【0008】
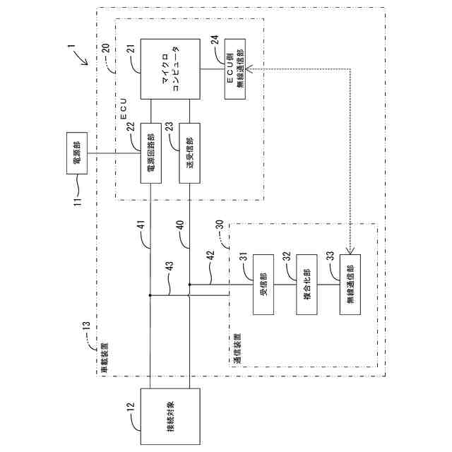
図1は、第1実施形態の車載システムを概略的に示す構成図である。
図2は、第1実施形態の車載装置のシーケンス図である。
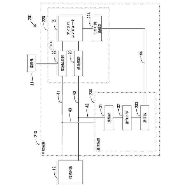
図3は、第2実施形態の車載システムを概略的に示す構成図である。
【発明を実施するための形態】
【0009】
[本開示の実施形態の説明]
最初に本開示の実施態様を列記して説明する。
【0010】
〔1〕ECUと、
前記ECUに接続対象を接続する信号線と、
前記信号線に接続される通信装置と、を有し、
前記ECUは、照合用情報を前記信号線に送信し、
前記通信装置は、前記信号線から前記照合用情報を受信し、受信した前記照合用情報を返信情報として前記信号線とは別の通信線又は無線通信によって前記ECUに送信する返信処理を行い、
前記ECUは、前記通信装置から受信した前記返信情報と前記信号線に送信した前記照合用情報とが一致するか否かを判定する照合処理を行う
車載装置。
(【0011】以降は省略されています)
この特許をJ-PlatPat(特許庁公式サイト)で参照する
関連特許
サクサ株式会社
中継装置
4日前
WHISMR合同会社
収音装置
1か月前
サクサ株式会社
中継装置
3日前
キヤノン株式会社
撮像装置
1か月前
アイホン株式会社
電気機器
25日前
サクサ株式会社
無線通信装置
3日前
株式会社リコー
画像形成装置
2か月前
株式会社リコー
画像形成装置
1か月前
個人
ワイヤレスイヤホン対応耳掛け
23日前
サクサ株式会社
無線通信装置
3日前
キヤノン電子株式会社
画像読取装置
1か月前
株式会社リコー
画像形成装置
1か月前
サクサ株式会社
無線システム
2日前
キヤノン株式会社
撮像システム
25日前
個人
発信機及び発信方法
2日前
ブラザー工業株式会社
読取装置
2か月前
株式会社松平商会
携帯機器カバー
1か月前
株式会社小糸製作所
画像照射装置
1か月前
沖電気工業株式会社
画像形成装置
13日前
国立大学法人電気通信大学
小型光学装置
1か月前
キヤノン電子株式会社
シート材搬送装置
2か月前
大日本印刷株式会社
写真撮影装置
24日前
有限会社フィデリックス
マイクロフォン
9日前
株式会社JVCケンウッド
通信システム
9日前
パテントフレア株式会社
超高速電波通信
1か月前
沖電気工業株式会社
画像形成装置
5日前
株式会社国際電気
遠隔監視システム
1か月前
ダイハツ工業株式会社
人流取得装置
3日前
日本無線株式会社
無線通信システム
17日前
株式会社大林組
監視システム
1か月前
日本無線株式会社
無線通信システム
1か月前
日本無線株式会社
無線通信システム
1か月前
株式会社リコー
画像形成装置
1か月前
日本無線株式会社
無線通信システム
1か月前
日本無線株式会社
無線通信システム
1か月前
株式会社JVCケンウッド
スピーカ
1か月前
続きを見る
他の特許を見る