TOP
|
特許
|
意匠
|
商標
特許ウォッチ
Twitter
他の特許を見る
公開番号
2025150886
公報種別
公開特許公報(A)
公開日
2025-10-09
出願番号
2024052039
出願日
2024-03-27
発明の名称
コネクタ
出願人
株式会社オートネットワーク技術研究所
,
住友電装株式会社
,
住友電気工業株式会社
代理人
個人
,
個人
主分類
H01R
13/405 20060101AFI20251002BHJP(基本的電気素子)
要約
【課題】小型化できるコネクタを提供する。
【解決手段】コネクタ10は、1以上の端子20と、端子20を保持するハウジング30と、端子20とハウジング30との間に介在する接着剤40と、を備える。端子20は、第1軸線Xに沿って延びる第1端子部21と、第1軸線Xに沿って延びる第2端子部22と、第1端子部21と第2端子部22とを連結するとともに第1軸線Xと交差する第2軸線Yに沿って延びる連結部23と、を有する。第1端子部21と第2端子部22とは、連結部23を基点に互いに反対方向に延びている。連結部23は、ハウジング30に埋設されている。接着剤40は、連結部23の外周面を被覆するとともに第2軸線Yに沿って延びるように形成されている。
【選択図】図3
特許請求の範囲
【請求項1】
1以上の端子と、
前記端子を保持するハウジングと、
前記端子と前記ハウジングとの間に介在する接着剤と、を備え、
前記端子は、
第1軸線に沿って延びる第1端子部と、
前記第1軸線に沿って延びる第2端子部と、
前記第1端子部と前記第2端子部とを連結するとともに前記第1軸線と交差する第2軸線に沿って延びる連結部と、を有し、
前記第1端子部と前記第2端子部とは、前記連結部を基点に互いに反対方向に延びており、
前記連結部は、前記ハウジングに埋設されており、
前記接着剤は、前記連結部の外周面を被覆するとともに前記第2軸線に沿って延びるように形成されている、コネクタ。
続きを表示(約 880 文字)
【請求項2】
前記ハウジングは、
前記連結部を内蔵するとともに前記端子を保持する保持部と、
前記ハウジングを取付対象に固定するための固定部と、を有し、
前記保持部は、前記取付対象が有する取付孔に挿入される部分であり、
前記固定部は、前記保持部のうち前記第1軸線に沿った一方向である第1方向の端面から前記第1方向に向かって突出するとともに前記保持部の外周面よりも外方に突出するように形成されている、請求項1に記載のコネクタ。
【請求項3】
前記第1端子部は、前記保持部のうち前記第1方向の端面から前記第1方向に向かって突出するように形成されており、
前記第1端子部は、第1相手端子と接続される部分であり、
前記ハウジングは、前記保持部のうち前記第1方向の端面と前記固定部のうち前記第1方向の端面とによって形成された凹部を有し、
前記第1端子部と前記第1相手端子との接続部分の一部は、前記凹部の内部に配置される、請求項2に記載のコネクタ。
【請求項4】
前記第1端子部は、前記連結部から前記第1軸線に沿った一方向である第1方向に向かって延びており、
前記連結部は、前記第1端子部のうち前記第1方向の反対方向である第1反対方向の端部から前記第2軸線に沿った一方向である第2方向に向かって延びており、
前記第2端子部は、前記連結部のうち前記第2方向の端部から前記第1反対方向に向かって延びている、請求項1に記載のコネクタ。
【請求項5】
前記第1端子部は、平板状に形成されており、
前記第1端子部は、前記第1端子部が内部に挿入される筒状の雌端子である第1相手端子と接続される部分である、請求項1に記載のコネクタ。
【請求項6】
前記第1端子部は、筒状の雌端子部を有し、
前記雌端子部は、前記第2軸線において、前記連結部から離れる方向に向かって突出するように形成されている、請求項1に記載のコネクタ。
発明の詳細な説明
【技術分野】
【0001】
本開示は、コネクタに関するものである。
続きを表示(約 1,800 文字)
【背景技術】
【0002】
従来、電気機器に取り付けられるコネクタとしては、電気機器のケース内外を電気接続する中継コネクタ機能を有する端子台が知られている。端子台としては、樹脂材よりなるハウジングと、ハウジングに埋設される埋設部を有する板状の端子と、埋設部とハウジングとの間に介在される接着剤とを備えたものがある(例えば、特許文献1参照)。
【先行技術文献】
【特許文献】
【0003】
特開2015-122161号公報
【発明の概要】
【発明が解決しようとする課題】
【0004】
ところで、上記コネクタでは、小型化が望まれている。
本開示の目的は、小型化できるコネクタを提供することにある。
【課題を解決するための手段】
【0005】
本開示のコネクタは、1以上の端子と、前記端子を保持するハウジングと、前記端子と前記ハウジングとの間に介在する接着剤と、を備え、前記端子は、第1軸線に沿って延びる第1端子部と、前記第1軸線に沿って延びる第2端子部と、前記第1端子部と前記第2端子部とを連結するとともに前記第1軸線と交差する第2軸線に沿って延びる連結部と、を有し、前記第1端子部と前記第2端子部とは、前記連結部を基点に互いに反対方向に延びており、前記連結部は、前記ハウジングに埋設されており、前記接着剤は、前記連結部の外周面を被覆するとともに前記第2軸線に沿って延びるように形成されている。
【発明の効果】
【0006】
本開示のコネクタによれば、小型化できるという効果を奏する。
【図面の簡単な説明】
【0007】
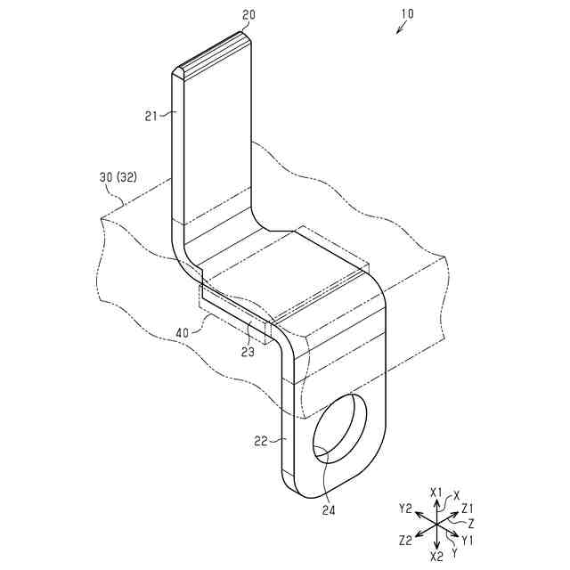
図1は、一実施形態のコネクタを示す斜視図である。
図2は、一実施形態のコネクタを示す正面図である。
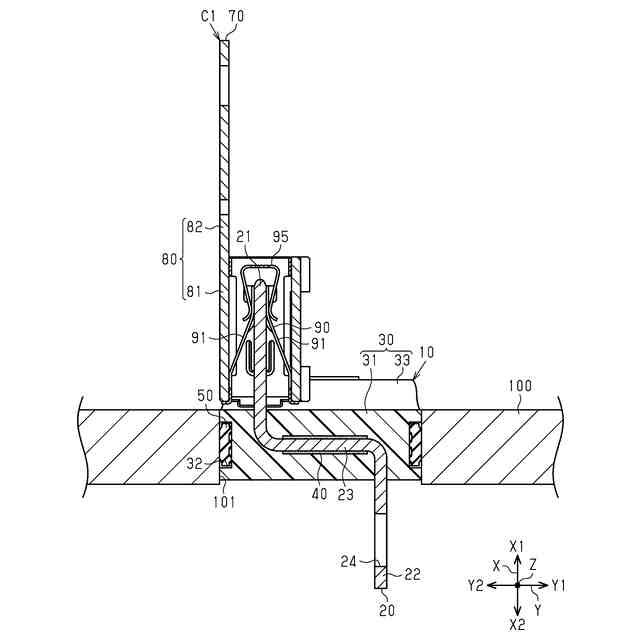
図3は、一実施形態のコネクタを示す断面図(図2における3-3線断面図)である。
図4は、一実施形態のコネクタの一部を示す斜視図である。
図5は、一実施形態のコネクタを示す平面図である。
図6は、変更例のコネクタを示す平面図である。
図7は、変更例のコネクタを示す断面図である。
図8は、変更例のコネクタを示す正面図である。
【発明を実施するための形態】
【0008】
[本開示の実施形態の説明]
最初に本開示の実施形態を列挙して説明する。
[1]本開示のコネクタは、1以上の端子と、前記端子を保持するハウジングと、前記端子と前記ハウジングとの間に介在する接着剤と、を備え、前記端子は、第1軸線に沿って延びる第1端子部と、前記第1軸線に沿って延びる第2端子部と、前記第1端子部と前記第2端子部とを連結するとともに前記第1軸線と交差する第2軸線に沿って延びる連結部と、を有し、前記第1端子部と前記第2端子部とは、前記連結部を基点に互いに反対方向に延びており、前記連結部は、前記ハウジングに埋設されており、前記接着剤は、前記連結部の外周面を被覆するとともに前記第2軸線に沿って延びるように形成されている。
【0009】
この構成によれば、端子のうちハウジングに埋設される部分である連結部が、第1端子部が延びる第1軸線と交差する第2軸線に沿って延びるように形成される。さらに、接着剤が、連結部とハウジングとの間に介在して設けられるとともに第2軸線に沿って延びるように形成される。このため、第1端子部が延びる第1軸線に沿った方向、つまり相手コネクタとの嵌合方向に沿って連結部が延びる従来構成に比べて、相手コネクタとの嵌合方向におけるコネクタのサイズを小型化できる。
【0010】
[2]上記[1]において、前記ハウジングは、前記連結部を内蔵するとともに前記端子を保持する保持部と、前記ハウジングを取付対象に固定するための固定部と、を有し、前記保持部は、前記取付対象が有する取付孔に挿入される部分であり、前記固定部は、前記保持部のうち前記第1軸線に沿った一方向である第1方向の端面から前記第1方向に向かって突出するとともに前記保持部の外周面よりも外方に突出するように形成されていてもよい。
(【0011】以降は省略されています)
この特許をJ-PlatPat(特許庁公式サイト)で参照する
関連特許
APB株式会社
蓄電セル
1か月前
東ソー株式会社
絶縁電線
1か月前
マクセル株式会社
電源装置
1か月前
株式会社東芝
端子台
1か月前
ローム株式会社
半導体装置
1か月前
日新イオン機器株式会社
イオン源
1か月前
株式会社GSユアサ
蓄電装置
9日前
富士電機株式会社
電磁接触器
9日前
株式会社ホロン
冷陰極電子源
1か月前
三菱電機株式会社
回路遮断器
17日前
株式会社GSユアサ
蓄電装置
1か月前
株式会社GSユアサ
蓄電装置
23日前
株式会社GSユアサ
蓄電装置
1か月前
北道電設株式会社
配電具カバー
1か月前
日本特殊陶業株式会社
保持装置
22日前
ホシデン株式会社
複合コネクタ
3日前
トヨタ自動車株式会社
バッテリ
1か月前
大電株式会社
電線又はケーブル
1日前
日新イオン機器株式会社
基板処理装置
1か月前
日本特殊陶業株式会社
保持装置
1か月前
トヨタ自動車株式会社
蓄電装置
1日前
トヨタ自動車株式会社
蓄電装置
1か月前
トヨタ自動車株式会社
冷却構造
1か月前
株式会社トクヤマ
シリコンエッチング液
1か月前
トヨタ自動車株式会社
密閉型電池
1か月前
日亜化学工業株式会社
半導体レーザ素子
1か月前
株式会社トクヤマ
シリコンエッチング液
1か月前
トヨタ自動車株式会社
電池パック
1か月前
株式会社レゾナック
冷却器
17日前
株式会社デンソー
電子装置
1か月前
日本無線株式会社
レーダアンテナ
24日前
トヨタ自動車株式会社
電池パック
1か月前
住友電装株式会社
コネクタ
1か月前
ローム株式会社
半導体モジュール
10日前
甲神電機株式会社
変流器及び零相変流器
24日前
矢崎総業株式会社
コネクタ
9日前
続きを見る
他の特許を見る