TOP
|
特許
|
意匠
|
商標
特許ウォッチ
Twitter
他の特許を見る
10個以上の画像は省略されています。
公開番号
2025151474
公報種別
公開特許公報(A)
公開日
2025-10-09
出願番号
2024052920
出願日
2024-03-28
発明の名称
コネクタのガイド構造
出願人
株式会社オートネットワーク技術研究所
,
住友電装株式会社
,
住友電気工業株式会社
代理人
弁理士法人暁合同特許事務所
主分類
H01R
13/631 20060101AFI20251002BHJP(基本的電気素子)
要約
【課題】組み立て衝撃によってハウジングが破損することなく、円滑な嵌合動作を実現する。
【解決手段】本開示のコネクタのガイド構造10は、一対のガイドピン24が形成された第1ハウジングと、一対のガイド凹部34が形成された第2ハウジングと、を備え、一対のガイドピン24が一対のガイド凹部34に受け入れられることで第1ハウジングと第2ハウジングとが正規の嵌合姿勢に案内されて嵌合するようになっており、一対のガイドピン24は、いずれも嵌合方向から見て半割状をなし、一対のガイドピン24は、嵌合方向にのびる中心軸25と、中心軸25に沿って嵌合方向にのびる割り面26と、嵌合方向の後方に向かうにつれて中心軸25から離れるように傾斜したガイド面27と、をそれぞれ有し、一対のガイドピン24は、一対のガイド面27が第1ハウジングよりも嵌合方向の前方に突出するとともに一対の割り面26が内向きに対向するように配され、一対のガイド凹部34は、第2ハウジングよりも嵌合方向の前方に突出して配されている。
【選択図】図1
特許請求の範囲
【請求項1】
一対のガイドピンが形成された第1ハウジングと、
一対のガイド凹部が形成された第2ハウジングと、を備え、
前記一対のガイドピンが前記一対のガイド凹部に受け入れられることで前記第1ハウジングと前記第2ハウジングとが正規の嵌合姿勢に案内されて嵌合するようになっており、
前記一対のガイドピンは、いずれも嵌合方向から見て半割状をなし、
前記一対のガイドピンは、前記嵌合方向にのびる中心軸と、前記中心軸に沿って前記嵌合方向にのびる割り面と、前記嵌合方向の後方に向かうにつれて前記中心軸から離れるように傾斜したガイド面と、をそれぞれ有し、
前記一対のガイドピンは、一対の前記ガイド面が前記第1ハウジングよりも前記嵌合方向の前方に突出するとともに一対の前記割り面が内向きに対向するように配され、
一対の前記ガイド凹部は、前記第2ハウジングよりも前記嵌合方向の前方に突出して配されている、コネクタのガイド構造。
続きを表示(約 230 文字)
【請求項2】
前記一対のガイドピンは前記第1ハウジングに一体に形成され、前記一対のガイド凹部は前記第2ハウジングに一体に形成されている、請求項1に記載のコネクタのガイド構造。
【請求項3】
前記嵌合方向から見た前記ガイド面の外縁は半円形状である、請求項1または請求項2に記載のコネクタのガイド構造。
【請求項4】
前記嵌合方向から見た前記ガイド面の外縁は半楕円形状である、請求項1または請求項2に記載のコネクタのガイド構造。
発明の詳細な説明
【技術分野】
【0001】
本開示は、コネクタのガイド構造に関する。
続きを表示(約 2,300 文字)
【背景技術】
【0002】
例えば、モジュール部品を車体に装着する場合、モジュール側コネクタと車体側コネクタとを嵌合して電気的接続を図る必要がある。このようなコネクタとして、特開2005-183033号公報(下記特許文献1)に記載のコネクタが知られている。このコネクタは、レセプタクルコネクタと、プラグコネクタと、を備え、レセプタクルコネクタは、プラグコネクタが内部に嵌合するプラグコネクタ嵌合部を有している。
【先行技術文献】
【特許文献】
【0003】
特開2005-183033号公報
【発明の概要】
【発明が解決しようとする課題】
【0004】
上記のコネクタでは、レセプタクルコネクタとプラグコネクタが嵌合する際に、プラグコネクタのハウジングがプラグコネクタ嵌合部に接触する構造となっているため、組み立て衝撃によってハウジングが破損するなどして、円滑な嵌合動作を実現できないおそれがある。
【0005】
本開示は上記のような事情に基づいて完成されたものであって、組み立て衝撃によってハウジングが破損することなく、円滑な嵌合動作を実現することを目的とする。
【課題を解決するための手段】
【0006】
本開示のコネクタのガイド構造は、一対のガイドピンが形成された第1ハウジングと、一対のガイド凹部が形成された第2ハウジングと、を備え、前記一対のガイドピンが前記一対のガイド凹部に受け入れられることで前記第1ハウジングと前記第2ハウジングとが正規の嵌合姿勢に案内されて嵌合するようになっており、前記一対のガイドピンは、いずれも嵌合方向から見て半割状をなし、前記一対のガイドピンは、前記嵌合方向にのびる中心軸と、前記中心軸に沿って前記嵌合方向にのびる割り面と、前記嵌合方向の後方に向かうにつれて前記中心軸から離れるように傾斜したガイド面と、をそれぞれ有し、前記一対のガイドピンは、一対の前記ガイド面が前記第1ハウジングよりも前記嵌合方向の前方に突出するとともに一対の前記割り面が内向きに対向するように配され、一対の前記ガイド凹部は、前記第2ハウジングよりも前記嵌合方向の前方に突出して配されている、コネクタのガイド構造である。
【発明の効果】
【0007】
本開示によれば、組み立て衝撃によってハウジングが破損することなく、コネクタの円滑な嵌合動作を実現できる。
【図面の簡単な説明】
【0008】
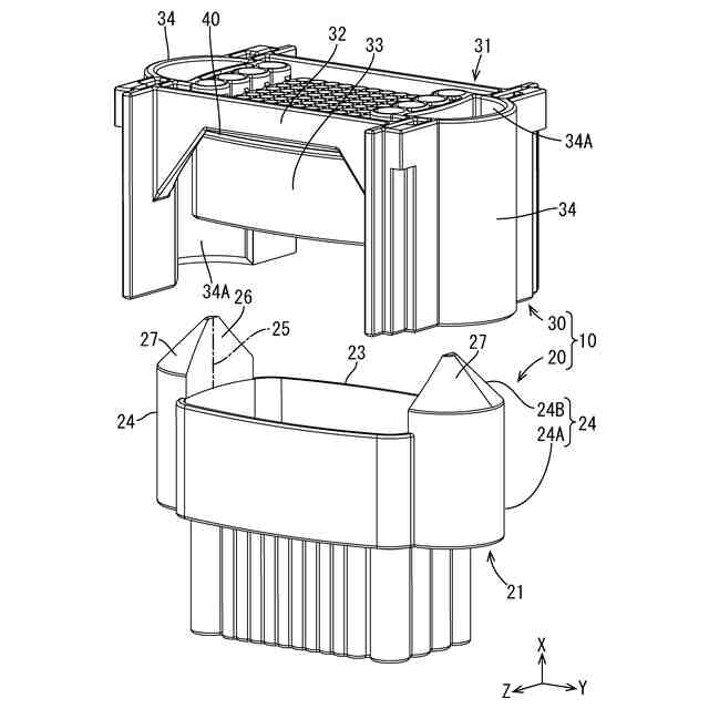
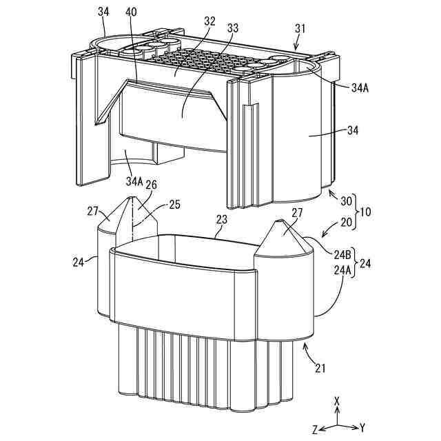
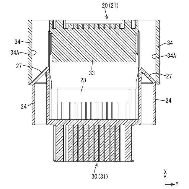
図1は、実施形態1における雄コネクタと雌コネクタが嵌合する前の状態を示した斜視図である。
図2は、雄コネクタと雌コネクタが嵌合した後の状態を示した斜視図である。
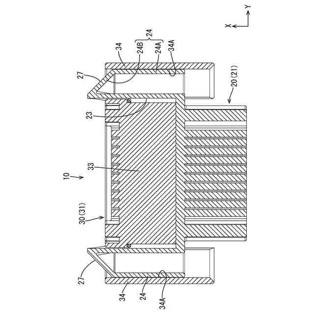
図3は、雄コネクタと雌コネクタが嵌合した後の状態を嵌合方向に切断した断面図である。
図4は、雄コネクタと雌コネクタが嵌合した後の状態を嵌合方向に直交する方向に切断した断面図である。
図5は、ガイドピンがガイド凹部に接触し始めた様子を示した断面図である。
図6は、ガイドピンがガイド凹部に誘い込まれる様子を示した断面図である。
図7は、ガイドピンがガイド凹部に誘い込まれて正規位置に至った様子を示した断面図である。
図8は、実施形態1の雄コネクタを嵌合方向の前方から見た正面図である。
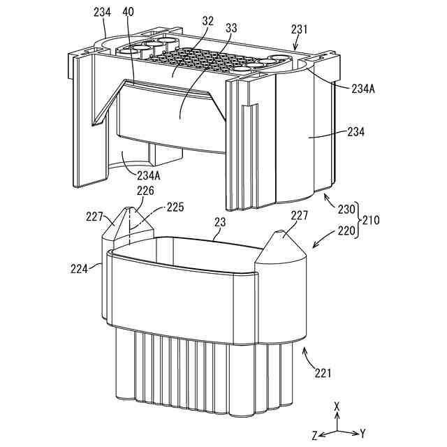
図9は、実施形態2における雄コネクタと雌コネクタが嵌合する前の状態を示した斜視図である。
図10は、実施形態2の雄コネクタを嵌合方向の前方から見た正面図である。
図11は、実施形態3における雄コネクタと雌コネクタが嵌合する前の状態を示した斜視図である。
図12は、実施形態3の雌コネクタを嵌合方向の前方から見た正面図である。
【発明を実施するための形態】
【0009】
[本開示の実施形態の説明]
最初に本開示の実施形態を列挙して説明する。
[1]本開示のコネクタのガイド構造は、一対のガイドピンが形成された第1ハウジングと、一対のガイド凹部が形成された第2ハウジングと、を備え、前記一対のガイドピンが前記一対のガイド凹部に受け入れられることで前記第1ハウジングと前記第2ハウジングとが正規の嵌合姿勢に案内されて嵌合するようになっており、前記一対のガイドピンは、いずれも嵌合方向から見て半割状をなし、前記一対のガイドピンは、前記嵌合方向にのびる中心軸と、前記中心軸に沿って前記嵌合方向にのびる割り面と、前記嵌合方向の後方に向かうにつれて前記中心軸から離れるように傾斜したガイド面と、をそれぞれ有し、前記一対のガイドピンは、一対の前記ガイド面が前記第1ハウジングよりも前記嵌合方向の前方に突出するとともに一対の前記割り面が内向きに対向するように配され、一対の前記ガイド凹部は、前記第2ハウジングよりも前記嵌合方向の前方に突出して配されている。
【0010】
ガイドピンが半割状をなしているため、ガイドピンが半割状でない場合に比べて、対をなすガイドピンが並ぶ方向において全体構造を小型化できる。半割状でないガイドピン(すなわちガイド面が全周にわたって形成されているガイドピン)の場合、実質的にガイド機能を発揮する部分はガイド面の一部(例えば半分)であり、ガイドピンを半割状にしても、ガイド機能が失われることはない。
(【0011】以降は省略されています)
この特許をJ-PlatPat(特許庁公式サイト)で参照する
関連特許
APB株式会社
蓄電セル
1か月前
東ソー株式会社
絶縁電線
1か月前
マクセル株式会社
電源装置
1か月前
株式会社東芝
端子台
1か月前
日新イオン機器株式会社
イオン源
1か月前
ローム株式会社
半導体装置
1か月前
株式会社GSユアサ
蓄電設備
1か月前
株式会社GSユアサ
蓄電装置
1か月前
株式会社GSユアサ
蓄電装置
9日前
株式会社GSユアサ
蓄電装置
1か月前
株式会社GSユアサ
蓄電装置
23日前
株式会社GSユアサ
蓄電設備
1か月前
三菱電機株式会社
回路遮断器
17日前
株式会社ホロン
冷陰極電子源
1か月前
富士電機株式会社
電磁接触器
9日前
大電株式会社
電線又はケーブル
1日前
トヨタ自動車株式会社
蓄電装置
1日前
トヨタ自動車株式会社
蓄電装置
1か月前
北道電設株式会社
配電具カバー
1か月前
日本特殊陶業株式会社
保持装置
1か月前
ホシデン株式会社
複合コネクタ
3日前
トヨタ自動車株式会社
バッテリ
1か月前
トヨタ自動車株式会社
冷却構造
1か月前
日新イオン機器株式会社
基板処理装置
1か月前
日本特殊陶業株式会社
保持装置
22日前
トヨタ自動車株式会社
電池パック
1か月前
トヨタ自動車株式会社
電池パック
1か月前
日亜化学工業株式会社
半導体レーザ素子
1か月前
株式会社レゾナック
冷却器
17日前
矢崎総業株式会社
コネクタ
9日前
ローム株式会社
半導体モジュール
10日前
日本無線株式会社
レーダアンテナ
24日前
住友電装株式会社
コネクタ
1か月前
ローム株式会社
半導体装置
1か月前
住友電装株式会社
コネクタ
9日前
株式会社トクヤマ
シリコンエッチング液
1か月前
続きを見る
他の特許を見る