TOP
|
特許
|
意匠
|
商標
特許ウォッチ
Twitter
他の特許を見る
10個以上の画像は省略されています。
公開番号
2025140537
公報種別
公開特許公報(A)
公開日
2025-09-29
出願番号
2024040001
出願日
2024-03-14
発明の名称
コネクタ
出願人
住友電装株式会社
代理人
個人
,
個人
主分類
H01R
13/73 20060101AFI20250919BHJP(基本的電気素子)
要約
【課題】絶縁の信頼性を向上できるコネクタを提供する。
【解決手段】コネクタ1は、端子2およびプレート4をモールド成型することにより、端子2、樹脂部3、およびプレート4を備える。プレート4は、コネクタ1がコネクタ取付相手の開口部に取付け固定された際に、その開口部において樹脂部3とコネクタ取付相手との間を止水するシール部材の面圧を確保するために設けられている。端子2とプレート4との間には、これらを絶縁するシート状の絶縁部32が設けられている。絶縁部32は、例えばテープや塗装によってプレート4に形成されている。
【選択図】図5
特許請求の範囲
【請求項1】
端子と、モールド成型によって前記端子と一体形成されるとともに、コネクタ取付相手に形成された開口部に前記端子が位置するように前記開口部に配置される樹脂部と、前記開口部において前記樹脂部と前記コネクタ取付相手との間を止水するシール部材の面圧を確保するために、前記モールド成型によって前記端子とともに前記樹脂部に一体形成されたプレートと、を備えたコネクタであって、
前記端子と前記プレートとの間には、これらを絶縁するシート状の絶縁部が設けられている、コネクタ。
続きを表示(約 580 文字)
【請求項2】
前記絶縁部は、前記プレートに形成されている、請求項1に記載のコネクタ。
【請求項3】
前記樹脂部は、前記開口部に対応する形状の環状部を有し、
前記端子は、前記環状部の内側に露出して配置され、
前記プレートは、前記コネクタ取付相手に固定された際に前記シール部材を押圧するプレート本体と、前記開口部に対応する形状で前記プレート本体に形成されたプレート孔を有し、
前記絶縁部は、前記プレート孔の周縁に沿って配置されている、請求項2に記載のコネクタ。
【請求項4】
前記樹脂部は、前記環状部の側面に、前記端子を収容する端子取付部を有し、
前記絶縁部は、前記端子取付部に収容された前記端子と前記プレートとの間に配置されている、請求項3に記載のコネクタ。
【請求項5】
前記端子は、複数設けられ、
前記絶縁部は、一部品で複数の前記端子に対向する形状を有する、請求項1に記載のコネクタ。
【請求項6】
前記絶縁部は、絶縁性のテープである、請求項1に記載のコネクタ。
【請求項7】
前記絶縁部は、絶縁塗装である、請求項1に記載のコネクタ。
【請求項8】
前記端子は、電線付き端子である、請求項1に記載のコネクタ。
発明の詳細な説明
【技術分野】
【0001】
本発明は、コネクタに関する。
続きを表示(約 1,500 文字)
【背景技術】
【0002】
従来、特許文献1に開示されるように、電線付き端子とプレートとを樹脂によってモールド成型したコネクタが周知である。電線付き端子とプレートとは、樹脂によって絶縁されている。
【先行技術文献】
【特許文献】
【0003】
特開2013-222876号公報
【発明の概要】
【発明が解決しようとする課題】
【0004】
ところで、樹脂に亀裂が入ってしまった場合に、樹脂とプレートとの界面から水等の流体が浸入すると、浸入した流体によって電線付き端子とプレートとがショートする可能性があった。
【0005】
本開示の目的は、絶縁の信頼性を向上できるコネクタを提供することにある。
【課題を解決するための手段】
【0006】
前記課題を解決するコネクタは、端子と、モールド成型によって前記端子と一体形成されるとともに、コネクタ取付相手に形成された開口部に前記端子が位置するように前記開口部に配置される樹脂部と、前記開口部において前記樹脂部と前記コネクタ取付相手との間を止水するシール部材の面圧を確保するために、前記モールド成型によって前記端子とともに前記樹脂部に一体形成されたプレートと、を備えた構成であって、前記端子と前記プレートとの間には、これらを絶縁するシート状の絶縁部が設けられている。
【発明の効果】
【0007】
本開示は、コネクタにおいて絶縁の信頼性を向上できる。
【図面の簡単な説明】
【0008】
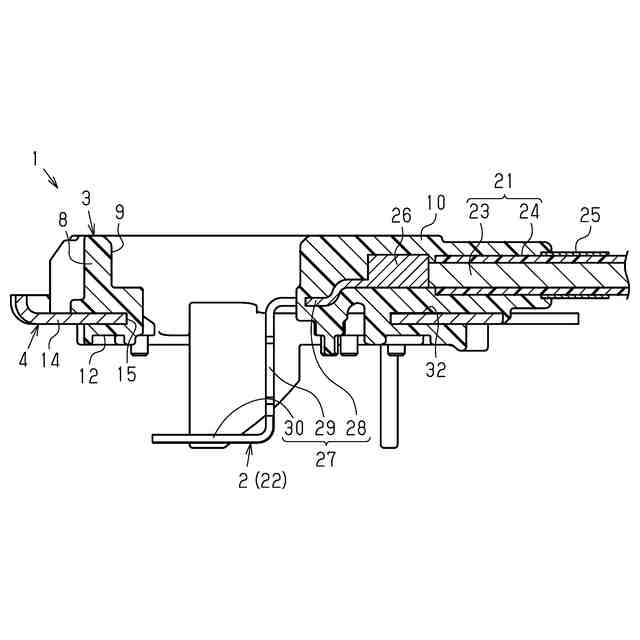
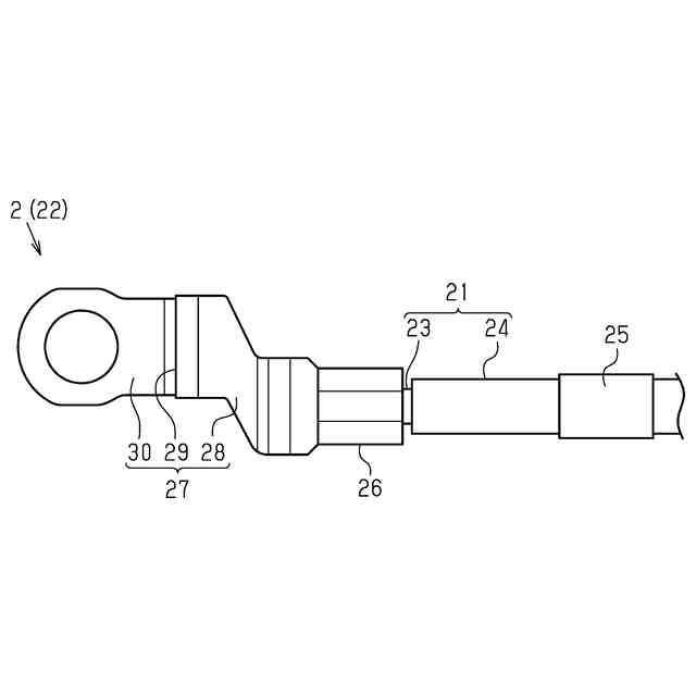
図1は、コネクタの斜視図である。
図2は、コネクタを裏面から見た斜視図である。
図3は、コネクタの平面図である。
図4は、絶縁部を有するプレートの斜視図である。
図5は、コネクタの分解斜視図である。
図6は、端子の平面図である。
図7は、絶縁部を有するプレートの平面図である。
図8は、図3に示すVIII-VIII線断面図である。
図9は、樹脂部にクラックが発生した際の作用図である。
【発明を実施するための形態】
【0009】
最初に本開示の実施態様を列記して説明する。
[1]本開示のコネクタは、端子と、モールド成型によって前記端子と一体形成されるとともに、コネクタ取付相手に形成された開口部に前記端子が位置するように前記開口部に配置される樹脂部と、前記開口部において前記樹脂部と前記コネクタ取付相手との間を止水するシール部材の面圧を確保するために、前記モールド成型によって前記端子とともに前記樹脂部に一体形成されたプレートと、を備えた構成であって、前記端子と前記プレートとの間には、これらを絶縁するシート状の絶縁部が設けられている。
【0010】
本構成によれば、端子とプレートとの間にシート状の絶縁部を設けたので、樹脂部に端子からプレートに至るクラックが形成されてしまった際に、樹脂部とプレートとの界面から水が浸入しても、絶縁部によって水がクラックに到達することが防止される。これにより、樹脂部とプレートとの界面からコネクタの内部に浸入した水がクラックを介して端子に到達してしまう状況が生じ難くなる。従って、絶縁部とプレートとの界面から浸入した水を原因とする端子とプレートとの短絡が生じ難い。よって、コネクタにおいて絶縁の信頼性を向上することが可能となる。
(【0011】以降は省略されています)
この特許をJ-PlatPat(特許庁公式サイト)で参照する
関連特許
住友電装株式会社
端子台
7日前
住友電装株式会社
端子台
22日前
住友電装株式会社
コネクタ
22日前
住友電装株式会社
コネクタ
18日前
住友電装株式会社
コネクタ
18日前
住友電装株式会社
コネクタ
22日前
住友電装株式会社
コネクタ
11日前
住友電装株式会社
コネクタ
22日前
住友電装株式会社
コネクタ
22日前
住友電装株式会社
コネクタ
今日
住友電装株式会社
コネクタ
22日前
住友電装株式会社
コネクタ
22日前
住友電装株式会社
コネクタ
25日前
住友電装株式会社
コネクタ
1か月前
住友電装株式会社
プロテクタ
12日前
住友電装株式会社
ワイヤハーネス
25日前
住友電装株式会社
コネクタアセンブリ
20日前
住友電装株式会社
ダミー栓およびコネクタ
20日前
住友電装株式会社
ブラケット付きコネクタ
14日前
住友電装株式会社
端子台、及び端子台の製造方法
13日前
住友電装株式会社
圧着端子、および端子付き電線
26日前
住友電装株式会社
電気接続箱および制御ユニット
13日前
住友電装株式会社
コネクタ及びコネクタアセンブリ
20日前
住友電装株式会社
ワイヤハーネス、及びグロメット
1か月前
住友電装株式会社
プロテクタ、及びワイヤハーネス
18日前
住友電装株式会社
絶縁構造体、及びワイヤハーネス
18日前
住友電装株式会社
電線固定部材、及びワイヤハーネス
1か月前
トヨタ自動車株式会社
車両の制御装置
19日前
株式会社オートネットワーク技術研究所
端子台
1か月前
株式会社オートネットワーク技術研究所
コネクタ
12日前
株式会社オートネットワーク技術研究所
コネクタ
14日前
株式会社オートネットワーク技術研究所
コネクタ
14日前
株式会社オートネットワーク技術研究所
コネクタ
14日前
株式会社オートネットワーク技術研究所
基板装置
22日前
株式会社オートネットワーク技術研究所
基板装置
22日前
株式会社オートネットワーク技術研究所
車載装置
12日前
続きを見る
他の特許を見る