TOP
|
特許
|
意匠
|
商標
特許ウォッチ
Twitter
他の特許を見る
10個以上の画像は省略されています。
公開番号
2025140471
公報種別
公開特許公報(A)
公開日
2025-09-29
出願番号
2024039900
出願日
2024-03-14
発明の名称
コネクタ
出願人
住友電装株式会社
代理人
弁理士法人グランダム特許事務所
主分類
H01R
13/64 20060101AFI20250919BHJP(基本的電気素子)
要約
【課題】雄端子との干渉を回避するための距離を大きく確保でき、こじり嵌合を防止する信頼性を高めることが可能なコネクタを提供する。
【解決手段】取付部材13がハウジング11の前面を覆う前壁部38を有している。前壁部38は、ハウジング11への取付部材13の移動方向の先方を向く端面42を有し、ハウジング11は、移動方向の先方を向くベース面17と、ベース面17から突出する突部47と、を有している。突部47は、ベース面17の前端よりも前方に突出する先端部51を有している。突部47の先端部51は、前壁部38の端面42と対向する対向面52(53)を有している。先端部51の対向面は、前方へ行くに従って前壁部38の端面42から離れる方向に傾斜した第1傾斜面52として構成される。
【選択図】図12
特許請求の範囲
【請求項1】
互いに嵌合可能な雄コネクタおよび雌コネクタを備え、
前記雄コネクタは、筒状のフード部と、前記フード部の内面に凹む嵌合溝と、を有し、
前記フード部内には、雄端子が突出して配置され、
前記雌コネクタは、フード部内に嵌合されるハウジングと、前記ハウジングに収容される端子と、前記ハウジングに対して前後方向と直交する移動方向に移動して装着される取付部材と、を有し、
前記取付部材は、前記ハウジングの前面を覆う前壁部を有し、
前記前壁部は、前記移動方向の先方を向く端面を有し、
前記ハウジングは、前記移動方向の先方を向くベース面と、前記ベース面から突出して前記嵌合溝内に嵌合可能な突部と、を有し、
前記突部は、前記ベース面の前端よりも前方に突出する先端部を有し、
前記突部の前記先端部は、前記前壁部の前記端面と対向する対向面を有し、
前記先端部の前記対向面は、前方へ行くに従って前記前壁部の前記端面から離れる方向に傾斜している、コネクタ。
続きを表示(約 470 文字)
【請求項2】
前記突部は、前記前後方向に延びる一対の側面を有し、前記ベース面から突出するに従って一対の前記側面間に規定される幅寸法を大きくする形状になっており、
前記嵌合溝は、前記前後方向および前記移動方向と直交する幅方向で対向する一対の溝側面を有し、前記フード部の内面から深くなるに従って一対の前記溝側面間に規定される溝幅寸法を大きくする形状になっている、請求項1に記載のコネクタ。
【請求項3】
前記ハウジングの前記ベース面には、複数の前記突部が互いの前記側面を向き合わせた状態で前記幅方向に並んで配置され、
前記突部の一対の前記側面のうち、一方の前記側面は、前記移動方向に沿って配置され、他方の前記側面は、前記移動方向に対して前記幅寸法を大きくする方向に傾斜している、請求項2に記載のコネクタ。
【請求項4】
前記先端部の前記対向面は、前記幅方向に対して一方の前記側面側から他方の前記側面側へ向けて後退する方向にも傾斜している、請求項2または請求項3に記載のコネクタ。
発明の詳細な説明
【技術分野】
【0001】
本開示は、コネクタに関する。
続きを表示(約 3,400 文字)
【背景技術】
【0002】
特許文献1は開示されたコネクタは、互いに嵌合可能な雌コネクタハウジングおよび雄コネクタハウジングを備えている。雄コネクタハウジングの側面にはリブ(以下、「突部」と称する)が突出して形成されている。雌コネクタハウジングの内面には、リブ溝(以下、「嵌合溝」と称する)が凹み形成されている。雄コネクタハウジングが雌コネクタハウジングに対して正規に嵌合されるとき、突部が嵌合溝に嵌まる。雄コネクタハウジングが雌コネクタハウジングに対して正規から傾いたこじり方向に嵌合されようとするとき、突部が嵌合溝に嵌まらず、雌コネクタハウジングの前側の開口端部に突き当たり、雄コネクタハウジングのこじり方向への嵌合が阻止される。上記した突部や嵌合溝に相当するものを備えたコネクタは、特許文献2-8にも開示されている。なお、「雄コネクタ」、「雌コネクタ」の概念(表現)は、各文献で統一されていない。本明細書における「雄コネクタ」、「雌コネクタ」の概念は、特許文献1とは逆である。
【先行技術文献】
【特許文献】
【0003】
特開2001-230021号公報
特開平10-241790号公報
特開2004-103449号公報
特開平6-231824号公報
国際公開第2014/181415号
特開平9-129311号公報
特開2004-206895号公報
特開2004-349122号公報
【発明の概要】
【発明が解決しようとする課題】
【0004】
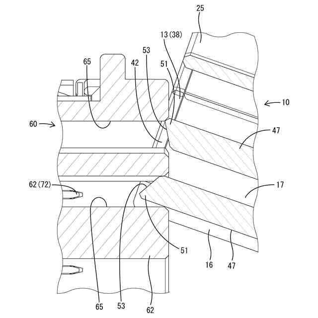
ところで、雄コネクタハウジングには、端子(特許文献1では「雌型端子」と称される)の抜け出しを阻止すること等を目的として、リテーナ等の取付部材が装着されることがある。取付部材には、雄コネクタハウジングの前面を覆う前壁部を有し、雄コネクタハウジングに対し、前後方向と直交する方向である上方に移動して装着されるものが含まれる。この種の取付部材が雄コネクタハウジングに装着される際に、上記した突部の先端部が前壁部の上端面に接触し得る位置に配置されると、雄コネクタハウジングに対する取付部材の装着位置を適正に管理することが困難になる。このため、突部の先端部は、通常、前壁部の上端面と接触しないように、雄コネクタハウジングにおいて前壁部の上端面よりも後方に控えて配置されることになる。ここで、雄コネクタハウジングが雌コネクタハウジングに対して正規から傾いたこじり方向に嵌合されようとするとき、雄コネクタハウジングの前端部を含む前壁部が雌コネクタハウジング内に大きく入り込んでしまう。そうすると、雌コネクタハウジング内に突出する雄型端子と前壁部等との間に相互の干渉を回避することを考慮した距離を大きくとることができず、こじり嵌合を防止する信頼性が低下するという問題がある。
【0005】
そこで、本開示は、雄端子との干渉を回避するための距離を大きく確保でき、こじり嵌合を防止する信頼性を高めることが可能なコネクタを提供することを目的とする。
【課題を解決するための手段】
【0006】
本開示のコネクタは、互いに嵌合可能な雄コネクタおよび雌コネクタを備え、前記雄コネクタは、筒状のフード部と、前記フード部の内面に凹む嵌合溝と、を有し、前記フード部内には、雄端子が突出して配置され、前記雌コネクタは、フード部内に嵌合されるハウジングと、前記ハウジングに収容される端子と、前記ハウジングに対して前後方向と直交する移動方向に移動して装着される取付部材と、を有し、前記取付部材は、前記ハウジングの前面を覆う前壁部を有し、前記前壁部は、前記移動方向の先方を向く端面を有し、前記ハウジングは、前記移動方向の先方を向くベース面と、前記ベース面から突出して前記嵌合溝内に嵌合可能な突部と、を有し、前記突部は、前記ベース面の前端よりも前方に突出する先端部を有し、前記突部の前記先端部は、前記前壁部の前記端面と対向する対向面を有し、前記先端部の前記対向面は、前方へ行くに従って前記前壁部の前記端面から離れる方向に傾斜している。
【発明の効果】
【0007】
本開示によれば、雄端子との干渉を回避するための距離を大きく確保でき、こじり嵌合を防止する信頼性を高めることが可能なコネクタを提供する。
【図面の簡単な説明】
【0008】
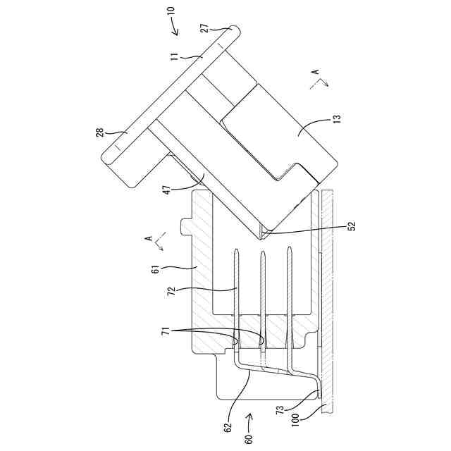
図1は、実施形態1のコネクタにおいて、雄コネクタの正面図である。
図2は、実施形態1のコネクタにおいて、雌コネクタの斜視図である。
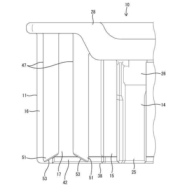
図3は、実施形態1のコネクタにおいて、雌コネクタの側断面図である。
図4は、実施形態1のコネクタにおいて、ハウジングの斜視図である。
図5は、実施形態1のコネクタにおいて、取付部材の斜視図である。
図6は、実施形態1のコネクタにおいて、突部の先端部を含む部分を拡大した斜視図である。
図7は、実施形態1のコネクタにおいて、突部の先端部を含む部分を拡大した正面図である。
図8は、実施形態1のコネクタにおいて、ハウジングの左側半分を拡大した平面図である。
図9は、実施形態1のコネクタにおいて、雌コネクタが雄コネクタに対して前下がりに傾いたときに、雌コネクタおよび雄コネクタの嵌合が停止される状態を、雄コネクタを破断して示す側面図である。
図10は、実施形態1のコネクタにおいて、図9のA-A線断面における上側を拡大した断面図である。
図11は、実施形態1のコネクタにおいて、雌コネクタの片側の端部が雄コネクタのフード部内に先行して入り込むように、雌コネクタが左右方向に対して傾いたときに、雌コネクタおよび雄コネクタの嵌合が停止される状態を示す斜視図である。
図12は、実施形態1のコネクタにおいて、図11のA-A線断面図である。
図13は、実施形態1のコネクタにおいて、雌コネクタが左右方向に対して少しだけ傾いて雄コネクタに嵌合されようとする状態を拡大して示す平断面図である。
【発明を実施するための形態】
【0009】
[本開示の実施形態の説明]
最初に本開示の実施態様を列記して説明する。
本開示のコネクタは、
(1)互いに嵌合可能な雄コネクタおよび雌コネクタを備え、前記雄コネクタは、筒状のフード部と、前記フード部の内面に凹む嵌合溝と、を有し、前記フード部内には、雄端子が突出して配置され、前記雌コネクタは、フード部内に嵌合されるハウジングと、前記ハウジングに収容される端子と、前記ハウジングに対して前後方向と直交する移動方向に移動して装着される取付部材と、を有し、前記取付部材は、前記ハウジングの前面を覆う前壁部を有し、前記前壁部は、前記移動方向の先方を向く端面を有し、前記ハウジングは、前記移動方向の先方を向くベース面と、前記ベース面から突出して前記嵌合溝内に嵌合可能な突部と、を有し、前記突部は、前記ベース面の前端よりも前方に突出する先端部を有し、前記突部の前記先端部は、前記前壁部の前記端面と対向する対向面を有し、前記先端部の前記対向面は、前方へ行くに従って前記前壁部の前記端面から離れる方向に傾斜している。
【0010】
雌コネクタが雄コネクタに対して正規から傾いてこじり方向に嵌合されようとすると、突部の先端部がフード部の開口端部等と干渉し、雌コネクタのこじり方向への嵌合が阻止される。ここで、突部の先端部がベース面の前端よりも前方に突出して前壁部の端面と対向する位置に配置されるので、雄コネクタのフード部内への雌コネクタ(前壁部を含む)の入り込みを少なくできる。その結果、雄端子と雌コネクタとの干渉を回避するための距離を大きく確保することができる。特に、先端部の対向面が前方へ行くに従って前壁部の端面から離れる方向に傾斜しているので、前壁部と先端部との接触を回避可能な形状に容易に設定できる。
(【0011】以降は省略されています)
この特許をJ-PlatPat(特許庁公式サイト)で参照する
関連特許
住友電装株式会社
端子台
15日前
住友電装株式会社
コネクタ
19日前
住友電装株式会社
コネクタ
7日前
住友電装株式会社
コネクタ
8日前
住友電装株式会社
プロテクタ
20日前
住友電装株式会社
電気接続箱および制御ユニット
21日前
住友電装株式会社
端子台、及び端子台の製造方法
21日前
住友電装株式会社
プロテクタとホルダとの一体化ユニット
5日前
住友電装株式会社
プロテクタ及びプロテクタ付ワイヤハーネス
5日前
株式会社オートネットワーク技術研究所
雌端子
今日
株式会社オートネットワーク技術研究所
コネクタ
22日前
株式会社オートネットワーク技術研究所
車載装置
20日前
株式会社オートネットワーク技術研究所
コネクタ
20日前
株式会社オートネットワーク技術研究所
コネクタ
22日前
株式会社オートネットワーク技術研究所
コネクタ
1日前
株式会社オートネットワーク技術研究所
コネクタ
1日前
株式会社オートネットワーク技術研究所
接続構造体
20日前
株式会社オートネットワーク技術研究所
コネクタ装置
20日前
株式会社オートネットワーク技術研究所
コネクタ装置
22日前
株式会社オートネットワーク技術研究所
コネクタ装置
22日前
株式会社オートネットワーク技術研究所
コネクタ装置
20日前
株式会社オートネットワーク技術研究所
車載用制御装置
13日前
住友電装株式会社
電気接続箱
12日前
株式会社オートネットワーク技術研究所
コネクタのガイド構造
20日前
株式会社オートネットワーク技術研究所
端子金具、及びコネクタ
今日
株式会社オートネットワーク技術研究所
端子金具、及びコネクタ
今日
住友電装株式会社
配線部材の配索構造
1日前
株式会社オートネットワーク技術研究所
機器モジュールの取付構造
21日前
株式会社オートネットワーク技術研究所
端子材料および電気接続端子
15日前
株式会社オートネットワーク技術研究所
端子材料および電気接続端子
15日前
株式会社オートネットワーク技術研究所
端子材料および電気接続端子
19日前
株式会社オートネットワーク技術研究所
筐体、および車両用充電装置
19日前
株式会社オートネットワーク技術研究所
ワイヤハーネス、及び接続構造体
20日前
株式会社オートネットワーク技術研究所
端子金具、実装基板及び基板装置
14日前
株式会社オートネットワーク技術研究所
金属部材および金属部材の製造方法
19日前
株式会社オートネットワーク技術研究所
車載装置、情報処理方法及びプログラム
21日前
続きを見る
他の特許を見る