TOP
|
特許
|
意匠
|
商標
特許ウォッチ
Twitter
他の特許を見る
10個以上の画像は省略されています。
公開番号
2025140477
公報種別
公開特許公報(A)
公開日
2025-09-29
出願番号
2024039906
出願日
2024-03-14
発明の名称
コネクタ
出願人
住友電装株式会社
代理人
弁理士法人グランダム特許事務所
主分類
H01R
13/42 20060101AFI20250919BHJP(基本的電気素子)
要約
【課題】電線の配索方向の自由度を確保でき、キャビティの内部への異物の侵入および電線の振動を抑制することが可能なコネクタを提供する。
【解決手段】リテーナ60は、ハウジングに対して仮係止位置と本係止位置との間を移動可能に配置され、仮係止位置から本係止位置へと前後方向と交差する第1方向に移動する。そして、リテーナ60は、本係止位置で端子金具40に対して後方から係止可能に対向する係止部68と、本係止位置で電線200が第1方向とは反対の第2方向から接触可能に対向するが、第1方向への電線200の動きを拘束しない隙間詰め部69と、を有している。隙間詰め部69は、第1方向を向き、且つ前後方向に直線状に延びる電線沿わせ面71を有している。
【選択図】図4
特許請求の範囲
【請求項1】
ハウジングと、
前記ハウジングに収容される端子金具と、
前記ハウジングに対して仮係止位置と本係止位置との間を移動可能に配置されるリテーナと、を備え、
前記ハウジングは、前後方向に延びるキャビティを有し、
前記端子金具は、電線の端末部に接続され、且つ前記キャビティに配置され、
前記リテーナは、
前記仮係止位置から前記本係止位置へと前記前後方向と交差する第1方向に移動するものであって、
前記本係止位置で前記端子金具に対して後方から係止可能に対向する係止部と、
前記本係止位置で前記電線が前記第1方向とは反対の第2方向から接触可能に対向するが、前記第1方向への前記電線の動きを拘束しない隙間詰め部と、を有し、
前記隙間詰め部は、前記第1方向を向き、且つ前記前後方向に直線状に延びる電線沿わせ面を有している、コネクタ。
続きを表示(約 690 文字)
【請求項2】
前記電線沿わせ面は、前記電線の外周面に対して周方向に沿って対向する円弧形状の面である、請求項1に記載のコネクタ。
【請求項3】
前記ハウジングは、前記第2方向を向く底面に開口するリテーナ装着孔を有し、
前記リテーナ装着孔は、前記ハウジングの前記底面と後面とにわたって開口し、
前記リテーナは、前記リテーナ装着孔に配置され、
前記隙間詰め部は、前記ハウジングの前記後面に露出して配置される、請求項1に記載のコネクタ。
【請求項4】
前記キャビティは、前記ハウジングにおいて、前記前後方向および前記第1方向と交差する幅方向に複数並んで配置され、
前記ハウジングは、前記幅方向で隣接する前記キャビティの間に配置される隔壁を有し、
前記リテーナは、前記隔壁に対して前記第1方向に沿って接触し、且つ前記幅方向で前記隔壁と並んで配置される並設壁を有し、
前記隔壁と前記並設壁とで構成される二重壁は、前記幅方向で隣接する前記キャビティの間を仕切るように配置される、請求項1から請求項3のいずれか1項に記載のコネクタ。
【請求項5】
前記二重壁は、前記ハウジングおよび前記リテーナにおいて、前記前後方向に間隔をあけて配置され、
前記ハウジングと前記リテーナのうち、一方は、前後各々の前記二重壁の間に、前記二重壁の前記幅方向の厚みと対応する厚みをもった凸部を有し、他方は、前後各々の前記二重壁の間に、前記凸部が嵌合する凹部を有している、請求項4に記載のコネクタ。
発明の詳細な説明
【技術分野】
【0001】
本開示は、コネクタに関する。
続きを表示(約 2,700 文字)
【背景技術】
【0002】
特許文献1に開示されたコネクタは、コネクタハウジング(以下、「ハウジング」と称する)、カバー部材、リテーナおよび端子金具を備えている。ハウジングは、前後方向に延びるキャビティを有している。端子金具は、電線の端末部に接続され、ハウジングのキャビティに後方から挿入される。リテーナは、ハウジングのリテーナ装着部に挿入されて装着される。端子金具は、リテーナに係止されて、キャビティから後方への抜け出しが防止される。カバー部材は、ハウジングに後方から取り付けられる。カバー部材は、電線挿通部を有している。端子金具に接続された電線は、電線挿通部に挿通され、カバー部材から上方に引き出される(図12を参照)。特許文献2-5は、ハウジングの後端部に電線を屈曲状態または圧入状態に保持する部材を開示している。
【先行技術文献】
【特許文献】
【0003】
特開2017-147103号公報
特開2017-142901号公報
特開2011-222157号公報
特開2002-352892号公報
特開2000-231961号公報
【発明の概要】
【発明が解決しようとする課題】
【0004】
ハウジングのキャビティの後端部には、端子金具の通過後、電線が挿入される。ここで、端子金具の最大外径は、通常、電線径よりも大きくなっている。このため、電線は、キャビティの後端部において、キャビティの内周面との間に隙間を形成する。しかし、このような隙間があると、隙間を通してキャビティの内部に異物が侵入したり、隙間の範囲内で電線が振動する懸念がある。よって、上記のような隙間を、可能な限り、無くす構造が求められている。その点、特許文献1-5に開示された技術は、電線を屈曲等して保持する部材が電線に強固に接触しているため、当該部材と電線との間の隙間が詰められ、キャビティの内部への異物の侵入や電線の振動を抑制することが可能である。しかし、電線が当該部材とハウジングとの間に屈曲状態または圧入状態に保持されるので、電線の動きが拘束されるという事情がある。このため、ハウジングの後方から引き出された電線の配索方向が多少なりとも制限されるという問題がある。
【0005】
そこで、本開示は、電線の配索方向の自由度を確保でき、キャビティの内部への異物の侵入および電線の振動を抑制することが可能なコネクタを提供することを目的とする。
【課題を解決するための手段】
【0006】
本開示のコネクタは、ハウジングと、前記ハウジングに収容される端子金具と、前記ハウジングに対して仮係止位置と本係止位置との間を移動可能に配置されるリテーナと、を備え、前記ハウジングは、前後方向に延びるキャビティを有し、前記端子金具は、電線の端末部に接続され、且つ前記キャビティに配置され、前記リテーナは、前記仮係止位置から前記本係止位置へと前記前後方向と交差する第1方向に移動するものであって、前記本係止位置で前記端子金具に対して後方から係止可能に対向する係止部と、前記本係止位置で前記電線が前記第1方向とは反対の第2方向から接触可能に対向するが、前記第1方向への前記電線の動きを拘束しない隙間詰め部と、を有し、前記隙間詰め部は、前記第1方向を向き、且つ前記前後方向に直線状に延びる電線沿わせ面を有している、コネクタである。
【発明の効果】
【0007】
本開示によれば、電線の配索方向の自由度を確保でき、キャビティの内部への異物の侵入および電線の振動を抑制することが可能なコネクタを提供することができる。
【図面の簡単な説明】
【0008】
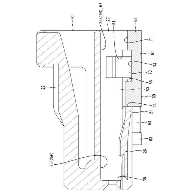
図1は、実施形態1のコネクタが相手コネクタに嵌合した状態を示す側断面図である。
図2は、実施形態1のコネクタにおいて、端子金具がキャビティに挿入される前、リテーナがハウジングに対して仮係止位置に留め置かれた状態を示す側断面図である。
図3は、実施形態1のコネクタを斜め下後方から見た斜視図である。
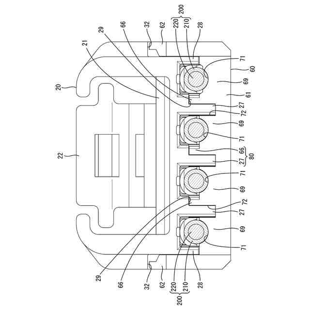
図4は、実施形態1のコネクタを電線の横断面を含んで示す背面図である。
図5は、実施形態1のコネクタにおいて、端子金具のワイヤバレルと対応する位置で切断した拡大横断面図である。
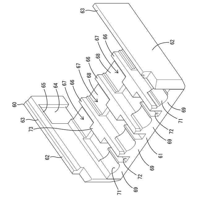
図6は、実施形態1のコネクタにおけるハウジングを斜め下後方から見た斜視図である。
図7は、実施形態1のコネクタにおけるハウジングの底面図である。
図8は、実施形態1のコネクタにおける端子金具を斜め下後方から見た斜視図である。
図9は、実施形態1のコネクタにおけるリテーナを斜め上右側方から見た斜視図である。
図10は、実施形態1のコネクタにおけるリテーナを斜め上左側方から見た斜視図である。
【発明を実施するための形態】
【0009】
[本開示の実施形態の説明]
最初に本開示の実施態様を列記して説明する。
本開示のコネクタは、
(1)ハウジングと、前記ハウジングに収容される端子金具と、前記ハウジングに対して仮係止位置と本係止位置との間を移動可能に配置されるリテーナと、を備え、前記ハウジングは、前後方向に延びるキャビティを有し、前記端子金具は、電線の端末部に接続され、且つ前記キャビティに配置され、前記リテーナは、前記仮係止位置から前記本係止位置へと前記前後方向と交差する第1方向に移動するものであって、前記本係止位置で前記端子金具に対して後方から係止可能に対向する係止部と、前記本係止位置で前記電線が前記第1方向とは反対の第2方向から接触可能に対向するが、前記第1方向への前記電線の動きを拘束しない隙間詰め部と、を有し、前記隙間詰め部は、前記第1方向を向き、且つ前記前後方向に直線状に延びる電線沿わせ面を有している。
【0010】
リテーナがハウジングに対して本係止位置に配置された状態では、隙間詰め部が電線に対して第1方向とは反対の第2方向の側から接触可能に対向するので、電線と隙間詰め部との間の隙間が詰められ、隙間を通してキャビティの内部に異物が侵入したり、隙間の範囲内で電線が振動する事態を防止することができる。特に、上記(1)の構成によれば、第1方向への電線の動きが隙間詰め部によって拘束されず、電線が電線沿わせ面によって強制的に屈曲されないので、電線の配索方向の自由度を確保することができる。
(【0011】以降は省略されています)
この特許をJ-PlatPat(特許庁公式サイト)で参照する
関連特許
住友電装株式会社
コネクタ
17日前
住友電装株式会社
係止装置
2日前
住友電装株式会社
コネクタ
1か月前
住友電装株式会社
コネクタ
1か月前
住友電装株式会社
コネクタ
1か月前
住友電装株式会社
シールド端子
1か月前
住友電装株式会社
シールドコネクタ
1か月前
住友電装株式会社
コネクタ及びコネクタアセンブリ
1か月前
住友電装株式会社
プロテクタ、及びワイヤハーネス
2日前
住友電装株式会社
外導体端子及びシールドコネクタ
1か月前
住友電装株式会社
プロテクタとホルダとの一体化ユニット
1か月前
住友電装株式会社
プロテクタ及びプロテクタ付ワイヤハーネス
1か月前
株式会社オートネットワーク技術研究所
電装品
1か月前
株式会社オートネットワーク技術研究所
電装品
1か月前
株式会社オートネットワーク技術研究所
雌端子
1か月前
株式会社オートネットワーク技術研究所
端子金具
9日前
株式会社オートネットワーク技術研究所
コネクタ
2日前
株式会社オートネットワーク技術研究所
コネクタ
1か月前
株式会社オートネットワーク技術研究所
コネクタ
17日前
株式会社オートネットワーク技術研究所
固定部材
1か月前
株式会社オートネットワーク技術研究所
端子金具
9日前
株式会社オートネットワーク技術研究所
圧接端子
2日前
株式会社オートネットワーク技術研究所
コネクタ
2日前
株式会社オートネットワーク技術研究所
端子金具
9日前
株式会社オートネットワーク技術研究所
コネクタ
1か月前
株式会社オートネットワーク技術研究所
端子金具
9日前
株式会社オートネットワーク技術研究所
コネクタ
9日前
株式会社オートネットワーク技術研究所
電気接続箱
11日前
株式会社オートネットワーク技術研究所
基板用コネクタ
17日前
住友電装株式会社
接続構造体、リアクトル装置および接続構造体の製造方法
1か月前
住友電装株式会社
電気接続箱
1か月前
株式会社オートネットワーク技術研究所
電子部品モジュール
18日前
住友電装株式会社
バスバユニット
1か月前
住友電装株式会社
ワイヤハーネス
9日前
住友電装株式会社
バスバユニット
19日前
株式会社オートネットワーク技術研究所
端子金具、及びコネクタ
1か月前
続きを見る
他の特許を見る