TOP
|
特許
|
意匠
|
商標
特許ウォッチ
Twitter
他の特許を見る
公開番号
2025136476
公報種別
公開特許公報(A)
公開日
2025-09-19
出願番号
2024035083
出願日
2024-03-07
発明の名称
電線固定部材、及びワイヤハーネス
出願人
住友電装株式会社
代理人
個人
,
個人
主分類
H01B
7/40 20060101AFI20250911BHJP(基本的電気素子)
要約
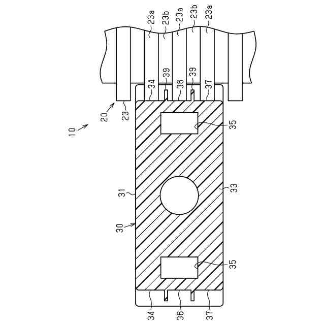
【課題】汎用性を向上可能とした電線固定部材を提供すること。
【解決手段】電線固定部材30は、床下パネルに固定可能な固定部33を有する固定部材31と、固定部材31とは別部品である結束バンド32とを備える。固定部材31は、電線部材20の外周面の一部と接触可能な接触部34と、結束バンド32によって電線部材20を接触部34に対して結束可能とすべく結束バンド32を挿通可能な挿通孔35とを有する。
【選択図】図2
特許請求の範囲
【請求項1】
固定対象に固定可能な固定部を有する固定部材と、
前記固定部材とは別部品である結束バンドと、を備え、
前記固定部材は、電線部材の外周面の一部と接触可能な接触部と、前記結束バンドによって前記電線部材を前記接触部に対して結束可能とすべく前記結束バンドを挿通可能な挿通孔と、を有する、
電線固定部材。
続きを表示(約 540 文字)
【請求項2】
前記電線部材は、外周が円形であり、
前記接触部は、前記電線部材の外周面と面接触可能な円弧面を有する、
請求項1に記載の電線固定部材。
【請求項3】
前記円弧面は、前記電線部材の外周の1/4以上の範囲と接触可能に形成されている、
請求項2に記載の電線固定部材。
【請求項4】
前記円弧面における前記電線部材の延在方向に沿った中間部には、前記挿通孔と連通する開口部が設けられている、
請求項2に記載の電線固定部材。
【請求項5】
前記接触部及び前記挿通孔は、前記固定部を中心として対称に一対設けられている、
請求項1に記載の電線固定部材。
【請求項6】
前記電線部材は、延在方向に沿って大径部と小径部とが交互に連なって設けられたコルゲートチューブを有し、
前記固定部材は、前記大径部同士の間に入り込むことで前記コルゲートチューブの延在方向に沿った移動を規制する規制突起を有する、
請求項1に記載の電線固定部材。
【請求項7】
請求項1に記載の電線固定部材と、
前記電線部材と、を備える、
ワイヤハーネス。
発明の詳細な説明
【技術分野】
【0001】
本開示は、電線固定部材、及びワイヤハーネスに関するものである。
続きを表示(約 1,500 文字)
【背景技術】
【0002】
従来、ワイヤハーネスとしては、電線部材を保持しつつ車体に固定される電線固定部材を備えたものがある。そして、このような電線固定部材としては、車両に固定可能な固定部と、該固定部に一体成形されつつ電線部材を結束可能なバンド部とを有するものがある(例えば、特許文献1参照)。
【先行技術文献】
【特許文献】
【0003】
特開平9-196236号公報
【発明の概要】
【発明が解決しようとする課題】
【0004】
ところで、上記のような電線固定部材は、電線固定部材が固定される部位の周辺温度等の環境や、固定する電線部材の重量等の種類に応じてバンド部に要求される材料や厚さや幅等が異なることになる。よって、環境や固定する電線部材の種類に応じて、電線固定部材全体を設計及び製造する必要があった。電線固定部材全体を設計及び製造することは、例えば、コストの増大を生じさせるため、電線固定部材の汎用性の向上が求められている。
【0005】
本開示の目的は、汎用性を向上可能とした電線固定部材、及びワイヤハーネスを提供することにある。
【課題を解決するための手段】
【0006】
本開示の電線固定部材は、固定対象に固定可能な固定部を有する固定部材と、前記固定部材とは別部品である結束バンドと、を備え、前記固定部材は、電線部材の外周面の一部と接触可能な接触部と、前記結束バンドによって前記電線部材を前記接触部に対して結束可能とすべく前記結束バンドを挿通可能な挿通孔と、を有する。
【発明の効果】
【0007】
本開示の電線固定部材によれば、汎用性が向上する。
【図面の簡単な説明】
【0008】
図1は、一実施形態におけるワイヤハーネスの配索経路を示す概略構成図である。
図2は、一実施形態におけるワイヤハーネスの一部分解斜視図である。
図3は、一実施形態におけるワイヤハーネスの断面図である。
図4は、一実施形態における固定部材の斜視図である。
図5は、一実施形態におけるワイヤハーネスの一部断面図である。
【発明を実施するための形態】
【0009】
[本開示の実施形態の説明]
最初に本開示の実施態様を列記して説明する。
本開示の電線固定部材は、
[1]固定対象に固定可能な固定部を有する固定部材と、前記固定部材とは別部品である結束バンドと、を備え、前記固定部材は、電線部材の外周面の一部と接触可能な接触部と、前記結束バンドによって前記電線部材を前記接触部に対して結束可能とすべく前記結束バンドを挿通可能な挿通孔と、を有する。
【0010】
同構成によれば、固定部材は、電線部材の外周面の一部と接触可能な接触部と、結束バンドによって電線部材を接触部に対して結束可能とすべく結束バンドを挿通可能な挿通孔とを有するため、結束バンドによって電線部材を容易に結束することができる。そして、結束バンドは、固定部材とは別部品であるため、例えば、固定部材を共通としながら、環境や固定する電線部材の種類に応じて必要な結束バンドを選定することができる。すなわち、環境や固定する電線部材の種類に応じて、電線部材を安定して固定すべく、結束バンドの材料や厚さや幅を変更することができる。よって、固定部材を汎用品とすることができ、電線固定部材全体を設計及び製造する必要がなくなる。
(【0011】以降は省略されています)
この特許をJ-PlatPat(特許庁公式サイト)で参照する
関連特許
住友電装株式会社
端子台
1か月前
住友電装株式会社
コネクタ
26日前
住友電装株式会社
コネクタ
18日前
住友電装株式会社
コネクタ
1か月前
住友電装株式会社
コネクタ
27日前
住友電装株式会社
シールド端子
12日前
住友電装株式会社
シールドコネクタ
18日前
住友電装株式会社
コネクタ及びコネクタアセンブリ
10日前
住友電装株式会社
外導体端子及びシールドコネクタ
18日前
住友電装株式会社
プロテクタとホルダとの一体化ユニット
24日前
住友電装株式会社
プロテクタ及びプロテクタ付ワイヤハーネス
24日前
株式会社オートネットワーク技術研究所
電装品
10日前
株式会社オートネットワーク技術研究所
雌端子
19日前
株式会社オートネットワーク技術研究所
電装品
10日前
株式会社オートネットワーク技術研究所
コネクタ
20日前
株式会社オートネットワーク技術研究所
固定部材
11日前
株式会社オートネットワーク技術研究所
コネクタ
20日前
株式会社オートネットワーク技術研究所
接続構造体
1か月前
株式会社オートネットワーク技術研究所
コネクタ装置
1か月前
株式会社オートネットワーク技術研究所
コネクタ装置
1か月前
住友電装株式会社
接続構造体、リアクトル装置および接続構造体の製造方法
10日前
株式会社オートネットワーク技術研究所
車載用制御装置
1か月前
住友電装株式会社
電気接続箱
1か月前
住友電装株式会社
バスバユニット
18日前
株式会社オートネットワーク技術研究所
端子金具、及びコネクタ
19日前
株式会社オートネットワーク技術研究所
端子金具、及びコネクタ
19日前
住友電装株式会社
配線部材の配索構造
18日前
住友電装株式会社
配線部材の配索構造
20日前
株式会社オートネットワーク技術研究所
筐体、および車両用充電装置
1か月前
株式会社オートネットワーク技術研究所
端子材料および電気接続端子
1か月前
株式会社オートネットワーク技術研究所
端子材料および電気接続端子
1か月前
株式会社オートネットワーク技術研究所
端子材料および電気接続端子
1か月前
株式会社オートネットワーク技術研究所
端子金具、実装基板及び基板装置
1か月前
株式会社オートネットワーク技術研究所
金属部材および金属部材の製造方法
1か月前
株式会社オートネットワーク技術研究所
端子接続構造および端子付きアルミ電線
20日前
株式会社オートネットワーク技術研究所
電気接続箱、及び電気接続箱の製造方法
1か月前
続きを見る
他の特許を見る