TOP
|
特許
|
意匠
|
商標
特許ウォッチ
Twitter
他の特許を見る
公開番号
2025140445
公報種別
公開特許公報(A)
公開日
2025-09-29
出願番号
2024039855
出願日
2024-03-14
発明の名称
追加外装部品
出願人
株式会社オートネットワーク技術研究所
,
住友電装株式会社
,
住友電気工業株式会社
代理人
個人
,
個人
,
個人
,
個人
主分類
B60R
1/26 20220101AFI20250919BHJP(車両一般)
要約
【課題】車両の室外に容易に支持することができる。
【解決手段】外装部品(サイドミラー20)の少なくとも一部を覆うとともに、外装部品(サイドミラー20)に対向する内側面32と、車両10の外側に露出する外側面33とを有するカバー部31と、カバー部31に取り付けられた機器部品(特に電気機器(カメラユニット50))と、機器部品(特に電気機器(カメラユニット50))から延出される線状体(電線60)と、を備える。
【選択図】図3
特許請求の範囲
【請求項1】
車両の外装部品に装着される追加外装部品であって、
前記外装部品の少なくとも一部を覆うとともに、前記外装部品に対向する内側面と、前記車両の外側に露出する外側面とを有するカバー部と、
前記カバー部に取り付けられた機器部品と、
前記機器部品から延出される線状体と、
を備える、追加外装部品。
続きを表示(約 620 文字)
【請求項2】
請求項1に記載の追加外装部品であって、
前記外側面は、前記外装部品において前記内側面に対向する部分の外形に沿った形状に形成される、
追加外装部品。
【請求項3】
請求項1または請求項2に記載の追加外装部品であって、
前記機器部品から延出される前記線状体の一部は、前記内側面と前記外装部品との間の隙間に配策される、
追加外装部品。
【請求項4】
請求項1または請求項2に記載の追加外装部品であって、
前記機器部品と前記線状体との接続部が前記内側面から露出し、
前記接続部の少なくとも一部を取り囲むように前記カバー部に固定されるとともに、前記外装部品に圧接する弾性止水部材をさらに備える、追加外装部品。
【請求項5】
請求項1または請求項2に記載の追加外装部品であって、
前記内側面に前記外装部材に固定される粘着テープが貼着される、追加外装部品。
【請求項6】
請求項1または請求項2に記載の追加外装部品であって、
前記内側面に、前記内側面から見て凹む凹部が形成され、
前記凹部に前記機器部品の少なくとも一部が配置される、追加外装部品。
【請求項7】
請求項1または請求項2に記載の追加外装部品であって、
サイドミラーの少なくとも一部を覆う、追加外装部品。
発明の詳細な説明
【技術分野】
【0001】
本開示は、追加外装部品に関する。
続きを表示(約 1,100 文字)
【背景技術】
【0002】
特許文献1は、ワイヤハーネスをウェザストリップに埋設し、メインハーネスをドアトリムに設ける構成を開示している。特許文献1では、ウェザストリップに設けられるコネクタと、ドアトリムに設けられるコネクタとが嵌合する。
【先行技術文献】
【特許文献】
【0003】
特開平10-24782号公報
【発明の概要】
【発明が解決しようとする課題】
【0004】
例えばカメラやライトなどの電気機器(その他、機械的動作が行われる機器部品)を、車両の室内ではなく、車両の室外に支持できることが要請される可能性がある。この場合、車両の元々の意匠性が損なわれないために、車両の室外に配置される外装部品の内部に電気機器(その他の機器部品)を取り付けることが考えられる。この場合、その外装部品の分解作業が煩雑で取り付け自体が困難である。また、外装部品の内部には取り付けのスペースがないこともある。このため、電気機器(その他の機器部品)を車両の室外に容易に支持できることが望まれている。
【0005】
そこで、本開示は、機器部品を車両の室外に容易に支持可能にすることを目的とする。
【課題を解決するための手段】
【0006】
本開示の追加外装部品は、車両の外装部品に装着される追加外装部品であって、前記外装部品の少なくとも一部を覆うとともに、前記外装部品に対向する内側面と、前記車両の外側に露出する外側面とを有するカバー部と、前記カバー部に取り付けられた機器部品と、前記機器部品から延出される線状体と、を備える。
【発明の効果】
【0007】
本開示の追加外装部品によると、機器部品を車両の室外に容易に支持することができる。
【図面の簡単な説明】
【0008】
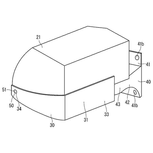
図1は、追加外装部品が取り付けられる車両の一例を示す概略斜視図である。
図2は、サイドミラー、追加外装部品、および支持部材を車両の外側から示す斜視図である。
図3は、サイドミラー、追加外装部品、および支持部材を車両本体側から示す斜視図である。
図4は、追加外装部品を支持部材とともに示す斜視図である。
【発明を実施するための形態】
【0009】
[本開示の実施形態の説明]
最初に本開示の実施形態を列記して説明する。
【0010】
本開示の車両の追加外装部品は、次の通りである。
(【0011】以降は省略されています)
この特許をJ-PlatPat(特許庁公式サイト)で参照する
関連特許
個人
カーテント
4か月前
個人
タイヤレバー
2か月前
個人
前輪キャスター
1か月前
個人
上部一体型自動車
5日前
個人
ルーフ付きトライク
2か月前
個人
車輪清掃装置
4か月前
個人
ホイルのボルト締結
3か月前
個人
タイヤ脱落防止構造
1か月前
個人
キャンピングトライク
3か月前
日本精機株式会社
表示装置
2か月前
日本精機株式会社
表示装置
1か月前
日本精機株式会社
表示装置
2か月前
井関農機株式会社
作業車両
3か月前
個人
マスタシリンダ
12日前
井関農機株式会社
作業車両
4か月前
日本精機株式会社
表示装置
2か月前
個人
車両通過構造物
2か月前
個人
乗合路線バスの客室装置
2か月前
個人
アクセルのソフトウェア
3か月前
個人
キャンピングトレーラー
3か月前
個人
車両用スリップ防止装置
3か月前
個人
ワイパーゴム性能保持具
4か月前
株式会社ニフコ
保持装置
3か月前
株式会社豊田自動織機
産業車両
2か月前
日本精機株式会社
車載表示装置
20日前
株式会社ニフコ
照明装置
1か月前
日本精機株式会社
車室演出装置
1か月前
個人
円湾曲ホイール及び球体輪
2か月前
日本精機株式会社
車載表示装置
3か月前
個人
車載小物入れ兼雨傘収納具
3か月前
株式会社クラベ
ヒータユニット
4か月前
株式会社ニフコ
収納装置
29日前
日本精機株式会社
画像投映装置
1日前
個人
音声ガイド、音声サービス
2か月前
日本精機株式会社
車両用投射装置
6日前
日本精機株式会社
車両用表示装置
4か月前
続きを見る
他の特許を見る