TOP
|
特許
|
意匠
|
商標
特許ウォッチ
Twitter
他の特許を見る
10個以上の画像は省略されています。
公開番号
2025151860
公報種別
公開特許公報(A)
公開日
2025-10-09
出願番号
2024053476
出願日
2024-03-28
発明の名称
積層材の検査方法、積層材の製造方法、および積層材の検査システム
出願人
住友電気工業株式会社
代理人
弁理士法人深見特許事務所
主分類
G01N
21/892 20060101AFI20251002BHJP(測定;試験)
要約
【課題】積層材に含まれる基板または複数の層を検査すること、または検査結果に基づいて積層材を製造する。
【解決手段】本開示の積層材の検査方法は、複数の層を基板に積層する複数の工程によって製造される積層材の検査方法であって、複数の工程のうちの1つの工程が行われた基板を検査対象とし、検査対象の表面画像を取得するステップと、少なくとも表面画像を用いて、工程に特定の異常の原因が発生しているか否かを推論するステップと、を備える。
【選択図】図12
特許請求の範囲
【請求項1】
複数の層を基板に積層する複数の工程によって製造される積層材の検査方法であって、
撮像装置が、前記複数の工程のうちの1つの工程が行われた前記基板を検査対象とし、前記検査対象の表面画像を取得するステップと、
制御装置が、少なくとも前記表面画像を用いて、前記工程に特定の異常の原因が発生しているか否かを推論するステップと、を備える、積層材の検査方法。
続きを表示(約 1,300 文字)
【請求項2】
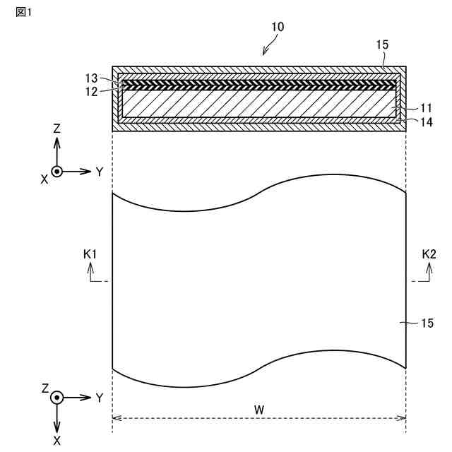
前記積層材は、前記基板、中間層、超電導層、保護層、および安定化層がこの順に積層されることによって製造される、請求項1に記載の積層材の検査方法。
【請求項3】
前記推論するステップは、前記制御装置が、前記基板の研磨の工程が行われた前記基板の表面画像から、研磨液の乾燥不良、洗浄液の乾燥不良、圧延ロールの傷、および前記圧延ロールの汚れの転写の原因の少なくとも一つが発生しているか否かを推論するステップを含む、請求項2記載の積層材の検査方法。
【請求項4】
前記推論するステップは、前記制御装置が、前記基板への中間層の成膜の工程が行われた後において、前記中間層の表面画像と前記中間層の製造条件のデータとから、前記中間層の成膜時の異常放電の原因が発生しているか否かを推論するステップを含む、請求項2記載の積層材の検査方法。
【請求項5】
前記推論するステップは、前記制御装置が、前記基板への超電導層の成膜の工程が行われた後において、前記超電導層の表面画像と前記超電導層の製造条件のデータから、前記超電導層の製造条件の不良の原因が発生しているか否かを推論するステップを含む、請求項2記載の積層材の検査方法。
【請求項6】
前記推論するステップは、前記制御装置が、前記基板への保護層の成膜の工程が行われた後において、前記保護層の表面画像と前記保護層の製造条件のデータから、前記保護層の成膜時の異常放電の原因が発生しているか否かを推論するステップを含む、請求項2記載の積層材の検査方法。
【請求項7】
前記推論するステップは、前記制御装置が、前記基板の研磨前の表面画像から、前記基板に異物付着の原因が存在するか否かを推論するステップを含む、請求項2記載の積層材の検査方法。
【請求項8】
前記推論するステップは、前記制御装置が、前記基板の研磨の工程が行われた前記基板の表面画像から、前記基板の研磨の工程での研磨不足の原因が存在するか否かを推論するステップを含む、請求項2記載の積層材の検査方法。
【請求項9】
前記推論するステップは、前記制御装置が、前記基板への中間層の成膜の工程が行われた後において、前記中間層の表面画像、前記中間層の結晶配向性、前記中間層の表面温度、前記中間層の製造温度、前記中間層の製造湿度、および前記中間層の成膜の工程の設定温度から、前記中間層の成膜の工程での異常放電の原因が存在するか否かを推論するステップを含む、請求項2記載の積層材の検査方法。
【請求項10】
前記推論するステップは、前記制御装置が、前記基板への超電導層の成膜の工程が行われた後において、前記超電導層の表面画像、前記超電導層の結晶配向性、前記超電導層の表面温度、前記超電導層の製造温度、前記超電導層の製造湿度、および前記超電導層の成膜の工程の設定温度から、前記超電導層の成膜の工程での酸素ガスの濃度異常の不良の原因が存在するかを推論するステップを含む、請求項2記載の積層材の検査方法。
(【請求項11】以降は省略されています)
発明の詳細な説明
【技術分野】
【0001】
本開示は、積層材の検査方法、積層材の製造方法、および積層材の検査システムに関する。
続きを表示(約 3,200 文字)
【背景技術】
【0002】
従来、超電導層を含む複数の層が積層されることによって製造される積層材が知られている。たとえば、特開2015-198015号公報(特許文献1)には、金属基板とセラミック製の中間層と酸化物超電導層とAg保護層とCu安定化層とが積層されることによって形成された酸化物超電導薄膜線材が開示されている。Cu安定化層は、金属基板とセラミック製の中間層と酸化物超電導層とAg保護層とがこの順に積層された積層体の外周に形成されている。当該酸化物超電導薄膜線材によれば、樹脂コートの膨れおよび剥がれの発生を防止できる。
【先行技術文献】
【特許文献】
【0003】
特開2015-198015号公報
【発明の概要】
【発明が解決しようとする課題】
【0004】
複数の層が基板に積層されることによって製造される積層材に含まれる基板および複数の層のいずれかの表面に欠陥が生じる場合がある。当該欠陥は、当該積層材に求められる特性を劣化させ得る。そのため、当該欠陥が積層材に残存する場合、所望の品質を有する積層材の部分の割合(歩留まり)が低下し得る。しかし、特許文献1においては、積層材に含まれる基板または複数の層の検査について考慮されていない。
【0005】
本開示の目的は、上述のような課題を解決するためになされたものであり、その目的は、積層材に含まれる基板または複数の層を検査すること、または検査結果に基づいて積層材を製造することである。
【課題を解決するための手段】
【0006】
本開示の積層材の検査方法は、複数の層を基板に積層する複数の工程によって製造される積層材の検査方法であって、複数の工程のうちの1つの工程が行われた基板を検査対象とし、撮像装置が、検査対象の表面画像を取得するステップと、制御装置が、少なくとも表面画像を用いて、工程に特定の異常の原因が発生しているか否かを推論するステップと、を備える。
【0007】
本開示の積層材の製造方法は、基板を研磨する第1の製造工程と、第1の製造工程後の基板に中間層を成膜する第2の製造工程と、第2の製造工程後の中間層に超電導層を成膜する第3の製造工程と、第3の製造工程後の超電導層に保護層を成膜する第4の製造工程と、第4の製造工程後の保護層に安定化層を成膜する第5の製造工程と、積層材の検査を行う検査工程と、を備える。検査工程において、第1の製造工程、第2の製造工程、第3の製造工程、および第4の製造工程のうちの少なくとも1つの工程が行われた後の基板を検査対象とし、撮像装置が、検査対象の表面画像を取得するステップと、制御装置が、少なくとも表面画像を用いて、特定の異常の原因が発生しているか否かを推論するステップとを含む。
【0008】
本開示の積層材の検査システムは、複数の層を基板に積層する複数の工程によって製造される積層材を検査する検査システムであって、複数の工程のうちの1つの工程が行われた基板を検査対象とし、検査対象の表面画像を取得する撮像装置と、少なくとも表面画像を用いて、工程に特定の異常の原因が発生しているか否かを推論する推論装置と、を備える。
【発明の効果】
【0009】
本開示によれば、積層材に含まれる基板または複数の層を検査することができる。また、本開示によれば、検査結果に基づいて積層材を製造することができる。
【図面の簡単な説明】
【0010】
図1は、超電導線材10の断面図である。
図2は、第1の実施形態における超電導線材10の製造工程の概要を表わす図である。
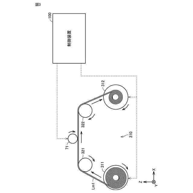
図3は、ステップS11における製造システムの一例を表わす図である。
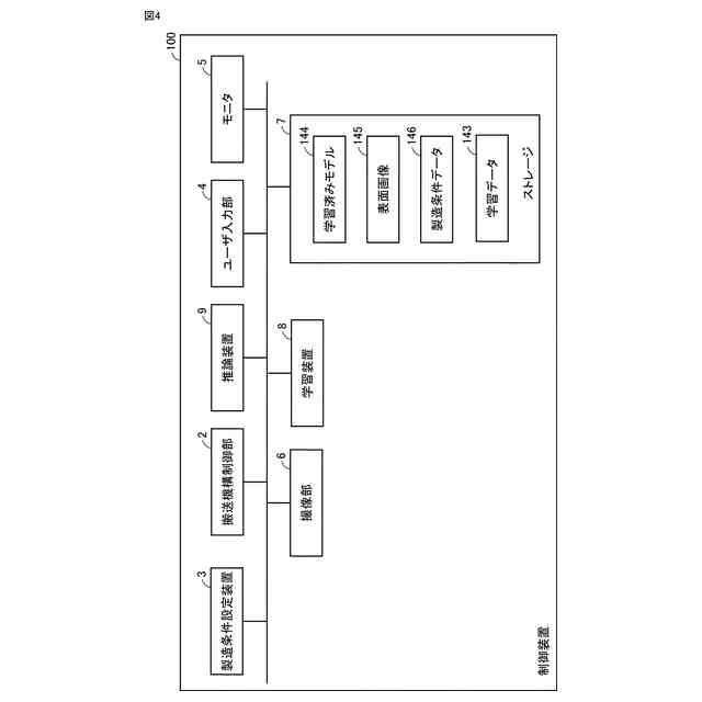
図4は、制御装置100の構成を表わす図である。
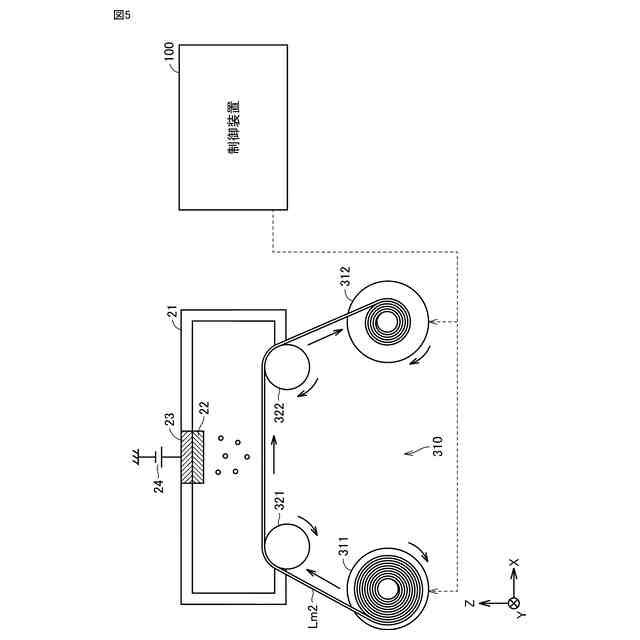
図5は、ステップS12における製造システムの一例を表わす図である。
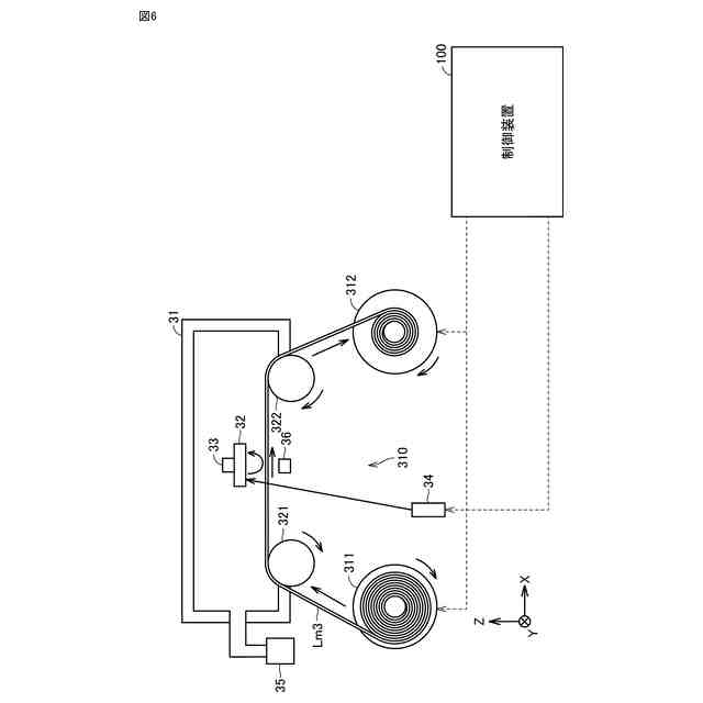
図6は、ステップS13における製造システムの一例を表わす図である。
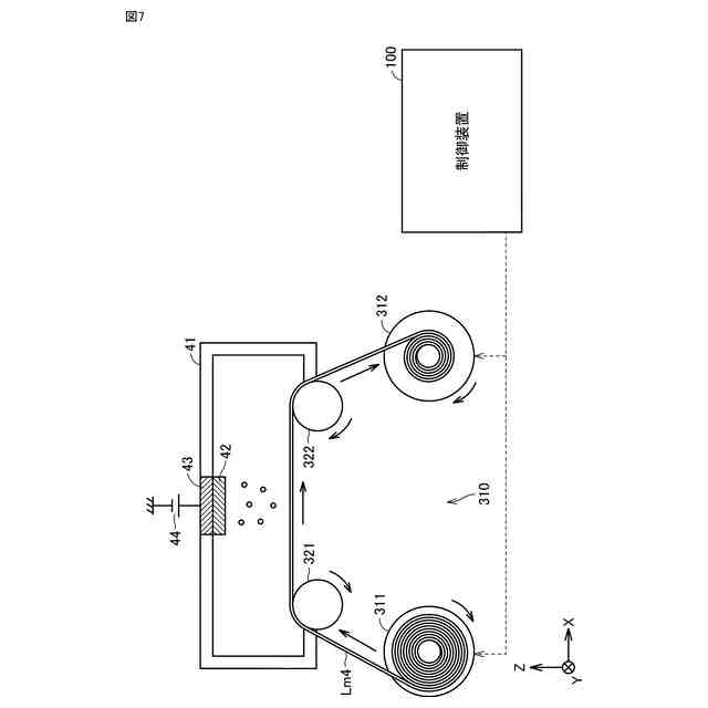
図7は、ステップS14における製造システムの一例を表わす図である。
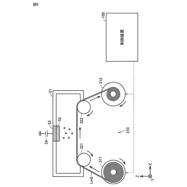
図8は、ステップS15における製造システムの一例を表わす図である。
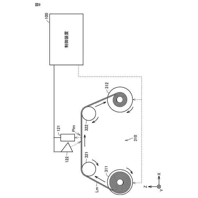
図9は、ステップS21、S22、S23、およびS24における検査システムの一例を表わす図である。
図10は、学習済みモデル144の一例を表わす図である。
図11は、第1の実施形態のステップS21において使用される学習済みモデル144(1)の入力と出力とを表わす図である。
図12は、ステップS21における検査方法を表わす図である。
図13は、第1の実施形態のステップS22において使用される学習済みモデル144(2)の入力と出力とを表わす図である。
図14は、ステップS22における検査方法を表わす図である。
図15は、第1の実施形態のステップS23において使用される学習済みモデル144(3)の入力と出力とを表わす図である。
図16は、ステップS23における検査方法を表わす図である。
図17は、第1の実施形態のステップS24において使用される学習済みモデル144(3)の入力と出力とを表わす図である。
図18は、ステップS24における検査方法を表わす図である。
図19は、ステップS31で実施される第1の対策を表わす図である。
図20は、ステップS32で実施される第2の対策を表わす図である。
図21は、ステップS33で実施される第3の対策を表わす図である。
図22は、ステップS34で実施される第4の対策を表わす図である。
図23は、第2の実施形態における超電導線材10の製造工程の概要を表わす図である。
図24は、第2の実施形態のステップS20Aにおいて使用される学習済みモデル144(0)の入力と出力とを表わす図である。
図25は、第2の実施形態のステップS21Aにおいて使用される学習済みモデル144(1)の入力と出力とを表わす図である。
図26は、第2の実施形態のステップS22Aにおいて使用される学習済みモデル144(2)の入力と出力とを表わす図である。
図27は、第2の実施形態のステップS23Aにおいて使用される学習済みモデル144(3)の入力と出力とを表わす図である。
図28は、第2の実施形態のステップS24Aにおいて使用される学習済みモデル144(4)の入力と出力とを表わす図である。
図29は、第3の実施形態のステップS25Aにおいて使用される学習済みモデル144(5)の入力と出力とを表わす図である。
図30は、ステップS35で実施される第5の対策を表わす図である。
図31は、表面画像に基づく欠陥箇所と、積層体の臨界電流の低下箇所とを表わす図である。
図32は、第3の実施形態のステップS21Aにおいて使用されるルールベースRB(1)を表わす図である。
図33は、第3の実施形態のステップS22Aにおいて使用されるルールベースRB(2)を表わす図である。
図34は、第3の実施形態のステップS23Aにおいて使用されるルールベースRB(3)を表わす図である。
図35は、第3の実施形態のステップS24Aにおいて使用されるルールベースRB(4)を表わす図である。
図36は、第3の実施形態のステップS25Aにおいて使用されるルールベースRB(5)を表わす図である。
【発明を実施するための形態】
(【0011】以降は省略されています)
この特許をJ-PlatPat(特許庁公式サイト)で参照する
関連特許
住友電気工業株式会社
受光素子
5日前
住友電気工業株式会社
ペレット
15日前
住友電気工業株式会社
ペレット
15日前
住友電気工業株式会社
光検出装置
7日前
住友電気工業株式会社
半導体受光素子
20日前
住友電気工業株式会社
炭化珪素半導体装置
16日前
住友電気工業株式会社
炭化珪素半導体装置
16日前
住友電気工業株式会社
炭化珪素半導体装置
16日前
住友電気工業株式会社
炭化珪素半導体装置
16日前
住友電気工業株式会社
受光素子およびその製造方法
15日前
住友電気工業株式会社
アバランシェフォトダイオード
今日
住友電気工業株式会社
画像処理装置、画像処理方法及び画像処理プログラム
6日前
住友電工プリントサーキット株式会社
プリント配線板
14日前
住友電気工業株式会社
光コネクタクリーナおよび光コネクタの端面の清掃方法
15日前
住友電気工業株式会社
絶縁層用樹脂組成物、絶縁電線および絶縁電線の製造方法
6日前
株式会社オートネットワーク技術研究所
電装品
5日前
株式会社SCREENホールディングス
成形方法、および、成形品
19日前
株式会社オートネットワーク技術研究所
電装品
5日前
株式会社オートネットワーク技術研究所
雌端子
14日前
株式会社オートネットワーク技術研究所
コネクタ
15日前
株式会社オートネットワーク技術研究所
コネクタ
15日前
株式会社オートネットワーク技術研究所
固定部材
6日前
株式会社オートネットワーク技術研究所
端子金具、及びコネクタ
14日前
株式会社オートネットワーク技術研究所
端子金具、及びコネクタ
14日前
住友電気工業株式会社
レドックスフロー電池用電極、レドックスフロー電池セル、およびレドックスフロー電池システム
今日
株式会社オートネットワーク技術研究所
端子接続構造および端子付きアルミ電線
15日前
住友電気工業株式会社
光ファイバの偏心量測定方法及び光ファイバの製造方法
13日前
住友電気工業株式会社
炭化珪素結晶の製造方法、炭化珪素基板の製造方法、エピタキシャル基板の製造方法および半導体装置の製造方法
13日前
株式会社オートネットワーク技術研究所
コネクタ
19日前
株式会社オートネットワーク技術研究所
シールド端子
5日前
株式会社オートネットワーク技術研究所
ワイヤハーネス
19日前
株式会社オートネットワーク技術研究所
セキュリティシステム、セキュリティ装置、及びセキュリティ方法
16日前
住友電気工業株式会社
管理装置、通信システム、車両、車両通信管理方法および車両通信管理プログラム
7日前
株式会社オートネットワーク技術研究所
車載ソフトウェア管理装置、車載ソフトウェア管理方法および車載ソフトウェア管理プログラム
5日前
個人
採尿及び採便具
13日前
日本精機株式会社
検出装置
7日前
続きを見る
他の特許を見る