TOP
|
特許
|
意匠
|
商標
特許ウォッチ
Twitter
他の特許を見る
10個以上の画像は省略されています。
公開番号
2025148626
公報種別
公開特許公報(A)
公開日
2025-10-08
出願番号
2022134987
出願日
2022-08-26
発明の名称
複合多孔質体、および複合多孔質体の製造方法
出願人
住友電気工業株式会社
代理人
個人
,
個人
主分類
B01D
69/12 20060101AFI20251001BHJP(物理的または化学的方法または装置一般)
要約
【課題】基材と被覆層との密着性に優れる上に、可とう性に優れる複合多孔質体を提供する。
【解決手段】第一面を有する基材と、前記第一面の少なくとも一部を覆う被覆層と、を備え、前記基材は、ポリテトラフルオロエチレンによって構成された多孔質体であり、前記被覆層は、複数のナノファイバーの積層体を含み、前記多孔質体は、分散して配置された複数のノードと、前記複数のノード同士をつないでいるフィブリルと、を有し、前記第一面が前記複数のノードを含み、前記第一面における前記基材の平均孔径が5nm以上500nm以下であり、前記第一面における前記複数のノードの面積率が30%以上70%以下である、複合多孔質体。
【選択図】図2
特許請求の範囲
【請求項1】
第一面を有する基材と、
前記第一面の少なくとも一部を覆う被覆層と、を備え、
前記基材は、ポリテトラフルオロエチレンによって構成された多孔質体であり、
前記被覆層は、複数のナノファイバーの積層体を含み、
前記多孔質体は、
分散して配置された複数のノードと、
前記複数のノード同士をつないでいるフィブリルと、を有し、
前記第一面が前記複数のノードを含み、
前記第一面における前記基材の平均孔径が5nm以上500nm以下であり、
前記第一面における前記複数のノードの面積率が30%以上70%以下である、
複合多孔質体。
続きを表示(約 560 文字)
【請求項2】
前記被覆層の平均孔径が1nm以上50nm以下である、請求項1に記載の複合多孔質体。
【請求項3】
前記被覆層の平均厚さが10nm以上1000nm以下である、請求項1または請求項2に記載の複合多孔質体。
【請求項4】
前記被覆層はポリマーを含む、請求項1または請求項2に記載の複合多孔質体。
【請求項5】
前記ポリマーが親水性ポリマーである、請求項4に記載の複合多孔質体。
【請求項6】
前記親水性ポリマーがポリビニルアルコールである、請求項5に記載の複合多孔質体。
【請求項7】
前記複数のナノファイバーのそれぞれは、アルミニウムと酸素と水素とを含む無機材料からなる、請求項1または請求項2に記載の複合多孔質体。
【請求項8】
前記第一面における空孔の平均短径が4nm以上400nm以下である、請求項1または請求項2に記載の複合多孔質体。
【請求項9】
前記第一面の少なくとも一部は親水性素材を含む、請求項1または請求項2に記載の複合多孔質体。
【請求項10】
前記親水性素材が親水性ポリマーである、請求項9に記載の複合多孔質体。
(【請求項11】以降は省略されています)
発明の詳細な説明
【技術分野】
【0001】
本発明は、複合多孔質体、および複合多孔質体の製造方法に関するものである。
続きを表示(約 1,900 文字)
【背景技術】
【0002】
特許文献1には、フィルターに利用されるアルミナ複合分離膜が開示されている。アルミナ複合分離膜は、多孔質材料からなる支持体と多孔質薄膜層とを含む。多孔質材料は代表的にはアルミナなどの無機酸化物によって構成されている。多孔質薄膜層は、複数の繊維状アルミナ粒子を積層することによって構成されている。特許文献1の実施例に開示される複合多孔質体は、アルミナを主成分とする支持体を備える。アルミナによって構成される支持体および多孔質薄膜層を備えるアルミナ複合分離膜は、強度、耐熱性、および耐薬品性に優れる。以下、アルミナ複合分離膜を複合多孔質体と呼ぶ。特許文献2にも、特許文献1と同様、フィルターに利用されるろ過媒体が開示されている。
【先行技術文献】
【特許文献】
【0003】
特開2011-255303号公報
特開2011-183389号公報
【発明の概要】
【発明が解決しようとする課題】
【0004】
複合多孔質体の使用態様によっては、複合多孔質体が曲げられることがある。支持体である基材と多孔質薄膜層である被覆層との密着性に乏しい複合多孔質体は、曲げによって被覆層が基材から剥がれ易い。そのため、基材と被覆層との密着性の向上が望まれている。また、可とう性に乏しい複合多孔質体は、曲げによって損傷し易い。そのため、可とう性の向上が望まれている。
【0005】
本開示は、基材と被覆層との密着性に優れる上に、可とう性に優れる複合多孔質体を提供することを目的の一つとする。本開示は、基材と被覆層との密着性に優れる上に、可とう性に優れる複合多孔質体の製造方法を提供することを目的の一つとする。
【課題を解決するための手段】
【0006】
本開示の複合多孔質体は、
第一面を有する基材と、
前記第一面の少なくとも一部を覆う被覆層と、を備え、
前記基材は、ポリテトラフルオロエチレンによって構成された多孔質体であり、
前記被覆層は、複数のナノファイバーの積層体を含み、
前記多孔質体は、
分散して配置された複数のノードと、
前記複数のノード同士をつないでいるフィブリルと、を有し、
前記第一面が前記複数のノードを含み、
前記第一面における前記基材の平均孔径が5nm以上500nm以下であり、
前記第一面における前記複数のノードの面積率が30%以上70%以下である。
【0007】
本開示の複合多孔質体の製造方法は、
ポリテトラフルオロエチレンによって構成された多孔質体からなる基材を用意する工程Aと、
前記基材の第一面を親水化処理する工程Bと、
複数のナノファイバーを含む分散液を前記第一面に塗布する工程Cと、
前記分散液が塗布された前記基材を80℃以上200℃以下の加熱雰囲気下で熱処理する工程Dと、を備え、
前記工程Aで用意された前記多孔質体は、
分散して配置された複数のノードと、
前記複数のノード同士をつないでいるフィブリルと、を有し、
前記第一面が前記複数のノードを含み、
前記第一面における前記基材の平均孔径が5nm以上500nm以下であり、
前記第一面における前記複数のノードの面積率が30%以上70%以下であり、
前記工程Cにおける前記複数のナノファイバーの平均長さは、前記平均孔径の10倍以上である。
【発明の効果】
【0008】
本開示の複合多孔質体は、基材と被覆層との密着性に優れる上に、可とう性に優れる。
【0009】
本開示の複合多孔質体の製造方法は、基材と被覆層との密着性に優れる上に、可とう性に優れる複合多孔質体を製造できる。
【図面の簡単な説明】
【0010】
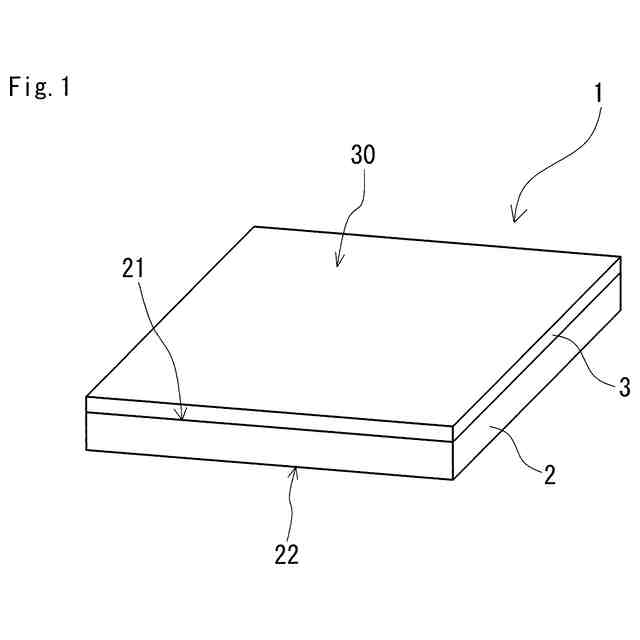
図1は、実施形態1に係るシート形状の複合多孔質体の概略構成図である。
図2は、図1の複合多孔質体に備わる基材の第一面を模式的に示す平面図である。
図3は、図1の複合多孔質体の構造を模式的に示す説明図である。
図4は、図2の複合多孔質体の被覆層の表面を模式的に示す説明図である。
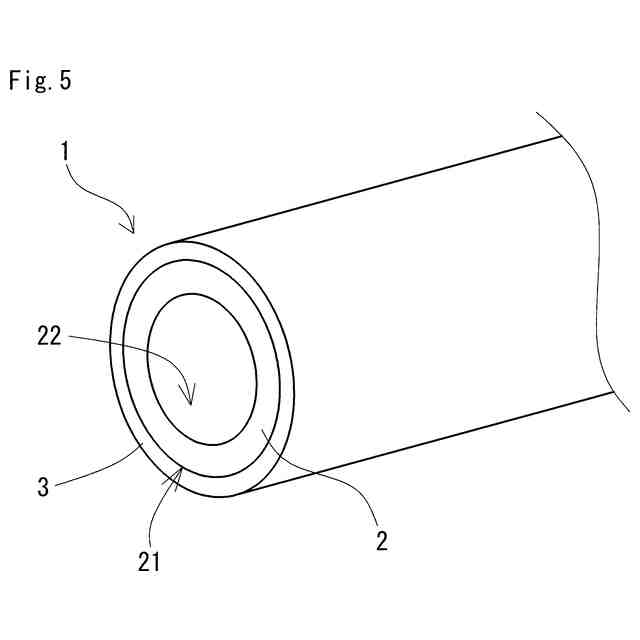
図5は、実施形態2に係る筒形状の複合多孔質体の概略構成図である。
図6は、試験例に示される通液試験に用いられる試験装置の概略図である。
図7は、試験例に示される曲げ試験の概略説明図である。
【発明を実施するための形態】
(【0011】以降は省略されています)
この特許をJ-PlatPat(特許庁公式サイト)で参照する
関連特許
住友電気工業株式会社
充電システム
3日前
住友電気工業株式会社
高周波用電線
4日前
住友電気工業株式会社
光コネクタケーブル
3日前
住友電気工業株式会社
電線物理量測定装置
3日前
住友電気工業株式会社
複合多孔質体、および複合多孔質体の製造方法
4日前
住友電気工業株式会社
半導体光素子、および半導体光素子の製造方法
3日前
住友電気工業株式会社
積層材の検査方法、積層材の製造方法、および積層材の検査システム
3日前
株式会社オートネットワーク技術研究所
コネクタ
5日前
株式会社オートネットワーク技術研究所
車載装置
3日前
株式会社オートネットワーク技術研究所
コネクタ
3日前
株式会社オートネットワーク技術研究所
接続構造体
3日前
株式会社オートネットワーク技術研究所
コネクタ装置
3日前
株式会社オートネットワーク技術研究所
コネクタ装置
3日前
株式会社オートネットワーク技術研究所
コネクタ装置
5日前
株式会社オートネットワーク技術研究所
コネクタ装置
5日前
株式会社オートネットワーク技術研究所
コネクタのガイド構造
3日前
住友電工オプティフロンティア株式会社
光コネクタおよび光コネクタの取り付け方法
2日前
株式会社オートネットワーク技術研究所
機器モジュールの取付構造
4日前
株式会社オートネットワーク技術研究所
筐体、および車両用充電装置
2日前
株式会社オートネットワーク技術研究所
端子材料および電気接続端子
2日前
株式会社オートネットワーク技術研究所
ワイヤハーネス、及び接続構造体
3日前
株式会社オートネットワーク技術研究所
金属部材および金属部材の製造方法
2日前
株式会社オートネットワーク技術研究所
車載装置、情報処理方法及びプログラム
4日前
株式会社オートネットワーク技術研究所
電線導体、絶縁電線、およびワイヤーハーネス
2日前
株式会社オートネットワーク技術研究所
機器モジュールの取付構造及び機器モジュール
4日前
ユニチカ株式会社
複合中空糸膜
10日前
東レ株式会社
中空糸膜モジュール
9日前
株式会社ニクニ
液体処理装置
23日前
日本化薬株式会社
メタノール改質触媒
24日前
株式会社大善
濃縮脱水機
1か月前
三機工業株式会社
ろ過装置
1か月前
株式会社MRT
微細バブル発生装置
13日前
株式会社カネカ
製造システム
1か月前
テルモ株式会社
ろ過デバイス
1か月前
株式会社切川物産
撹拌混合装置
1か月前
株式会社笹山工業所
濁水処理システム
13日前
続きを見る
他の特許を見る