TOP
|
特許
|
意匠
|
商標
特許ウォッチ
Twitter
他の特許を見る
10個以上の画像は省略されています。
公開番号
2025173227
公報種別
公開特許公報(A)
公開日
2025-11-27
出願番号
2024078711
出願日
2024-05-14
発明の名称
放射線撮影装置及び放射線撮影システム
出願人
キヤノン株式会社
代理人
個人
主分類
G01T
7/00 20060101AFI20251119BHJP(測定;試験)
要約
【課題】厚みの増加を抑えて小型化を促進するも、効率良く十分な空冷を行うことを可能とする放射線撮影装置を提供する。
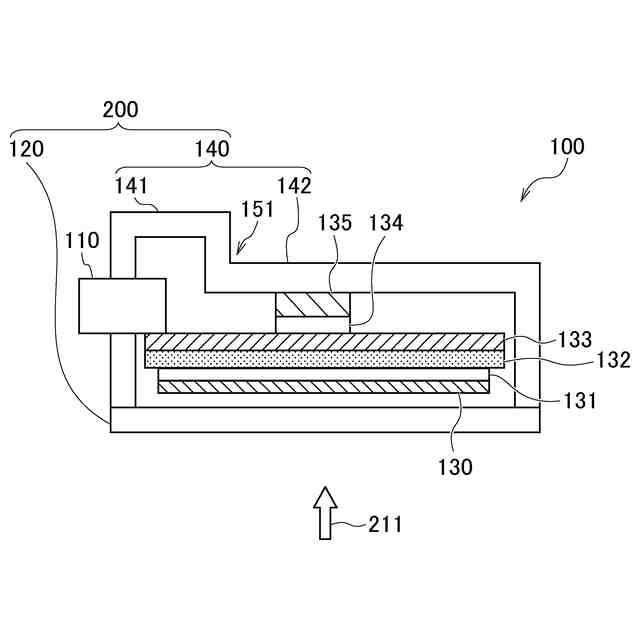
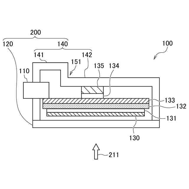
【解決手段】放射線撮影装置100において、センサパネル131、支持基台132、電気基板133、熱源である集積回路134、及び集積回路134と熱的に接続された伝熱部材135を内包する筐体200は、筐体200の放射線入射面の背面部140に、第1面部141と、内側表面に伝熱部材135が接触しており、外側表面とセンサパネル131との距離が第1面部141の外側表面のセンサパネル131との距離よりも小さい第2面部142と、を有する。
【選択図】図2
特許請求の範囲
【請求項1】
放射線を検出する放射線検出器と、
前記放射線検出器の放射線入射面の反対面側に配置された熱源と、
前記熱源と熱的に接続された伝熱部材と、
前記放射線検出器、前記熱源、及び前記伝熱部材を内包する筐体と、
を備えており、
前記筐体は、
前記筐体の放射線入射面の背面部に、
第1面部と、
内側表面に前記伝熱部材が接触しており、外側表面の前記放射線検出器との距離が前記第1面部の外側表面の前記放射線検出器との距離よりも小さい第2面部と、
を有する、
放射線撮影装置。
続きを表示(約 830 文字)
【請求項2】
前記筐体の内包空間における前記第1面部の下方の少なくとも一部に相当する箇所に、所定部材が配置されている、
請求項1に記載の放射線撮影装置。
【請求項3】
前記所定部材は、外部と電気的な接続を得る接続部である、
請求項2に記載の放射線撮影装置。
【請求項4】
前記所定部材の放射線の入射方向の高さが、前記熱源の放射線の入射方向の高さより大きい、
請求項2に記載の放射線撮影装置。
【請求項5】
前記熱源は集積回路である、
請求項1に記載の放射線撮影装置。
【請求項6】
前記背面部は、外側表面において、
前記第1面部と前記第2面部との間に1つのみ段差を有する、
請求項1に記載の放射線撮影装置。
【請求項7】
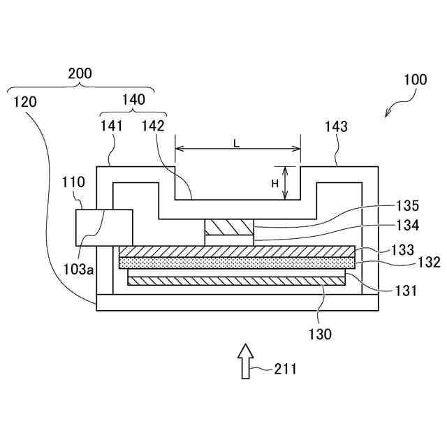
前記第2面部の短手方向幅をLとし、前記第1面部と前記第2面部との放射線の入射方向に沿った距離をHとしたとき、
H/L≦1
の関係を満たす、
請求項1に記載の放射線撮影装置。
【請求項8】
前記第2面部は、
前記背面部の少なくとも一端まで、前記放射線検出器との距離が同一である連続する外側表面の領域を有する、
請求項1に記載の放射線撮影装置。
【請求項9】
前記筐体は、
前記背面部と交差する、第1側面部及び前記第1側面部に沿った第2側面部を有しており、
前記領域は、第1側面部及び第2側面部とそれぞれ連続して一体化されている、
請求項8に記載の放射線撮影装置。
【請求項10】
前記筐体は、
所定部材が配置される第3側面部を有しており、
前記領域の長手方向と前記第3側面部の法線方向とが交差する、
請求項9に記載の放射線撮影装置。
(【請求項11】以降は省略されています)
発明の詳細な説明
【技術分野】
【0001】
本開示は、放射線撮影装置及び放射線撮影システムに関するものである。
続きを表示(約 1,900 文字)
【背景技術】
【0002】
対象物に放射線を照射し、対象物を透過した放射線の強度分布を検出して対象物の放射線画像を得る放射線撮影装置は、工業用の非破壊検査や医療診断の場で広く一般に利用されている。近年では、放射線撮影装置で取得される画像の高精細化や動画撮影の高速化が進むにつれて発熱量が増大し、従来の放射線撮影装置の構造では冷却が不十分になりつつある。冷却が不十分であると、主に放射線撮影装置の挙動や画像の取得を制御する回路基板の集積回路で発生した熱が、電子部品や放射線検出部へ伝わった際に、部品の耐熱温度超過による破損及び画像違和感等につながる。
【0003】
放射線撮影装置を冷却する手法としては、水冷が挙げられるところ、水冷では冷媒やホース等が必要となるため設計負荷が増大し、また冷媒を交換する手間がかかる等の問題がある。そこで、放射線撮影装置の冷却手法として、空冷が注目されている。例えば、特許文献1では、放射線撮影装置の外側に放熱板を設けつつ、放熱板が筐体内部に侵入し、発熱部品と接する構成にすることが提案されている。特許文献2では、放射線撮影装置の外装の内壁を熱源である集積回路等に向かって突出させ、直接的に外装へ伝熱させ冷却することが提案されている。
【先行技術文献】
【特許文献】
【0004】
特開2012-88152号公報
特開2011-43390号公報
【発明の概要】
【発明が解決しようとする課題】
【0005】
放射線撮影装置は、可搬型であればできるだけ薄い方が持ち運びに容易であり、患者の身体の下に対する挿抜性も良くなる。また、より大きな放射線撮影システムに搭載する据置型の放射線撮影装置であれば、放射線撮影装置の外形は可能な限り小さい方が、放射線撮影装置を搭載する空間が小さくなり、システム全体の設計自由度や小型化の観点で好ましい。
【0006】
特許文献1の放射線撮影装置は、筐体の外側に放熱板を突出させて追加しているために、可搬性が損なわれている。また、据置型の場合であっても、放熱板の分だけ放射線撮影装置が大きくなっているため、システムの収容空間が余分に必要となる。また、特許文献2においては、突出させた内壁から外壁の距離の分だけ熱抵抗が高くなり、効率的な冷却の観点で改善の余地がある。
【0007】
本開示は、上記の課題に鑑みてなされたものであり、厚みの増加を抑えて小型化を促進するも、効率良く十分な空冷を行うことを可能とする放射線撮影装置を提供することを目的とする。
【課題を解決するための手段】
【0008】
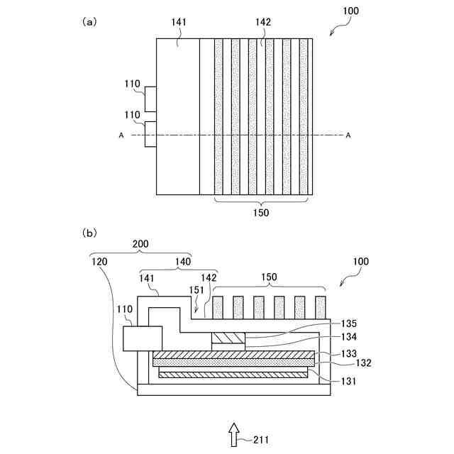
本開示の放射線撮影装置は、放射線を検出する放射線検出器と、前記放射線検出器の放射線入射面の反対面側に配置された熱源と、前記熱源と熱的に接続された伝熱部材と、前記放射線検出器、前記熱源、及び前記伝熱部材を内包する筐体と、を備えており、前記筐体は、前記筐体の放射線入射面の背面部に、第1面部と、内側表面に前記伝熱部材が接触しており、外側表面の前記放射線検出器との距離が前記第1面部の外側表面の前記放射線検出器との距離よりも小さい第2面部と、を有する。
【発明の効果】
【0009】
本開示によれば、厚みの増加を抑えて小型化を促進するも、効率良く十分な空冷を行うことを可能とする放射線撮影装置が実現する。
【図面の簡単な説明】
【0010】
第1の実施形態による放射線撮影装置の概略構成の一例を示す模式図である。
図1における放射線撮影装置の一点鎖線A-Aに沿った断面図である。
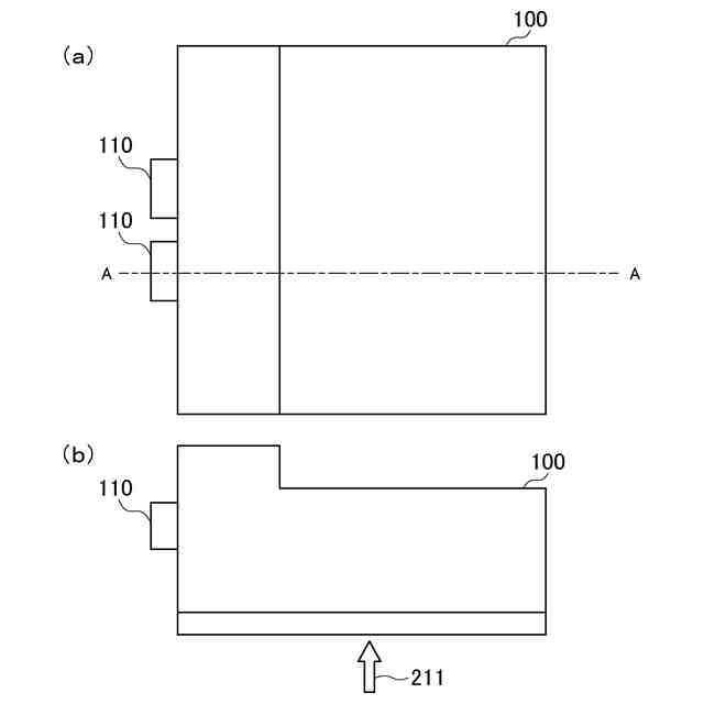
第2の実施形態による放射線撮影装置の概略構成の一例を示す模式図である。
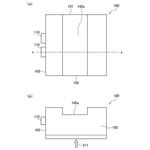
第3の実施形態による放射線撮影装置の概略構成の一例を示す模式図である。
図4における放射線撮影装置の一点鎖線A-Aに沿った断面図である。
特定の用途における第3の実施形態による放射線撮影装置の挙動を示す模式図である。
第3の実施形態による放射線撮影装置の他の例を示す断面図である。
第4の実施形態による放射線撮影装置の概略構成の一例を示す模式図である。
図8における放射線撮影装置の一点鎖線A-Aに沿った断面図である。
第5の実施形態による放射線撮影システム300の概略構成を示す模式図である。
【発明を実施するための形態】
(【0011】以降は省略されています)
この特許をJ-PlatPat(特許庁公式サイト)で参照する
関連特許
キヤノン株式会社
容器
29日前
キヤノン株式会社
容器
1か月前
キヤノン株式会社
トナー
1か月前
キヤノン株式会社
トナー
1か月前
キヤノン株式会社
トナー
1か月前
キヤノン株式会社
トナー
1か月前
キヤノン株式会社
トナー
21日前
キヤノン株式会社
撮像装置
22日前
キヤノン株式会社
表示装置
今日
キヤノン株式会社
表示装置
今日
キヤノン株式会社
撮像装置
8日前
キヤノン株式会社
撮像装置
8日前
キヤノン株式会社
定着装置
8日前
キヤノン株式会社
定着装置
1か月前
キヤノン株式会社
現像装置
1か月前
キヤノン株式会社
撮像装置
今日
キヤノン株式会社
撮像装置
21日前
キヤノン株式会社
測距装置
23日前
キヤノン株式会社
表示装置
今日
キヤノン株式会社
測距装置
1か月前
キヤノン株式会社
雲台装置
21日前
キヤノン株式会社
現像容器
1か月前
キヤノン株式会社
記録装置
1か月前
キヤノン株式会社
定着装置
14日前
キヤノン株式会社
電子機器
21日前
キヤノン株式会社
撮影装置
1か月前
キヤノン株式会社
定着装置
14日前
キヤノン株式会社
記録装置
1か月前
キヤノン株式会社
撮像装置
今日
キヤノン株式会社
記録装置
14日前
キヤノン株式会社
撮像装置
1か月前
キヤノン株式会社
発光装置
今日
キヤノン株式会社
記録装置
21日前
キヤノン株式会社
電子機器
21日前
キヤノン株式会社
表示装置
29日前
キヤノン株式会社
定着装置
14日前
続きを見る
他の特許を見る