TOP
|
特許
|
意匠
|
商標
特許ウォッチ
Twitter
他の特許を見る
公開番号
2025173127
公報種別
公開特許公報(A)
公開日
2025-11-27
出願番号
2024078535
出願日
2024-05-14
発明の名称
光ファイバ型センサ
出願人
矢崎総業株式会社
代理人
個人
,
個人
主分類
G01R
33/20 20060101AFI20251119BHJP(測定;試験)
要約
【課題】励起光が入射されると蛍光を発する格子欠陥を有する素子に光ファイバを介して励起光を照射する構造でも、低コストで小型化が容易であり、かつ光結合効率を高められる光ファイバ型センサを提供する。
【解決手段】励起光GLを照射する光源3と、励起光GLの光路上に設けられ励起光GLが一端15に入射する第1光ファイバ9と、第1光ファイバ9の他端9cに接触し、第1光ファイバ9を介して励起光GLが入射されると蛍光RLを発するNVセンタを有するダイヤモンド基板2と、蛍光RLの強度を計測する光検出器4とを備える光ファイバ型センサ1であって、第1光ファイバ9と共にダイヤモンド基板2を挟むようにダイヤモンド基板2と接触して設けられ、蛍光RLが入射し、入射した蛍光RLを光検出器4に向けて出射する第2光ファイバ11を備え、第1光ファイバ9のコア径及び開口数が、第2光ファイバ11のコア径及び開口数よりも小さい。
【選択図】図1
特許請求の範囲
【請求項1】
励起光を照射する光源と、前記励起光の光路上に設けられ前記励起光が一端に入射する第1光ファイバと、前記第1光ファイバの他端に接触し、前記第1光ファイバを介して前記励起光が入射されると蛍光を発する格子欠陥を有する素子と、前記蛍光の強度を計測する計測部とを備える光ファイバ型センサであって、
前記第1光ファイバと共に前記素子を挟むように前記素子と接触して設けられ、前記蛍光が入射し、入射した前記蛍光を前記計測部に向けて出射する第2光ファイバを備え、
前記第1光ファイバは、前記素子と接する前記他端のコア径及び開口数が、前記第2光ファイバの前記素子と接する端部のコア径及び開口数よりも小さい
ことを特徴とする、光ファイバ型センサ。
続きを表示(約 840 文字)
【請求項2】
前記第1光ファイバ及び前記第2光ファイバは、
前記第1光ファイバから出射する前記励起光の光路から外れる位置に前記第2光ファイバのコアが配置されるように、かつ前記蛍光の少なくとも一部が前記第2光ファイバのコアに入射するように、前記第1光ファイバの光軸に対して前記第2光ファイバの光軸を径方向にずらした位置に設けられる、請求項1に記載の光ファイバ型センサ。
【請求項3】
前記第1光ファイバ及び前記第2光ファイバと前記素子とが未接触の状態で、前記第1光ファイバの前記素子との接触面、前記第2光ファイバの前記素子との接触面、前記素子の前記第1光ファイバとの接触面、及び前記素子の前記第2光ファイバとの接触面の少なくとも一つが凸状であり、
前記第1光ファイバ及び前記第2光ファイバと前記素子とが互いに突き合わされて接触した状態では凸状の部分の少なくとも一部が突き合わせにより平坦な形状に変形したものである、請求項1または請求項2に記載の光ファイバ型センサ。
【請求項4】
前記第1光ファイバ及び前記第2光ファイバと前記素子とが未接触の状態では前記第1光ファイバの前記素子との接触面及び前記第2光ファイバの前記素子との接触面が凸状であり、前記素子の前記第1光ファイバ及び前記第2光ファイバとの接触面が平坦である、請求項3に記載の光ファイバ型センサ。
【請求項5】
前記第1光ファイバの前記素子との接触面及び前記第2光ファイバの前記素子との接触面が平坦であり、前記素子の前記第1光ファイバ及び前記第2光ファイバとの接触面が凸状である、請求項3に記載の光ファイバ型センサ。
【請求項6】
前記第1光ファイバの前記素子との接触面、前記第2光ファイバの前記素子との接触面、前記素子の前記第1光ファイバとの接触面、及び前記素子の前記第2光ファイバとの接触面が凸状である、請求項3に記載の光ファイバ型センサ。
発明の詳細な説明
【技術分野】
【0001】
本発明は、光ファイバ型センサに関する。
続きを表示(約 3,200 文字)
【背景技術】
【0002】
カラーセンタのような蛍光を発する格子欠陥を利用した光検出磁気共鳴(ODMR:Optically Detected Magnetic Resonance)に基づく磁場計測方法が知られている。特にダイヤモンドに形成されるカラーセンタの一種である窒素-空孔複合体(NVセンタ)を用いた磁場計測方法が知られている(非特許文献1)。NVセンタは炭素原子1個が窒素と置換し、その隣が空孔である構造であり、中性電荷状態NV
0
から電子を1個捕獲してNV
-
となると電子が磁気量子数m
s
=-1、0、+1のスピン三重項状態を形成する。NVセンタによる磁場検出の原理は以下の通りである。NV
-
は光励起前のスピン状態に依存して、二つの緩和過程を持つ。m
s
=0状態で、緑色光で励起された電子は、赤色の蛍光を発してm
s
=0状態に緩和する。ここで共鳴周波数(2.87GHz)のマイクロ波を照射すると電子スピン共鳴(ESR:Electron Spin Resonance)によって、m
s
=±1状態への遷移が起きるが、m
s
=±1から光励起された電子の一部は、非放射遷移を経て基底状態に戻るため発光しない。このため、NVセンタに照射するマイクロ波の周波数を掃引すると赤色光強度の低下点で電子スピン共鳴を検出できる。これをODMRという。ここで、m
s
=±1は外部磁場強度に比例してゼーマン分裂するため、赤色光強度の低下点の周波数から外部磁場強度を検出できる。
【先行技術文献】
【非特許文献】
【0003】
Yang Gao, Chaoqun Xu, Kui Huang, Yuting Gao, Nankai Wu, Zhong Yi, “Research and Experiment on the System of Miniaturized Diamond NV Center Ensemble Magnetometer Based on Fiber Coupling”, 2021 IEEE 15th International Conference on Electronic Measurement & Instruments(ICEMI)
【発明の概要】
【発明が解決しようとする課題】
【0004】
非特許文献1の構造は、光ファイバを介してダイヤモンド基板に励起光を入射させる構造であるが、この光ファイバに蛍光も入射させている。このように一つの光ファイバに励起光と蛍光とを伝播させる構造の場合、以下の問題があった。まず、励起光と蛍光とを分離する高価な波長選択性のビームスプリッタ、及び、光源及び光ファイバの端部からの出射光を平行光にするレンズ等の光学系が必要であるため、コストが高くなり、光学系を設置するスペースが必要で小型化も難しい問題があった。さらにダイヤモンド内で蛍光が発光する領域が広いと、光ファイバとの光結合効率が低くなる問題があった。
【0005】
本発明は、上記事情に鑑み、励起光が入射されると蛍光を発する格子欠陥を有する素子に光ファイバを介して励起光を照射する構造でも、低コストで小型化が容易であり、かつ光結合効率を高められる光ファイバ型センサの提供を目的とする。
【課題を解決するための手段】
【0006】
本発明の光ファイバ型センサは、励起光を照射する光源と、前記励起光の光路上に設けられ前記励起光が一端に入射する第1光ファイバと、前記第1光ファイバの他端に接触し、前記第1光ファイバを介して前記励起光が入射されると蛍光を発する格子欠陥を有する素子と、前記蛍光の強度を計測する計測部とを備える光ファイバ型センサであって、前記第1光ファイバと共に前記素子を挟むように前記素子と接触して設けられ、前記蛍光が入射し、入射した前記蛍光を前記計測部に向けて出射する第2光ファイバを備え、前記第1光ファイバは、前記素子と接する前記他端のコア径及び開口数が、前記第2光ファイバの前記素子と接する端部のコア径及び開口数よりも小さい。
【発明の効果】
【0007】
本発明によれば、励起光が入射されると蛍光を発する格子欠陥を有する素子に光ファイバを介して励起光を照射する構造でも、低コストで小型化が容易であり、かつ光結合効率を高められる光ファイバ型センサを提供できる。
【図面の簡単な説明】
【0008】
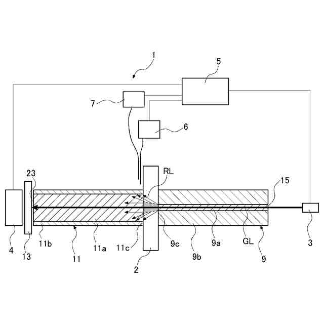
本発明の第1の実施形態に係る光ファイバ型センサの概略を示す図である。
NVセンタを有するダイヤモンド基板の結晶構造を模式的に示す図である。
光ファイバ型センサを用いた磁場強度の計測原理を説明するための図である。
マイクロ波の周波数掃引時の蛍光の強度低下点とマイクロ波の周波数と磁場強度との関係を示すグラフである。
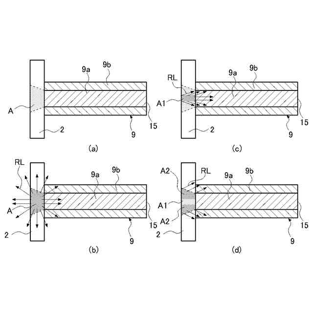
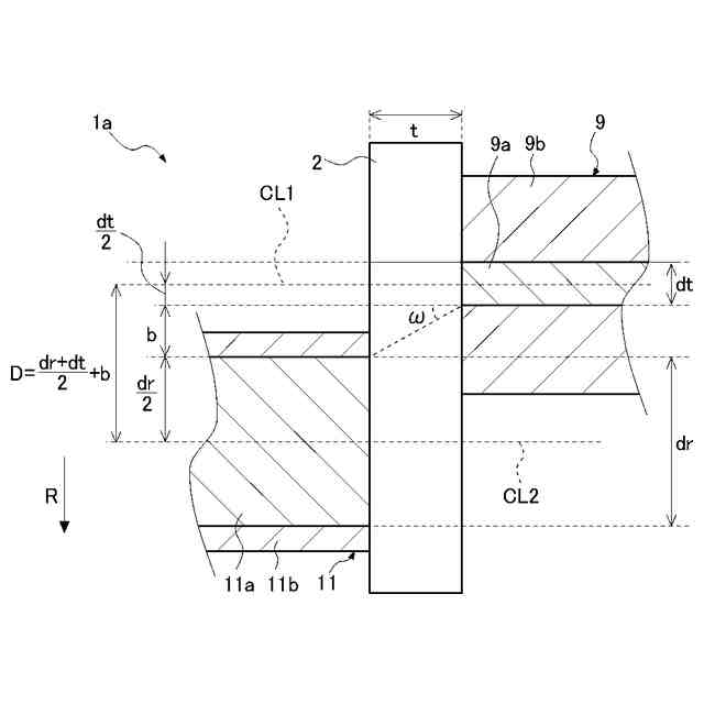
図1において、ダイヤモンド基板と第1光ファイバ及び第2光ファイバとが接触している部分の拡大図である。
従来技術の光ファイバ型センサの概略を示す図である。
図6において、ダイヤモンド基板と第1光ファイバとが接触している部分を示す図である。
本発明の第2の実施形態に係る光ファイバ型センサの概略を示す図である。
図8において、ダイヤモンド基板と第1光ファイバ及び第2光ファイバとが接触している部分の拡大図である。
本発明の第3の実施形態に係る光ファイバ型センサにおいて、ダイヤモンド基板と第1光ファイバ及び第2光ファイバとが接触している部分の拡大図である。
図10において、ダイヤモンド基板と第1光ファイバ及び第2光ファイバとが未接触の状態を示す図である。
従来の光ファイバ型センサにおいて、ダイヤモンド基板と第1光ファイバとが接触している部分の一例を示す図である。
従来の光ファイバ型センサにおいて、ダイヤモンド基板と第1光ファイバとが接触している部分の他の例を示す図である。
本発明の第3の実施形態に係る光ファイバ型センサの変形例を示す図であって、図11に対応した図である。
本発明の第3の実施形態に係る光ファイバ型センサの他の変形例を示す図であって、図11に対応した図である。
【発明を実施するための形態】
【0009】
以下、本発明を好適な実施形態に沿って説明する。なお、本発明は以下に示す実施形態に限られるものではなく、本発明の趣旨を逸脱しない範囲において適宜変更可能である。また、以下に示す実施形態においては、一部構成の図示や説明を省略している箇所があるが、省略された技術の詳細については、以下に説明する内容と矛盾点が発生しない範囲内において、適宜公知又は周知の技術が適用される。
【0010】
まず図1を参照して本発明の第1の実施形態に係る光ファイバ型センサの概略を説明する。図1は、本発明の第1の実施形態に係る光ファイバ型センサ1の概略を示す図である。図1では光ファイバ型センサ1として、周囲の磁場強度を測定するセンサを例示している。図1に示す光ファイバ型センサ1は光源3、第1光ファイバ9、ダイヤモンド基板2(素子)、光検出器4(計測部)、及び第2光ファイバ11を備える。光ファイバ型センサ1は、波長選択フィルタ13、マイクロ波照射器6、磁場発生器7、及び制御部5も備える。
(【0011】以降は省略されています)
この特許をJ-PlatPat(特許庁公式サイト)で参照する
関連特許
矢崎総業株式会社
端子
1か月前
矢崎総業株式会社
端子
今日
矢崎総業株式会社
箱状体
24日前
矢崎総業株式会社
箱状体
24日前
矢崎総業株式会社
箱状体
1か月前
矢崎総業株式会社
箱状体
1か月前
矢崎総業株式会社
箱状体
24日前
矢崎総業株式会社
照明灯
2か月前
矢崎総業株式会社
コネクタ
1か月前
矢崎総業株式会社
コネクタ
1か月前
矢崎総業株式会社
コネクタ
9日前
矢崎総業株式会社
コネクタ
1か月前
矢崎総業株式会社
コネクタ
1か月前
矢崎総業株式会社
コネクタ
1か月前
矢崎総業株式会社
コネクタ
23日前
矢崎総業株式会社
コネクタ
23日前
矢崎総業株式会社
照明構造
1か月前
矢崎総業株式会社
コネクタ
1か月前
矢崎総業株式会社
コネクタ
2か月前
矢崎総業株式会社
止水部材
1か月前
矢崎総業株式会社
コネクタ
1か月前
矢崎総業株式会社
接続構造
24日前
矢崎総業株式会社
コネクタ
1か月前
矢崎総業株式会社
コネクタ
1か月前
矢崎総業株式会社
バスバー
1か月前
矢崎総業株式会社
照明装置
1か月前
矢崎総業株式会社
報知装置
1か月前
矢崎総業株式会社
照明装置
1か月前
矢崎総業株式会社
照明装置
1か月前
矢崎総業株式会社
照明装置
1か月前
矢崎総業株式会社
コネクタ
8日前
矢崎総業株式会社
コネクタ
1か月前
矢崎総業株式会社
コネクタ
8日前
矢崎総業株式会社
コネクタ
2か月前
矢崎総業株式会社
給電装置
1日前
矢崎総業株式会社
コネクタ
2か月前
続きを見る
他の特許を見る