TOP
|
特許
|
意匠
|
商標
特許ウォッチ
Twitter
他の特許を見る
10個以上の画像は省略されています。
公開番号
2025173073
公報種別
公開特許公報(A)
公開日
2025-11-27
出願番号
2024078422
出願日
2024-05-14
発明の名称
建物の健全性モニタリングシステム
出願人
大成建設株式会社
代理人
園田・小林弁理士法人
主分類
G01M
99/00 20110101AFI20251119BHJP(測定;試験)
要約
【課題】加速度センサが設けられていない階層を含む各階層の健全性を高い精度で評価する。
【解決手段】加速度センサ2から加速度波形データを取得する地震情報取得部5と、建物の1次固有振動数と、区間剛性を算出する、区間剛性算出部6と、区間に対して算出された区間剛性と、階層の各々の重量を基に、階層の剛性である階層剛性を計算して設定することで、解析モデルを生成する解析モデル生成部7と、1次固有振動数と、解析モデルに対して固有値解析を実行して算出される1次固有振動数と、の比率が、下限閾値以上かつ上限閾値以下となるまで、解析モデルを更新し、固有値解析を実行することを繰り返す、解析モデル更新部8と、最後の固有値解析の結果と、加速度波形データと、を基に変位波形を算出して、最大変形角を算出する、最大変形角推定部9と、最大変形角を変形角判定閾値と比較して、健全性を評価する構造性能推定部10と、を備えている。
【選択図】図1
特許請求の範囲
【請求項1】
複数の階層を有する建物の、地震発生後における健全性を評価する、建物の健全性モニタリングシステムであって、
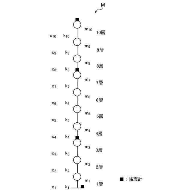
複数の前記階層の中の、複数の観測階層に設けられた加速度センサから、複数の前記観測階層の各々における加速度波形データを取得する地震情報取得部と、
前記加速度波形データを基に、前記建物の1次固有振動数と、複数の前記観測階層の間の区間の各々における剛性である区間剛性を算出する、区間剛性算出部と、
複数の前記階層の各々に対し、当該階層が含まれる前記区間に対して算出された前記区間剛性と、複数の前記階層の各々の重量を基に、当該階層の剛性である階層剛性を計算して設定することで、解析モデルを生成する、解析モデル生成部と、
前記区間剛性算出部において算出された前記1次固有振動数と、前記解析モデルに対して固有値解析を実行して算出される前記1次固有振動数と、の比率である振動数比率が、下限閾値以上かつ上限閾値以下となるまで、前記階層剛性を調整して前記解析モデルを更新し、更新された前記解析モデルに対して前記固有値解析を実行することを繰り返す、解析モデル更新部と、
前記解析モデル更新部において実行された最後の前記固有値解析の結果と、複数の前記観測階層の各々における加速度波形データと、を基に、全ての前記階層に対して、変位波形を算出して、最大変形角を算出する、最大変形角推定部と、
複数の前記階層の各々に対し、前記最大変形角を変形角判定閾値と比較して、前記健全性を評価する構造性能推定部と、
を備えていることを特徴とする建物の健全性モニタリングシステム。
続きを表示(約 930 文字)
【請求項2】
前記解析モデル生成部は、複数の前記階層の各々に対し、
複数の前記階層の各々の前記重量を基に、当該階層の地震層せん断力分布係数を計算して、当該階層における層せん断力を計算し、当該階層における前記層せん断力を、当該階層が含まれる前記区間における前記階層の前記層せん断力の平均で除算して、当該階層における前記層せん断力の分担比率を計算し、
当該階層の階高を、当該階層が含まれる前記区間における前記階高の平均で除算して、当該階層における前記階高の分担比率を計算し、
当該階層が含まれる前記区間に対して算出された前記区間剛性に、当該階層における前記層せん断力の分担比率と、当該階層における前記階高の分担比率と、を乗算する
ことで、当該階層の前記階層剛性を計算する
ことを特徴とする請求項1に記載の建物の健全性モニタリングシステム。
【請求項3】
前記解析モデル生成部は、複数の前記階層の各々に対し、
複数の前記階層の各々の前記重量を基に、当該階層の地震層せん断力分布係数を計算して、当該階層における層せん断力を計算し、
当該階層における前記層せん断力と、当該階層が含まれる前記区間における前記地震層せん断力分布係数の総和と、を乗算して、係数を計算し、
当該階層が含まれる前記区間に対して算出された前記区間剛性に、当該階層の前記係数を乗算することで、当該階層の前記階層剛性を計算する
ことを特徴とする請求項1に記載の建物の健全性モニタリングシステム。
【請求項4】
前記振動数比率は、前記区間剛性算出部において算出された前記1次固有振動数を、前記解析モデルに対して前記固有値解析を実行して算出される前記1次固有振動数によって除算した値であり、
前記解析モデル更新部は、前記振動数比率が前記下限閾値より小さいか、前記上限閾値より大きい場合には、前記解析モデルに設定された前記階層剛性の各々に対して、前記振動数比率を乗算することで、前記階層剛性を調整する
ことを特徴とする請求項1から3のいずれか一項に記載の建物の健全性モニタリングシステム。
発明の詳細な説明
【技術分野】
【0001】
本発明は、地震発生後の建物の健全性を評価する、建物の健全性モニタリングシステムに関する。
続きを表示(約 5,900 文字)
【背景技術】
【0002】
地震発生後に、建物を直接目視しなくとも、建物の被災度合い等の、建物の構造性能すなわち健全性を把握することができる建物の健全性モニタリングシステムが、種々提案されている。
例えば特許文献1には、地震によって構造物に生じる加速度を検出し、検出された加速度に基づいて構造物の層間変形角を計算し、得られた層間変形角に基づいて、構造物の構造性能を診断する構成が開示されている。
【0003】
建物の健全性を正確に評価するには、建物が地震によりどの程度の変形を生じたのかを、より高精度に把握することが望まれる。このために、一つの建物に対し、センサを複数設けることが考えられる。
例えば特許文献2には、建物の観測層に配置され、地震の震度や地震により地盤から建物に印加される振動の加速度を検出するセンサと、センサからの応答情報に基づき、建物の固有周期に対応する必要せん断力係数を求め、建物の健全性の判定を行う健全性判定部と、を備え、その判定結果を示す情報を、ユーザの端末に送信する構成が開示されている。特許文献2においては、センサは、地盤から建物に対して印加される振動の加速度を検出する第1センサと、建物の最上階に設けられた第2センサと、を備えた形態が、開示されている。
また、特許文献3には、建物の下部に設置されて加速度を検出する建物下部センサ、及び緊急地震速報を受信する緊急地震速報受信部を備えた地震検知部と、建物の複数の位置に設けられて、各位置における地震の建物への影響を測定する複数のセンサと、測定結果に基づいて、建物の健全性を推定し評価する健全性推定部と、を備えた、建物の健全性評価システムが開示されている。
【0004】
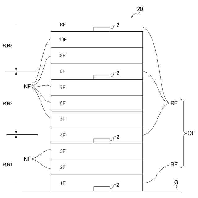
ところで、例えば超高層建物のように、階層の数が多い場合には、全ての階層に加速度センサを設置することは、各階層に加速度センサの設置場所を確保する必要があること、及び加速度センサの総数が多くなり設置コストが嵩むことから、現実的ではない場合がある。したがって、加速度センサは、複数の階層の中の、限定された、複数の観測階層のみに、設けられることがある。
ここで、地震時には、建物の下階層ではなく、中間階層が損傷することもある。このような場合において、上記のように加速度センサを限られた観測階層のみに設けていると、例えば観測階層とは異なる非観測階層で健全性に問題があったとしても、これを正確に評価できない可能性がある。したがって、建物の限られた階層に設けられた加速度センサによる加速度波形データから、加速度センサが設けられていない階層を含む各階層の健全性を高い精度で評価することが、望まれている。
【先行技術文献】
【特許文献】
【0005】
特開2018-59718号公報
特開2016-75583号公報
特許第6995792号公報
【発明の概要】
【発明が解決しようとする課題】
【0006】
本発明が解決しようとする課題は、建物の限られた階層に設けられた加速度センサによる加速度波形データから、加速度センサが設けられていない階層を含む各階層の健全性を高い精度で評価することが可能な、建物の健全性モニタリングシステムを提供することである。
【課題を解決するための手段】
【0007】
本発明は、上記課題を解決するため、以下の手段を採用する。すなわち、本発明は、複数の階層を有する建物の、地震発生後における健全性を評価する、建物の健全性モニタリングシステムであって、複数の前記階層の中の、複数の観測階層に設けられた加速度センサから、複数の前記観測階層の各々における加速度波形データを取得する地震情報取得部と、前記加速度波形データを基に、前記建物の1次固有振動数と、複数の前記観測階層の間の区間の各々における剛性である区間剛性を算出する、区間剛性算出部と、複数の前記階層の各々に対し、当該階層が含まれる前記区間に対して算出された前記区間剛性と、複数の前記階層の各々の重量を基に、当該階層の剛性である階層剛性を計算して設定することで、解析モデルを生成する、解析モデル生成部と、前記区間剛性算出部において算出された前記1次固有振動数と、前記解析モデルに対して固有値解析を実行して算出される前記1次固有振動数と、の比率である振動数比率が、下限閾値以上かつ上限閾値以下となるまで、前記階層剛性を調整して前記解析モデルを更新し、更新された前記解析モデルに対して前記固有値解析を実行することを繰り返す、解析モデル更新部と、前記解析モデル更新部において実行された最後の前記固有値解析の結果と、複数の前記観測階層の各々における加速度波形データと、を基に、全ての前記階層に対して、変位波形を算出して、最大変形角を算出する、最大変形角推定部と、複数の前記階層の各々に対し、前記最大変形角を変形角判定閾値と比較して、前記健全性を評価する構造性能推定部と、を備えている、建物の健全性モニタリングシステムを提供する。
上記のような構成によれば、複数の階層の中の、限定された、複数の観測階層に設けられた加速度センサから、複数の観測階層の各々における加速度波形データを取得し、これを基に、建物の1次固有振動数と、複数の観測階層の間の区間の各々における剛性である区間剛性を算出する。そして、複数の階層の各々に対し、当該階層が含まれる区間に対して算出された区間剛性と、複数の階層の各々の重量を基に、当該階層の剛性である階層剛性を計算して設定することで、解析モデルを生成する。このようにして生成された解析モデルに対し、固有値解析を実行し、区間剛性算出部において算出された1次固有振動数と、解析モデルに対して固有値解析を実行して算出される1次固有振動数と、の比率である振動数比率が、下限閾値以上かつ上限閾値以下となっていない場合には、振動数比率が下限閾値以上かつ上限閾値以下となるまで、階層剛性を調整して解析モデルを更新し、更新された解析モデルに対して固有値解析を実行することを繰り返す。このようにして、加速度センサが観測階層にしか設けられないために、剛性の値は、本来であれば観測階層の間の区間に対する区間剛性としてしか算出されないところ、加速度センサが設けられていない非観測階層を含む複数の階層の各々に対して区間剛性を基にして当該階層の階層剛性を算出して解析モデルを生成し、その後、当該解析モデルに対する固有値解析の結果を基に、階層剛性を調整して解析モデルを更新することが、繰り返される。このようにして最後に更新された解析モデルにおいては、振動数比率が下限閾値以上かつ上限閾値以下となるように各階層の階層剛性が調整された結果、各階層の階層剛性が、実際の建物の剛性に近い値を有したものとなっていると考えられる。そして、最後に更新された解析モデルに対して実行された固有値解析の結果は、換言すれば、階層剛性の調整が終了した解析モデルに対して、最後に実行された固有値解析の結果であるため、当該結果においては、全ての階層において、実際の建物の性状が十分に反映されたものとなっている可能性が高い。このような固有値解析の結果を基に、全ての階層に対して、変位波形を算出し、最大変形角を算出して、健全性を評価するため、加速度センサが設けられていない階層を含む全ての階層の健全性を、高い精度で評価することができる。
このようにして、建物の限られた階層に設けられた加速度センサによる加速度波形データから、加速度センサが設けられていない階層を含む各階層の健全性を高い精度で評価することが可能な、建物の健全性モニタリングシステムを提供することができる。
【0008】
本発明の一態様においては、前記解析モデル生成部は、複数の前記階層の各々に対し、複数の前記階層の各々の前記重量を基に、当該階層の地震層せん断力分布係数を計算して、当該階層における層せん断力を計算し、当該階層における前記層せん断力を、当該階層が含まれる前記区間における前記階層の前記層せん断力の平均で除算して、当該階層における前記層せん断力の分担比率を計算し、当該階層の階高を、当該階層が含まれる前記区間における前記階高の平均で除算して、当該階層における前記階高の分担比率を計算し、当該階層が含まれる前記区間に対して算出された前記区間剛性に、当該階層における前記層せん断力の分担比率と、当該階層における前記階高の分担比率と、を乗算することで、当該階層の前記階層剛性を計算する。
上記のような構成によれば、解析モデル生成部はまず、複数の階層の各々に対し、複数の階層の各々の重量を基に、当該階層の地震層せん断力分布係数を計算して、当該階層における層せん断力を計算し、当該階層における層せん断力を、当該階層が含まれる区間における階層の層せん断力の平均で除算する。これにより、複数の階層の各々に対し、複数の観測階層の間の当該階層が含まれる区間に作用する層せん断力を、当該階層がどの程度分担するかが、当該階層における層せん断力の分担比率として、計算される。
次に、解析モデル生成部は、複数の階層の各々に対し、当該階層の階高を、当該階層が含まれる区間における階高の平均で除算する。これにより、複数の階層の各々に対し、複数の観測階層の間の当該階層が含まれる区間の高さを、当該階層の階高がどの程度分担するかが、当該階層における階高の分担比率として、計算される。
このようにして計算された、各階層の、層せん断力の分担比率と階高の分担比率を乗算した値は、当該階層が、複数の観測階層の間の当該階層が含まれる区間において、剛性をどの程度分担するかを示す、剛性分担率であると考えることができる。この考えに基づき、解析モデル生成部は、複数の階層の各々に対し、当該階層が含まれる区間に対して算出された区間剛性に、当該階層の層せん断力の分担比率と階高の分担比率を乗算した値である剛性分担率を乗算することで、当該階層の階層剛性(の初期値)を、暫定的に、決定することができる。
【0009】
本発明の別の態様においては、前記解析モデル生成部は、複数の前記階層の各々に対し、複数の前記階層の各々の前記重量を基に、当該階層の地震層せん断力分布係数を計算して、当該階層における層せん断力を計算し、当該階層における前記層せん断力と、当該階層が含まれる前記区間における前記地震層せん断力分布係数の総和と、を乗算して、係数を計算し、当該階層が含まれる前記区間に対して算出された前記区間剛性に、当該階層の前記係数を乗算することで、当該階層の前記階層剛性を計算する。
上記のような構成によれば、解析モデル生成部はまず、複数の階層の各々に対し、複数の階層の各々の重量を基に、当該階層の地震層せん断力分布係数を計算して、当該階層における層せん断力を計算し、当該階層における層せん断力と、当該階層が含まれる区間における地震層せん断力分布係数の総和と、を乗算して、係数を計算する。このようにして計算された各階層の係数は、当該階層が、複数の観測階層の間の当該階層が含まれる区間において、剛性をどの程度分担するかが、反映された値を有している。この考えに基づき、解析モデル生成部は、複数の階層の各々に対し、当該階層が含まれる区間に対して算出された区間剛性に、当該階層の係数を乗算することで、当該階層の階層剛性(の初期値)を、暫定的に、決定することができる。
【0010】
本発明の別の態様においては、前記振動数比率は、前記区間剛性算出部において算出された前記1次固有振動数を、前記解析モデルに対して前記固有値解析を実行して算出される前記1次固有振動数によって除算した値であり、前記解析モデル更新部は、前記振動数比率が前記下限閾値より小さいか、前記上限閾値より大きい場合には、前記解析モデルに設定された前記階層剛性の各々に対して、前記振動数比率を乗算することで、前記階層剛性を調整する。
解析モデル生成部において計算された階層剛性は、暫定的な初期値に過ぎず、正確な値とはなっていない可能性がある。したがって、既に説明したように、区間剛性算出部において算出された1次固有振動数と、解析モデルに対して固有値解析を実行して算出される1次固有振動数と、の比率である振動数比率を計算し、振動数比率が、下限閾値以上かつ上限閾値以下となっていない場合には、振動数比率が下限閾値以上かつ上限閾値以下となるまで、階層剛性を調整して解析モデルを更新し、更新された解析モデルに対して固有値解析を実行することを繰り返す。
ここで、上記のような構成によれば、解析モデル更新部は、振動数比率を、区間剛性算出部において算出された1次固有振動数を、解析モデルに対して固有値解析を実行して算出される1次固有振動数によって除算した値として計算する。この振動数比率が、下限閾値より小さいか、上限閾値より大きい場合には、解析モデルに設定されている階層剛性の精度が十分ではなく、その結果として、解析モデルに対して固有値解析を実行して算出される1次固有振動数が、正解値としての、区間剛性算出部において算出された1次固有振動数から乖離していると考えられる。したがって、階層剛性の精度を高めるために、解析モデル更新部は、上記のようにして計算された振動数比率を、解析モデルに設定された階層剛性の各々に対して乗算する。これにより、解析モデルに対して固有値解析を実行して算出される1次固有振動数が、正解値としての1次固有振動数よりも大きい場合には、階層剛性が低減されるように調整され、正解値としての1次固有振動数よりも小さい場合には、階層剛性が増大するように調整される。また、このような階層剛性の調整においては、複数の階層の各々の階層剛性に対して、同一の値、すなわち振動数比率を乗算することで行われるため、階層剛性を調整しても、階層間の階層剛性の分布比率が変更されない。これにより、階層剛性の精度が高くないと考えられる場合において、階層剛性を、適切に調整することができる。
【発明の効果】
(【0011】以降は省略されています)
この特許をJ-PlatPat(特許庁公式サイト)で参照する
関連特許
大成建設株式会社
推定方法
1か月前
大成建設株式会社
送電装置
今日
大成建設株式会社
防振床構造
今日
大成建設株式会社
風洞実験装置
18日前
大成建設株式会社
気体貯蔵放出材料
今日
大成建設株式会社
地盤計測システム
21日前
大成建設株式会社
既存建物の解体方法
1か月前
大成建設株式会社
木材性状推定システム
1か月前
大成建設株式会社
炭酸カルシウムの製造装置
今日
大成建設株式会社
足場装置および足場構築方法
1か月前
大成建設株式会社
木材縦弾性係数推定システム
1か月前
大成建設株式会社
土壌改良剤、及び土壌改良方法
1か月前
大成建設株式会社
仮設鋼床版および床版取替工法
24日前
大成建設株式会社
電力供給装置及び電力供給方法
21日前
大成建設株式会社
免震基礎構造およびその構築方法
1か月前
大成建設株式会社
中和処理システムと中和処理方法
今日
大成建設株式会社
建物の健全性モニタリングシステム
1日前
大成建設株式会社
異種コンクリートの切替り特定方法
1か月前
大成建設株式会社
単杭の極限先端支持力度の評価方法
1か月前
大成建設株式会社
風力発電方法および風力発電システム
8日前
大成建設株式会社
凍結地盤の掘削土の排土装置と排土方法
1か月前
大成建設株式会社
既設トンネルの坑口補強構造と坑口補強方法
1か月前
大成建設株式会社
内空変位計測システム及び内空変位計測方法
1か月前
大成建設株式会社
消音設計支援システム、防振設計支援システム
1か月前
大成建設株式会社
既設トンネルと分岐トンネルの接合構造と接合方法
1か月前
大成建設株式会社
上下の既設トンネルを繋ぐ接合トンネルとその施工方法
1か月前
大成建設株式会社
木質構造部材の補強構造、及び木質構造部材の補強方法
23日前
大成建設株式会社
制振建物
今日
大成建設株式会社
杭基礎構造
今日
大成建設株式会社
インバート変位計測システムおよびインバート変位計測方法
1か月前
大成建設株式会社
RC壁架構
今日
大成建設株式会社
車両用ワイヤレス給電システム及び車両用ワイヤレス給電方法
8日前
大成建設株式会社
積層体部材、構造体、積層体部材を用いて構造体を構築する方法
1か月前
JFEシビル株式会社
トンネル間地盤性状の調査方法及び装置
22日前
大成建設株式会社
半潜水浮体式基礎
1か月前
大成建設株式会社
音源位置決定方法、音源位置決定プログラムおよび音源位置決定装置
8日前
続きを見る
他の特許を見る